TOP
|
特許
|
意匠
|
商標
特許ウォッチ
Twitter
他の特許を見る
10個以上の画像は省略されています。
公開番号
2025144020
公報種別
公開特許公報(A)
公開日
2025-10-02
出願番号
2024043573
出願日
2024-03-19
発明の名称
パネルの固定方法
出願人
大日本印刷株式会社
代理人
弁理士法人WisePlus
主分類
E04B
2/74 20060101AFI20250925BHJP(建築物)
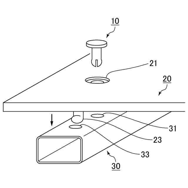
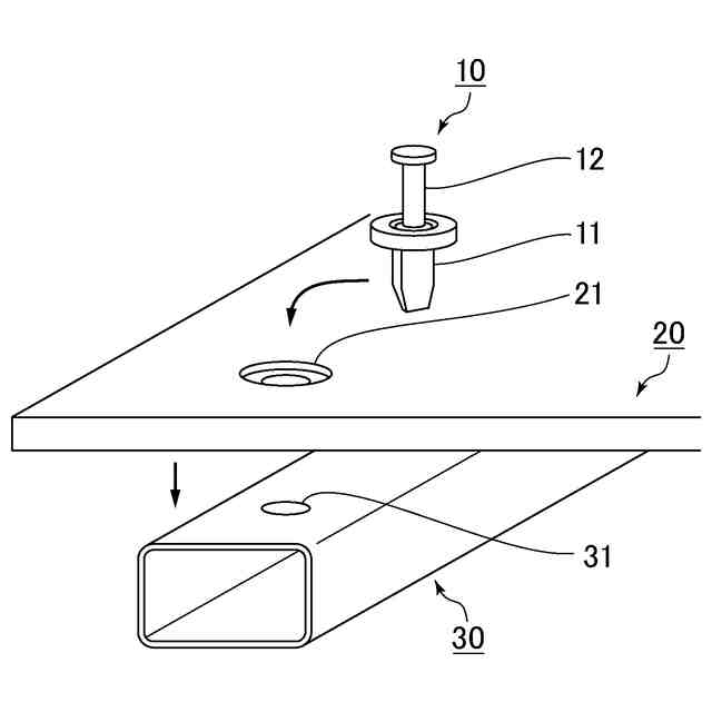
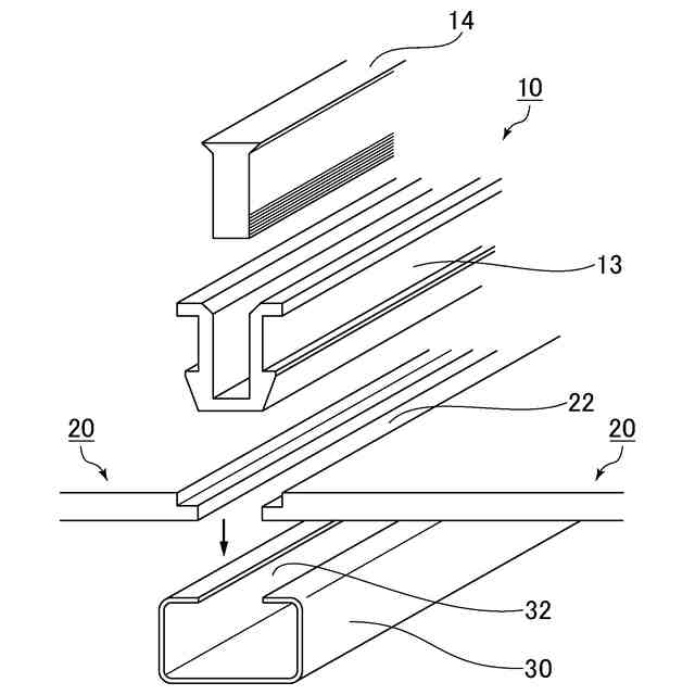
要約
【課題】内装のリフォームに伴う下地部材の劣化や、騒音、粉塵、臭いの問題を抑制し、解体屑を削減する。
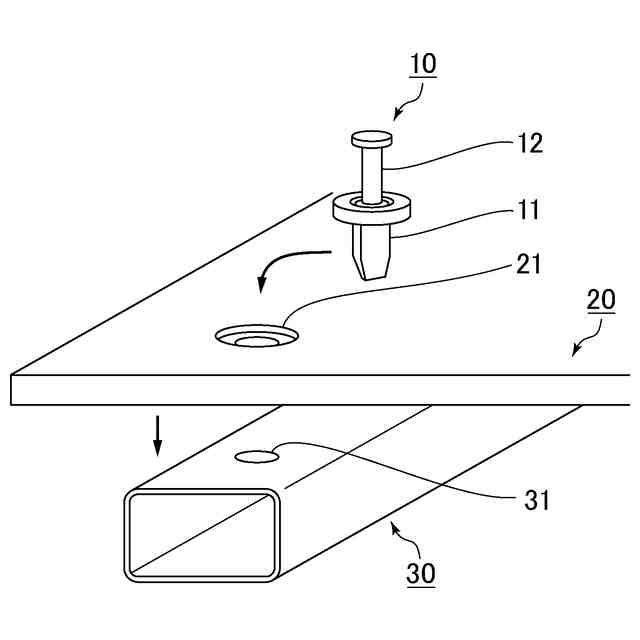
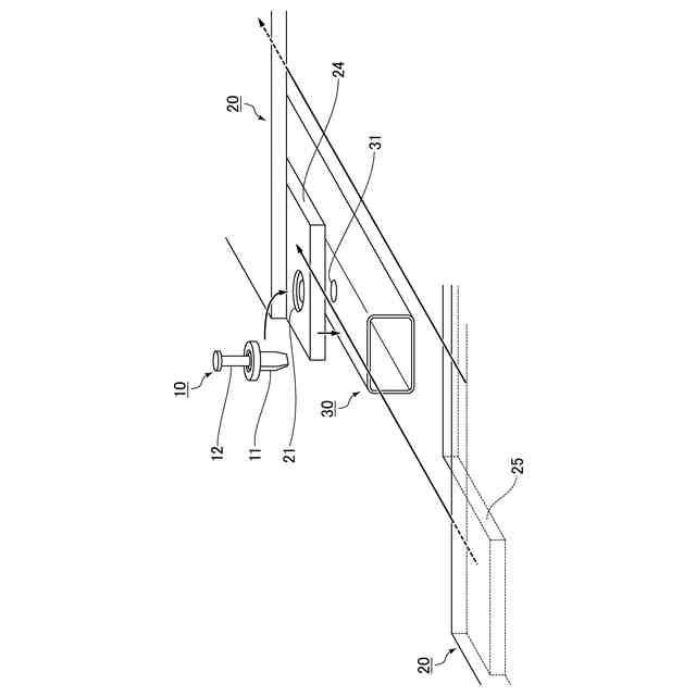
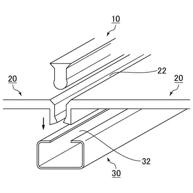
【解決手段】被固定部材に対して嵌め外し可能な固定具を用いてパネルを被固定部材に固定するパネルの固定方法であって、上記パネルは、貫通孔又は溝部を備えており、上記被固定部材は、上記固定具を受容する受容部を備えており、上記パネルの貫通孔又は溝部と、上記被固定部材の受容部との位置を合わせて、上記パネルの貫通孔又は溝部、及び、上記被固定部材の受容部に上記固定具を嵌め込むことにより、又は、前記パネルの貫通孔又は溝部に固定された前記固定具の前記パネルの底面から突出した端部を前記被固定部材の受容部に嵌め込むことにより、上記パネルを上記被固定部材に固定するパネルの固定方法。
【選択図】図1
特許請求の範囲
【請求項1】
被固定部材に対して嵌め外し可能な固定具を用いてパネルを被固定部材に固定するパネルの固定方法であって、
前記パネルは、貫通孔又は溝部を備えており、
前記被固定部材は、前記固定具を受容する受容部を備えており、
前記パネルの貫通孔又は溝部と、前記被固定部材の受容部との位置を合わせて、
前記パネルの貫通孔又は溝部、及び、前記被固定部材の受容部に前記固定具を嵌め込むことにより、又は、前記パネルの貫通孔又は溝部に固定された前記固定具の前記パネルの底面から突出した端部を前記被固定部材の受容部に嵌め込むことにより、前記パネルを前記被固定部材に固定するパネルの固定方法。
続きを表示(約 460 文字)
【請求項2】
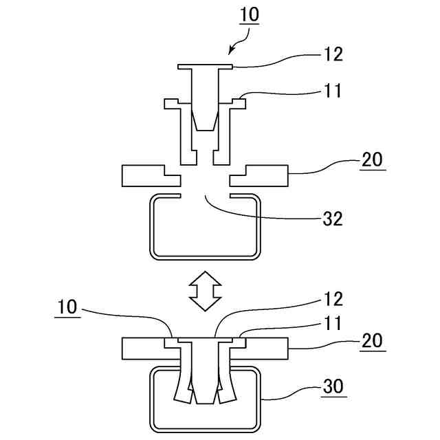
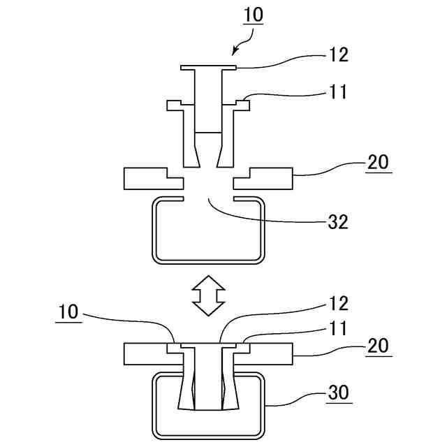
前記固定具は、凹部を有する部品Aと、前記凹部に挿入可能な部品Bとを有する請求項1に記載のパネルの固定方法。
【請求項3】
前記部品Bを、前記部品Aに挿入することにより、前記部品Aの前記被固定部材の受容部に受容された部分が外側に押し広げられて、前記被固定部材に前記パネルが固定される請求項2に記載のパネルの固定方法。
【請求項4】
前記部品Aの前記被固定部材の受容部に受容された部分の幅は、前記被固定部材の受容部の幅よりも大きい請求項3に記載のパネルの固定方法。
【請求項5】
前記パネルの前記被固定部材側となる面に、先端がL字型の突起部を備えており、
前記被固定部材は、前記突起部を嵌め込み可能な嵌め込み部を備えており、
前記突起部が、前記嵌め込み部に嵌め込まれている請求項1に記載のパネルの固定方法。
【請求項6】
前記パネルは、基材と、化粧シートとを備える化粧板である請求項1又は2に記載のパネルの固定方法。
発明の詳細な説明
【技術分野】
【0001】
本開示は、パネルの固定方法に関する。
続きを表示(約 990 文字)
【背景技術】
【0002】
建築物は、自重に対する耐力や地震への耐力等を担う構造部材(躯体)と、内装材等の非構造部材に大別できる。
【0003】
近年、建築基準の変更により設計から竣工まで管理体制が整い、建築物の長寿命化が図られている。
内装材についても同様に、建物の寿命に見合う耐久性を求め、技術開発が盛んに行われ、寿命が延びている。
【0004】
内装材は、日常生活によって表面が傷つけられたり汚れたりすることや、材料自体が劣化することがあり、構造部材(躯体)の寿命と内装材の寿命が異なることがある。
また、家族構成の変化や、そもそもの間取りへの不満等により、内装のリフォームを余儀なくされる事態に進展することがある。
【0005】
従来の建築物では、内装材が構造部材(躯体)に固定されている。
例えば、特許文献1では、床材が、床根太に釘で取り付けられて固定されることが開示されている。
【先行技術文献】
【特許文献】
【0006】
特開2001-049777号公報
【発明の概要】
【発明が解決しようとする課題】
【0007】
従来の建築物の内装(パネル)をリフォームする場合、例えば、下地の石膏ボードから内装パネルを引き剥がした後、新しい内装パネルを貼り替えるといった方法が一般的である。
【0008】
このような場合、下地の石膏ボードから内装パネルを引き剥がすことによって石膏ボード表面に凸凹を生じるため、そのまま貼り替えをすると仕上がりに悪影響が出る。したがって、表面を削ったりパテ埋めしたりして整える必要がある。
【0009】
また、下地の石膏ボードは、貼り替え回数に限界があり、数回程度以上の貼り替え時には石膏ボードの交換が必要となる。石膏ボードの交換には、電動カッター、カケヤ、バール等が用いられ、また、胴縁、間柱にはネジ釘が打ち込まれおり、再利用できてもダメージは残ってしまうといった課題があった。
【0010】
また、内装(パネル)をリフォームする際には、騒音、粉塵、臭いの問題や、解体屑処分の問題が伴ってしまう。
(【0011】以降は省略されています)
この特許をJ-PlatPat(特許庁公式サイト)で参照する
関連特許
大日本印刷株式会社
印刷物
14日前
大日本印刷株式会社
印刷物
14日前
大日本印刷株式会社
除電装置
3日前
大日本印刷株式会社
太陽電池
10日前
大日本印刷株式会社
床用化粧材
17日前
大日本印刷株式会社
積層シート
21日前
大日本印刷株式会社
旅行記作成システム
7日前
大日本印刷株式会社
積層体および包装容器
17日前
大日本印刷株式会社
調光部材及び合わせ板
7日前
大日本印刷株式会社
加飾シート及び樹脂成形品
17日前
大日本印刷株式会社
再配線層及びその製造方法
16日前
大日本印刷株式会社
位相差板、光学部材、及び、表示装置
17日前
大日本印刷株式会社
加飾シート、加飾部材及び表示システム
1日前
大日本印刷株式会社
熱転写シートと中間転写媒体との組合せ
21日前
大日本印刷株式会社
情報処理システム、装着装置及びプログラム
7日前
大日本印刷株式会社
測定システム、測定方法、測定プログラム、物体
15日前
大日本印刷株式会社
加飾シート、外装部材の製造方法および外装部材
21日前
大日本印刷株式会社
化粧シート、化粧材、及び、化粧シートの製造方法
17日前
大日本印刷株式会社
化粧シート、化粧材、及び、化粧シートの製造方法
17日前
大日本印刷株式会社
金属板の測定装置、測定方法、及び金属板の製造方法
7日前
大日本印刷株式会社
合掌ガセット袋および合掌ガセット袋用シート製造方法
1日前
大日本印刷株式会社
仮想空間監視装置、プログラム及び仮想空間監視システム
2日前
大日本印刷株式会社
コンピュータプログラム、情報処理方法及び情報処理装置
3日前
大日本印刷株式会社
動画再生装置、装着装置、動画再生システム及びプログラム
14日前
大日本印刷株式会社
配線基板群、配線基板群の製造方法、及び配線基板の製造方法
3日前
大日本印刷株式会社
積層体及び包装材料
14日前
大日本印刷株式会社
空中入力装置、空中入力表示装置
16日前
大日本印刷株式会社
内容物充填システム及び殺菌方法
1日前
大日本印刷株式会社
発泡性接着シートおよび物品の製造方法
9日前
大日本印刷株式会社
発泡性接着シートおよび物品の製造方法
9日前
大日本印刷株式会社
情報積層体、積層体およびオーバーシート体
3日前
大日本印刷株式会社
固体量子センサモジュールおよびセンサ装置
3日前
大日本印刷株式会社
蒸着フィルム、積層体、包装材料及び包装容器
17日前
大日本印刷株式会社
真贋判定システム、真贋判定方法、真贋判定装置、コンピュータプログラム及び対象媒体撮影方法
8日前
大日本印刷株式会社
ポリエチレン多層基材、印刷基材、積層体及び包装材料
17日前
大日本印刷株式会社
蓄電デバイス用外装材、その製造方法、及び蓄電デバイス
3日前
続きを見る
他の特許を見る