TOP
|
特許
|
意匠
|
商標
特許ウォッチ
Twitter
他の特許を見る
10個以上の画像は省略されています。
公開番号
2025157553
公報種別
公開特許公報(A)
公開日
2025-10-15
出願番号
2025125767,2021087969
出願日
2025-07-28,2021-05-25
発明の名称
空中入力装置、空中入力表示装置
出願人
大日本印刷株式会社
代理人
個人
,
個人
主分類
G06F
3/041 20060101AFI20251007BHJP(計算;計数)
要約
【課題】非接触型の位置検出センサが検出可能な位置を利用者に認識させることができる空中結像装置を既設の表示装置に容易且つ省スペースで設ける。
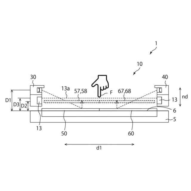
【解決手段】空中入力装置10は、照明部材30と、ホログラムシート50と、位置検出センサ13と、を備える。ホログラムシート50は、照明部材30からの光によって記録されている像58を結像面57に結像する。位置検出センサ13は、結像面57に対応した検出位置13aに感度を有する。照明部材30とホログラムシート50との距離は、前記ホログラムシートが前記照明部材から光を照射される方向を前記ホログラムシートのシート面に投影した方向である第1方向における結像面の長さ以下である。
【選択図】図11
特許請求の範囲
【請求項1】
照明部材と、
前記照明部材からの光によって記録されている像を結像面に結像するホログラムシートと、
前記結像面に対応した検出位置に感度を有する位置検出センサと、
を備え、
前記検出位置は、前記ホログラムシートから離間しており、
前記照明部材と前記ホログラムシートとの距離は、前記ホログラムシートが前記照明部材から光を照射される方向を前記ホログラムシートのシート面に投影した方向である第1方向における前記結像面の長さ以下である、空中入力装置。
発明の詳細な説明
【技術分野】
【0001】
本発明は、空中入力装置及び空中入力装置を有する空中入力表示装置に関する。
続きを表示(約 1,800 文字)
【背景技術】
【0002】
表示装置の表示面に表示されている情報に基づいて、情報を入力する入力装置が知られている。このような入力装置として、例えば、表示面に設けられる接触型の位置検出センサ、いわゆるタッチパネルセンサが知られている。
【0003】
現在、ウイルス等の接触感染を抑制するために、非接触型の位置検出センサが求められている。表示面等に接触することなく位置を検出することができるセンサとして、赤外線センサ等が知られている。非接触型の位置検出センサによれば、指等の物体を検出可能な位置に配置することで、物体が配置された位置を検出することができる。このような非接触型の位置検出センサを表示装置の表示面から離間した位置において物体を検出可能なように配置することで、検出された位置に基づいた情報が入力される。したがって、利用者は、表示面に表示されている情報について、表示面に接触することなく、情報を入力することができる。
【0004】
このような非接触型の位置検出センサを、既設の表示装置に設けることが考えられている。既設の表示装置を利用することで、表示面に表示されている情報に基づいて非接触で情報を入力可能な入力装置を、低コストで実現することができる。ところが、当該装置の利用者は、非接触型の位置検出センサが感度を有する検出位置が不可視であるために、当該検出位置を適切に認識できないことがある。このため、適切に情報を入力することができないことや、意図せずに表示面に接触してしまうことが起こりえる。
【0005】
また、このような非接触型の位置検出センサと合わせて、例えば特許文献1に記載されているような、空中に像を結像する空中結像装置を設けることが考えられている。空中結像装置と非接触型の位置検出センサとの組み合わせにおいて、空中結像装置によって結像される像の位置は、非接触型の位置検出センサが感度を有する位置に対応している。利用者は、空中結像装置によって結像した像を観察することで、非接触型の位置検出センサが感度を有する位置を認識することができる。したがって、表示面に接触することなく、適切に情報を入力することが可能となる。
【先行技術文献】
【特許文献】
【0006】
国際公開第2009/131128号
【発明の概要】
【発明が解決しようとする課題】
【0007】
しかしながら、特許文献1に記載されているような空中結像装置は、結像のための照明部材と光学素子との位置関係や利用者の観察位置等により、光学的な配置に制約がある。このため、このような空中結像装置を既設の表示装置に設けることは困難である。とりわけ、既設の表示装置に空中結像装置を省スペースで設けることは困難である。すなわち、表示面に接触することなく適切に情報を入力することができる装置を、既設の表示装置を利用して低コスト且つ省スペースで実現することが困難である。
【0008】
本発明の目的は、非接触型の位置検出センサが検出可能な位置を利用者に認識させることができる空中結像装置を既設の表示装置に容易且つ省スペースで設けることである。
【課題を解決するための手段】
【0009】
本発明の空中入力装置は、
照明部材と、
前記照明部材からの光によって記録されている像を結像面に結像するホログラムシートと、
前記結像面に対応した検出位置に感度を有する位置検出センサと、を備え、
前記検出位置は、前記ホログラムシートから離間しており、
前記照明部材と前記ホログラムシートとの間の距離は、前記ホログラムシートが前記照明部材から光を照射される方向を前記ホログラムシートのシート面に投影した方向である第1方向における前記結像面の長さ以下である。
【0010】
本発明の空中入力装置は、
第2照明部材と、
前記第2照明部材からの光によって記録されている像を第2結像面に結像する第2ホログラムシートと、をさらに備え、
前記第2照明部材は、前記ホログラムシートに対して前記照明部材とは異なる方向に配置されていてもよい。
(【0011】以降は省略されています)
この特許をJ-PlatPat(特許庁公式サイト)で参照する
関連特許
大日本印刷株式会社
包装材料用積層体および包装材料
3日前
個人
5掛けポイント
1か月前
個人
RFタグシート
1か月前
個人
職業自動販売機
24日前
個人
ペルソナ認証方式
1か月前
個人
情報処理装置
1か月前
個人
自動調理装置
1か月前
個人
立体グラフの利用方法
3日前
個人
農作物用途分配システム
1か月前
個人
サービス情報提供システム
26日前
個人
インターネットの利用構造
1か月前
NISSHA株式会社
入力装置
4日前
個人
タッチパネル操作指代替具
1か月前
個人
学習用データ生成装置
5日前
個人
携帯端末障害問合せシステム
1か月前
個人
スケジュール調整プログラム
1か月前
個人
エリアガイドナビAIシステム
1か月前
キヤノン株式会社
情報処理装置
18日前
キヤノン株式会社
画像認識装置
18日前
キヤノン株式会社
印刷システム
1か月前
キヤノン株式会社
情報処理装置
1か月前
エッグス株式会社
情報処理装置
1か月前
トヨタ自動車株式会社
通知装置
1か月前
キヤノン株式会社
情報処理装置
18日前
株式会社ワコム
電子ペン
1か月前
株式会社ケアコム
項目選択装置
1か月前
株式会社ワコム
電子ペン
1か月前
株式会社ケアコム
項目選択装置
1か月前
キラル株式会社
顧客体験提供システム
6日前
株式会社ITP
仮想展示システム
12日前
太陽誘電株式会社
表示装置
1か月前
株式会社アジラ
行動推定システム
18日前
トヨタ自動車株式会社
車両
1か月前
キヤノン電子株式会社
情報処理システム
3日前
大同大學
スーパーアプリ構築方法
18日前
個人
請求金額算出システム
10日前
続きを見る
他の特許を見る