TOP
|
特許
|
意匠
|
商標
特許ウォッチ
Twitter
他の特許を見る
10個以上の画像は省略されています。
公開番号
2025155806
公報種別
公開特許公報(A)
公開日
2025-10-14
出願番号
2024232426
出願日
2024-12-27
発明の名称
床用化粧材
出願人
大日本印刷株式会社
代理人
弁理士法人WisePlus
主分類
E04F
15/02 20060101AFI20251002BHJP(建築物)
要約
【課題】高荷重な引っ掻き傷にも耐え得る耐傷性を有し、かつ、歩行時の快適性を有する床用化粧材を提供する。
【解決手段】木質基材と、クッション層と、化粧シートとが少なくともこの順に積層され、上記化粧シートは、上記クッション層を備える側にバッカー層を有し、上記クッション層の厚みが、0.5mm以上5mm以下であり、上記化粧シートの厚みが、300μm以上600μm以下であり、上記バッカー層の厚みが、100μm以上350μm以下であり、上記化粧シートを備える側の面にデュロメーター硬度計の圧子を当接させ、JIS K 7215:1986に準拠し測定したデュロメーター硬度の測定値の変化率(以下の式(1)の方法で導出)が2%以上6%以下である床用化粧材。
<com:Image com:imageContentCategory="Drawing"> <com:ImageFormatCategory>JPEG</com:ImageFormatCategory> <com:FileName>2025155806000011.jpg</com:FileName> <com:HeightMeasure com:measureUnitCode="Mm">9</com:HeightMeasure> <com:WidthMeasure com:measureUnitCode="Mm">156</com:WidthMeasure> </com:Image>
【選択図】図1
特許請求の範囲
【請求項1】
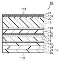
木質基材と、クッション層と、化粧シートとが少なくともこの順に積層され、
前記化粧シートは、前記クッション層を備える側にバッカー層を有し、
前記クッション層の厚みが、0.5mm以上5mm以下であり、
前記化粧シートの厚みが、300μm以上600μm以下であり、
前記バッカー層の厚みが、100μm以上350μm以下であり、
前記化粧シートを備える側の面にデュロメーター硬度計の圧子を当接させ、JIS K 7215:1986に準拠し測定したデュロメーター硬度の測定値の変化率(以下の式(1)の方法で導出)が2%以上6%以下である床用化粧材。
JPEG
2025155806000010.jpg
10
156
(前記式(1)中、0sは、JIS K7215:1986に準拠して測定を行い、前記化粧シートを備える側の面にデュロメーター硬度計の圧子を当節させた状態で当接直後の硬度(0s値)を読み取ったものであり、15sは、JIS K7215:1986に準拠して測定を行い、前記化粧シートを備える側の面にデュロメーター硬度計の圧子を当節させた状態で15秒後の硬度(15s値)を読み取ったものである。)
続きを表示(約 690 文字)
【請求項2】
前記クッション層の厚みが、0.8mm以上3.5mm以下である請求項1に記載の床用化粧材。
【請求項3】
前記クッション層は、難燃剤を含有する請求項1又は2に記載の床用化粧材。
【請求項4】
前記化粧シートの厚みが、300μm以上580μm以下である請求項1又は2に記載の床用化粧材。
【請求項5】
前記化粧シートは、前記バッカー層を備える側と反対側に表面保護層を備える請求項1又は2に記載の床用化粧材。
【請求項6】
前記表面保護層は、2層以上の電離放射線硬化型樹脂層からなり、総厚が10μm以上50μ以下である請求項5に記載の床用化粧材。
【請求項7】
前記2層以上の電離放射線硬化型樹脂層は、それぞれの厚みが5μm以上25μm以下である請求項6に記載の床用化粧材。
【請求項8】
前記2層以上の電離放射線硬化型樹脂層は、前記バッカー層を備える側に対して最も反対側に位置する電離放射線硬化型樹脂層の硬度が最も高い請求項6に記載の床用化粧材。
【請求項9】
前記化粧シートは、前記バッカー層と前記表面保護層との間に透明性樹脂層を備え、前記透明性樹脂層は、前記透明性樹脂層の質量に対して、リン系難燃剤を5質量%以上15質量%以下で含有する請求項5に記載の床用化粧材。
【請求項10】
前記木質基材の前記クッション層を備える側と反対側にコルク層を更に備える請求項1又は2に記載の床用化粧材。
(【請求項11】以降は省略されています)
発明の詳細な説明
【技術分野】
【0001】
本開示は、床用化粧材に関する。
続きを表示(約 1,200 文字)
【背景技術】
【0002】
従来、建築物の床面に施工される床材として、表面に化粧シートが積層された床用化粧材が用いられている。
【0003】
床用化粧材に用いられる化粧シートとしては、耐傷性や歩行時の快適性を付与するため、硬質層と軟質層とを有するバッカー層を備えた化粧シートが提案されている。
【0004】
例えば、特許文献1には、基材シートのおもて面に1又は2以上の層が積層されている化粧シート中間体と、上記基材シートの裏面に合成樹脂製バッカー層とを有する床材用化粧シートであって、上記合成樹脂層製バッカー層は、硬質層と軟質層からなる2層以上で構成され、少なくとも基材シートに接する層は硬質層である、ことを特徴とする床材用化粧シートが開示されている。
【0005】
また、上記軟質層を発泡体に置き換えることで、歩行時の温感性等も踏まえたより快適性を重視した床用化粧材も提案されている。
【0006】
例えば、特許文献2には、木質基材上に、少なくとも発泡樹脂層及び化粧シートがこの順に積層された床用化粧材であって、(1)上記化粧シートは最下層に合成樹脂製バッカー層が積層されており、(2)上記合成樹脂製バッカー層は、JIS K7127に準拠した引張試験により得られた荷重-伸び曲線から求めた上降伏点荷重又は最大点荷重が90N以上であり、且つ、厚みが0.5mm未満であり、(3)上記発泡樹脂層は、JIS K7127に準拠した引張試験により得られた荷重-伸び曲線から求めた0.2%耐力が2N以上であり、上記荷重-伸び曲線において0.2%耐力を示す点での上記発泡樹脂層の伸びが5%以上であり、且つ、発泡倍率が2~20倍である、ことを特徴とする床用化粧材が開示されている。
【先行技術文献】
【特許文献】
【0007】
特開2010-106654号公報
特開2014-189979号公報
【発明の概要】
【発明が解決しようとする課題】
【0008】
近年は、高荷重な引っ掻き傷にも耐え得る耐傷性、かつ、歩行時の快適性を有する床用化粧材が求められている。
【0009】
従来の床用化粧材では、上記課題について更なる改善の余地があった。
【課題を解決するための手段】
【0010】
本発明者らは、鋭意検討したところ、床用化粧材を構成するクッション層(軟質層)、化粧シート、及び、上記化粧シートが備えるバッカー層(硬質層)の厚みを特定の範囲とし、かつ、上記化粧シートを備える側の面のデュロメーター硬度の測定値の変化率を特定の範囲に制御することにより、上記課題を全て解決できることを見出し、本発明を完成させた。
(【0011】以降は省略されています)
この特許をJ-PlatPat(特許庁公式サイト)で参照する
関連特許
大日本印刷株式会社
除電装置
1か月前
大日本印刷株式会社
装飾パネル
9日前
大日本印刷株式会社
プリフォーム
16日前
大日本印刷株式会社
インテリア用品
21日前
大日本印刷株式会社
位置決め搬送装置
1日前
大日本印刷株式会社
旅行記作成システム
1か月前
大日本印刷株式会社
プラスチックボトル
16日前
大日本印刷株式会社
調光部材及び合わせ板
1か月前
大日本印刷株式会社
化粧シート及び化粧材
24日前
大日本印刷株式会社
広告ボード体および脚体
今日
大日本印刷株式会社
加飾シート及び樹脂成形品
8日前
大日本印刷株式会社
処理装置、判断方法及び評価方法
23日前
大日本印刷株式会社
紙印刷物および紙印刷物の製造方法
23日前
大日本印刷株式会社
音響機能付き低反射透明フィルム装置
2日前
大日本印刷株式会社
加飾シート、加飾部材及び表示システム
29日前
大日本印刷株式会社
有機デバイス及び有機デバイスの製造方法
1日前
大日本印刷株式会社
情報処理システム、装着装置及びプログラム
1か月前
大日本印刷株式会社
情報処理装置、情報処理方法、及びプログラム
22日前
大日本印刷株式会社
光学シート、液晶表示装置及び有機EL表示装置
21日前
大日本印刷株式会社
化粧シート、化粧シートの製造方法および化粧材
23日前
大日本印刷株式会社
化粧シート、化粧シートの製造方法および化粧材
16日前
大日本印刷株式会社
化粧シート、化粧シートの製造方法および化粧材
16日前
大日本印刷株式会社
積層体、チューブ容器及びキャップ付きチューブ容器
今日
大日本印刷株式会社
積層体、チューブ容器及びキャップ付きチューブ容器
今日
大日本印刷株式会社
合掌ガセット袋および合掌ガセット袋用シート製造方法
29日前
大日本印刷株式会社
コンピュータプログラム、情報処理方法及び情報処理装置
1か月前
大日本印刷株式会社
転写シート、転写用基材付き樹脂成形品、及び樹脂成形品
8日前
大日本印刷株式会社
仮想空間監視装置、プログラム及び仮想空間監視システム
1か月前
大日本印刷株式会社
加飾シート
14日前
大日本印刷株式会社
物品の製造方法および、発泡性接着シートおよび接着剤組成物
8日前
大日本印刷株式会社
配線基板群、配線基板群の製造方法、及び配線基板の製造方法
1か月前
大日本印刷株式会社
注出口付きパウチ
9日前
大日本印刷株式会社
注出口付きパウチ
9日前
大日本印刷株式会社
半導体パッケージ
2日前
大日本印刷株式会社
プラスチックボトル
16日前
大日本印刷株式会社
蓋体、蓄電デバイス
16日前
続きを見る
他の特許を見る