TOP
|
特許
|
意匠
|
商標
特許ウォッチ
Twitter
他の特許を見る
10個以上の画像は省略されています。
公開番号
2025140227
公報種別
公開特許公報(A)
公開日
2025-09-29
出願番号
2024039457
出願日
2024-03-13
発明の名称
クランプ装置及びウェブ搬送装置
出願人
大日本印刷株式会社
代理人
個人
,
個人
,
個人
主分類
B65H
20/16 20060101AFI20250919BHJP(運搬;包装;貯蔵;薄板状または線条材料の取扱い)
要約
【課題】搬送時にウェブをクランプした際、ウェブにシワが発生することを抑制するクランプ装置及びウェブ搬送装置を提供する。
【解決手段】クランプ装置30は、固定された固定板35と、固定板に対して移動可能であり、固定板との間でウェブを挟持する可動板36と、可動板を固定板に対して移動させる可動板移動機構37と、を備えている。可動板は、ウェブWの幅方向に互いに離間して配置された複数の可動板部分36aを含む。
【選択図】図5
特許請求の範囲
【請求項1】
固定された固定板と、
前記固定板に対して移動可能であり、前記固定板との間でウェブを挟持する可動板と、
前記可動板を前記固定板に対して移動させる可動板移動機構と、を備え、
前記可動板は、前記ウェブの幅方向に互いに離間して配置された複数の可動板部分を含む、クランプ装置。
続きを表示(約 940 文字)
【請求項2】
前記複数の可動板部分は、一体となって前記固定板に対して移動する、請求項1に記載のクランプ装置。
【請求項3】
前記固定板は、前記ウェブの幅方向の全域にわたって互いに分離されることなく一体となった形状を有する、請求項1に記載のクランプ装置。
【請求項4】
前記ウェブに対して前記固定板の反対側に配置された貼受け板と、
前記貼受け板を、前記ウェブに対して接近及び離反する方向に対して移動する貼受け板移動機構と、を更に備えた、請求項1に記載のクランプ装置。
【請求項5】
前記貼受け板は、前記ウェブの幅方向の全域にわたって互いに分離されることなく一体となった形状を有する、請求項4に記載のクランプ装置。
【請求項6】
前記可動板部分は、前記ウェブと接触する接触部を有し、前記接触部は、弾性材料を含む、請求項1に記載のクランプ装置。
【請求項7】
前記ウェブの搬送方向において、前記固定板の長さは、前記可動板の長さよりも長く、
前記ウェブの搬送方向において、前記固定板と貼受け板とが一体化されている、請求項1に記載のクランプ装置。
【請求項8】
前記固定板は、前記ウェブの幅方向に互いに離間して配置された複数の固定板部分を含む、請求項1に記載のクランプ装置。
【請求項9】
原反ロールから繰り出されたウェブを搬送する搬送機構と、
前記ウェブの搬送経路を切り替える切替装置と、
前記搬送経路において前記ウェブを挟持する、請求項1乃至8のいずれか一項に記載のクランプ装置と、を備えた、ウェブ搬送装置。
【請求項10】
前記クランプ装置は、第1搬送経路において前記ウェブを挟持して保持する第1クランプ装置と、第2搬送経路において前記ウェブを挟持して保持する第2クランプ装置と、を含み、
前記切替装置は、前記搬送経路を切り替える際、前記第1クランプ装置及び前記第2クランプ装置を前記ウェブの搬送方向と直交する方向に移動させる、請求項9に記載のウェブ搬送装置。
(【請求項11】以降は省略されています)
発明の詳細な説明
【技術分野】
【0001】
本開示は、クランプ装置及びウェブ搬送装置に関する。
続きを表示(約 990 文字)
【背景技術】
【0002】
原反ロールから繰り出されたウェブを搬送するウェブ搬送装置が知られている。ウェブ搬送装置は、例えば、プラスチックフィルムや金属フィルム等のウェブから不良部分を除去する不良部分除去装置を含む。
【0003】
ウェブ搬送装置において、ウェブを保持する保持機構として、ウェブを吸着して保持する吸着式の保持機構が用いられている。しかしながら、吸着式の保持機構では、コシの強いウェブを平坦化するには機能的に不十分であり、高張力搬送や、反りが生じるウェブ、異なる幅の複数のウェブを同一ラインで搬送するシーンにも適していない。
【0004】
保持機構として、ウェブを挟持して保持するクランプ式の保持機構も存在する。しかしながら、クランプ式の保持機構は、ウェブの搬送時にウェブをクランプした際、ウェブにシワが発生する課題がある。
【先行技術文献】
【特許文献】
【0005】
特開2006-27814号公報
特開2004-244200号公報
特許第3108193号公報
特開平2-95658号公報
【発明の概要】
【発明が解決しようとする課題】
【0006】
本開示は、搬送時にウェブをクランプした際、ウェブにシワが発生することを抑制するクランプ装置及びウェブ搬送装置を提供する。
【課題を解決するための手段】
【0007】
本開示の実施形態は、以下の[1]~[11]に関する。
【0008】
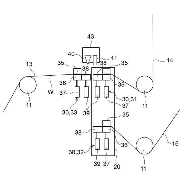
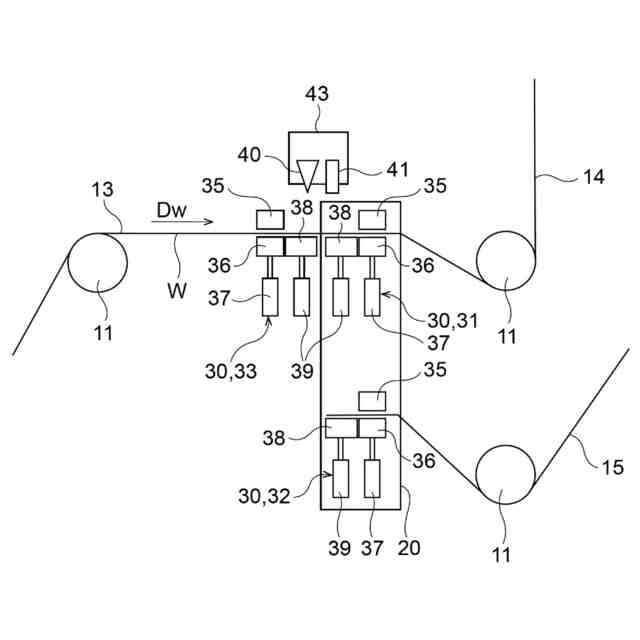
[1]固定された固定板と、前記固定板に対して移動可能であり、前記固定板との間でウェブを挟持する可動板と、前記可動板を前記固定板に対して移動させる可動板移動機構と、を備え、前記可動板は、前記ウェブの幅方向に互いに離間して配置された複数の可動板部分を含む、クランプ装置。
【0009】
[2]前記複数の可動板部分は、一体となって前記固定板に対して移動する、[1]に記載のクランプ装置。
【0010】
[3]前記固定板は、前記ウェブの幅方向の全域にわたって互いに分離されることなく一体となった形状を有する、[1]又は[2]に記載のクランプ装置。
(【0011】以降は省略されています)
この特許をJ-PlatPat(特許庁公式サイト)で参照する
関連特許
大日本印刷株式会社
移動体
23日前
大日本印刷株式会社
床構成体
4日前
大日本印刷株式会社
積層シート
2日前
大日本印刷株式会社
発電モジュール
13日前
大日本印刷株式会社
パネルの固定方法
10日前
大日本印刷株式会社
積層体及び包装容器
11日前
大日本印刷株式会社
積層体および包装容器
13日前
大日本印刷株式会社
積層体および包装容器
2日前
大日本印刷株式会社
積層体および包装容器
13日前
大日本印刷株式会社
積層体および包装容器
13日前
大日本印刷株式会社
積層体および包装容器
13日前
大日本印刷株式会社
情報処理装置及びプログラム
13日前
大日本印刷株式会社
情報処理装置及びプログラム
3日前
大日本印刷株式会社
学習支援装置及びプログラム
4日前
大日本印刷株式会社
クランプ装置及びウェブ搬送装置
13日前
大日本印刷株式会社
ポリエステルフィルム及び積層体
23日前
大日本印刷株式会社
水素センサおよび水素検知システム
3日前
大日本印刷株式会社
ウェブ搬送装置及びウェブ搬送方法
9日前
大日本印刷株式会社
作業装置、作業システム、作業方法
9日前
大日本除蟲菊株式会社
薬剤揮散装置
5日前
大日本印刷株式会社
熱転写シートと中間転写媒体との組合せ
2日前
大日本印刷株式会社
バリア性フィルム、積層体および包装容器
13日前
大日本印刷株式会社
サーバ装置、動画配信方法及びプログラム
13日前
大日本印刷株式会社
バリア性フィルム、積層体および包装容器
13日前
大日本印刷株式会社
バリア性フィルム、積層体および包装容器
13日前
大日本印刷株式会社
情報処理装置、情報処理方法及びプログラム
3日前
大日本印刷株式会社
転写シート、成形品の製造方法および成形品
9日前
大日本印刷株式会社
情報処理装置、情報処理方法及びプログラム
3日前
大日本印刷株式会社
プログラム、情報処理方法、及び情報処理装置
5日前
大日本印刷株式会社
加飾積層体、転写シート、加飾部材、及び移動体
2日前
大日本印刷株式会社
加飾シート、外装部材の製造方法および外装部材
2日前
大日本印刷株式会社
ボビン、熱転写シートリボン及び熱転写印画装置
13日前
大日本印刷株式会社
化粧シート、化粧シートの製造方法および化粧部材
5日前
大日本印刷株式会社
熱転写シートの洗浄方法およびリサイクル原料の製造方法
2日前
大日本印刷株式会社
熱転写シートの洗浄方法およびリサイクル原料の製造方法
2日前
大日本印刷株式会社
デュアルインターフェースICカードおよびICモジュール
5日前
続きを見る
他の特許を見る