TOP
|
特許
|
意匠
|
商標
特許ウォッチ
Twitter
他の特許を見る
公開番号
2025179143
公報種別
公開特許公報(A)
公開日
2025-12-09
出願番号
2025145557,2025540023
出願日
2025-09-02,2025-04-08
発明の名称
蓄電デバイス用外装材、その製造方法、及び蓄電デバイス
出願人
大日本印刷株式会社
代理人
個人
,
個人
主分類
H01M
50/131 20210101AFI20251202BHJP(基本的電気素子)
要約
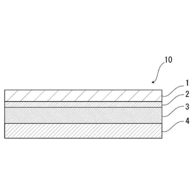
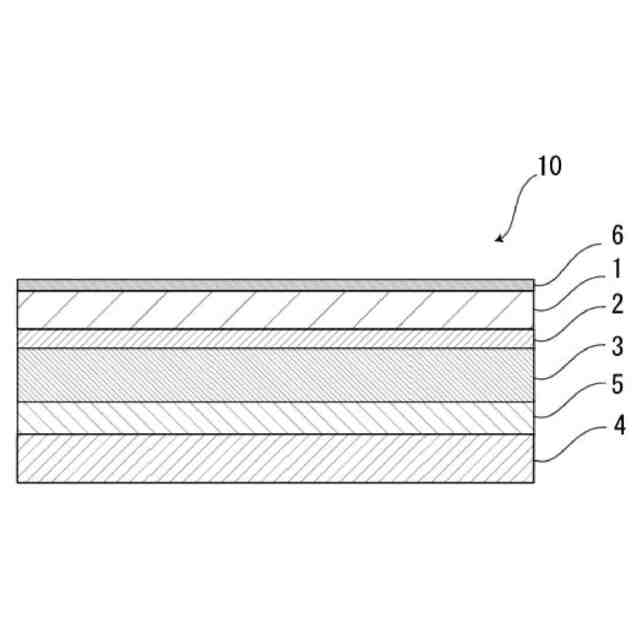
【課題】少なくとも、基材層、バリア層、及び熱融着性樹脂層を備える積層体から構成された蓄電デバイス用外装材であって、優れた成形性を備える蓄電デバイス用外装材を提供する。
【解決手段】外側から順に、少なくとも、基材層、バリア層、及び熱融着性樹脂層を備える積層体から構成されており、前記基材層は、ポリアミド樹脂層を含み、前記ポリアミド樹脂層は、数平均分子量(Mn)が14,500以上16,000以下であり、かつ、分散度(Mw/Mn)が3.6以下である、蓄電デバイス用外装材。
【選択図】図1
特許請求の範囲
【請求項1】
外側から順に、少なくとも、基材層、バリア層、及び熱融着性樹脂層を備える積層体から構成されており、
前記基材層は、ポリアミド樹脂層を含み、
前記ポリアミド樹脂層は、数平均分子量(Mn)が14,500以上16,000以下であり、かつ、分散度(Mw/Mn)が3.6以下である、蓄電デバイス用外装材。
発明の詳細な説明
【技術分野】
【0001】
本開示は、蓄電デバイス用外装材、その製造方法、及び蓄電デバイスに関する。
続きを表示(約 1,100 文字)
【背景技術】
【0002】
従来、様々なタイプの蓄電デバイスが開発されているが、あらゆる蓄電デバイスにおいて、電極や電解質などの蓄電デバイス素子を封止するために外装材が不可欠な部材になっている。従来、蓄電デバイス用外装材として金属製の外装材が多用されていた。
【0003】
一方、近年、電気自動車、ハイブリッド電気自動車、パソコン、カメラ、携帯電話などの高性能化に伴い、蓄電デバイスには、多様な形状が要求されると共に、薄型化や軽量化が求められている。しかしながら、従来多用されていた金属製の蓄電デバイス用外装材では、形状の多様化に追従することが困難であり、しかも軽量化にも限界があるという欠点がある。
【0004】
そこで、近年、多様な形状に加工が容易で、薄型化や軽量化を実現し得る蓄電デバイス用外装材として、基材層/バリア層/熱融着性樹脂層が順次積層されたフィルム状の積層体が提案されている(例えば、特許文献1を参照)。
【0005】
このような蓄電デバイス用外装材においては、一般的に、冷間成形により凹部が形成され、当該凹部によって形成された空間に電極や電解液などの蓄電デバイス素子を配し、熱融着性樹脂層を熱融着させることにより、蓄電デバイス用外装材の内部に蓄電デバイス素子が収容された蓄電デバイスが得られる。
【先行技術文献】
【特許文献】
【0006】
特開2008-287971号公報
【発明の概要】
【発明が解決しようとする課題】
【0007】
前記の通り、蓄電デバイス用外装材が蓄電デバイスに使用される際には、蓄電デバイス用外装材を冷間成形して、蓄電デバイス素子を収容するための凹部を形成することから、蓄電デバイス用外装材には優れた成形性が要求される。
【0008】
蓄電デバイス用外装材の成形性を高める手段として、基材層にポリアミドを使用する方法が挙げられる。ポリアミドは、ポリエステルなどと比較すると成形性に優れているという特徴を備えている。
【0009】
近年、例えば車載用のリチウムイオン電池に使用される蓄電デバイス用外装材には、電池の高容量化の観点から、より一層優れた成形性が求められている。
【0010】
本開示の発明者らが検討した結果、ポリアミドを基材層に使用した従来の蓄電デバイス用外装材では、このような高度な要求には、十分に応えることができないという新たな課題を見出した。
(【0011】以降は省略されています)
この特許をJ-PlatPat(特許庁公式サイト)で参照する
関連特許
大日本印刷株式会社
太陽電池
1か月前
大日本印刷株式会社
除電装置
1か月前
大日本印刷株式会社
装飾パネル
21日前
大日本印刷株式会社
プリフォーム
28日前
大日本印刷株式会社
インテリア用品
1か月前
大日本印刷株式会社
位置決め搬送装置
13日前
大日本印刷株式会社
プラスチックボトル
28日前
大日本印刷株式会社
旅行記作成システム
1か月前
大日本印刷株式会社
化粧シート及び化粧材
1か月前
大日本印刷株式会社
調光部材及び合わせ板
1か月前
大日本印刷株式会社
広告ボード体および脚体
12日前
大日本印刷株式会社
加飾シート及び樹脂成形品
20日前
大日本印刷株式会社
処理装置、判断方法及び評価方法
1か月前
大日本印刷株式会社
紙印刷物および紙印刷物の製造方法
1か月前
大日本印刷株式会社
マスク及び有機デバイスの製造方法
5日前
大日本印刷株式会社
カードおよびカードの真偽判定方法
1日前
大日本印刷株式会社
マスク及び有機デバイスの製造方法
5日前
大日本印刷株式会社
音響機能付き低反射透明フィルム装置
14日前
大日本印刷株式会社
光学素子及び前記光学素子を含む装置
6日前
大日本印刷株式会社
加飾シート、加飾部材及び表示システム
1か月前
大日本印刷株式会社
有機デバイス及び有機デバイスの製造方法
13日前
大日本印刷株式会社
マスク、蒸着方法及びデバイスの製造方法
5日前
大日本印刷株式会社
内容物充填システムおよび内容物充填方法
6日前
大日本印刷株式会社
情報処理システム、装着装置及びプログラム
1か月前
大日本印刷株式会社
情報処理装置、情報処理方法、及びプログラム
1か月前
大日本印刷株式会社
マスク、マスク装置及びマスク装置の製造方法
5日前
大日本印刷株式会社
加飾部材の補修方法、加飾シート及び加飾部材
7日前
大日本印刷株式会社
光学シート、液晶表示装置及び有機EL表示装置
1か月前
大日本印刷株式会社
化粧シート、化粧シートの製造方法および化粧材
1か月前
大日本印刷株式会社
化粧シート、化粧シートの製造方法および化粧材
28日前
大日本印刷株式会社
化粧シート、化粧シートの製造方法および化粧材
28日前
大日本印刷株式会社
積層体、チューブ容器及びキャップ付きチューブ容器
12日前
大日本印刷株式会社
積層体、チューブ容器及びキャップ付きチューブ容器
12日前
大日本印刷株式会社
金属板の測定装置、測定方法、及び金属板の製造方法
1か月前
大日本印刷株式会社
合掌ガセット袋および合掌ガセット袋用シート製造方法
1か月前
大日本印刷株式会社
仮想空間監視装置、プログラム及び仮想空間監視システム
1か月前
続きを見る
他の特許を見る