TOP
|
特許
|
意匠
|
商標
特許ウォッチ
Twitter
他の特許を見る
10個以上の画像は省略されています。
公開番号
2025177943
公報種別
公開特許公報(A)
公開日
2025-12-05
出願番号
2024085114
出願日
2024-05-24
発明の名称
マスク、マスク装置及びマスク装置の製造方法
出願人
大日本印刷株式会社
代理人
個人
,
個人
,
個人
主分類
C23C
14/04 20060101AFI20251128BHJP(金属質材料への被覆;金属質材料による材料への被覆;化学的表面処理;金属質材料の拡散処理;真空蒸着,スパッタリング,イオン注入法,または化学蒸着による被覆一般;金属質材料の防食または鉱皮の抑制一般)
要約
【課題】マスク層の位置精度を高めることができる蒸着用マスクを提供する。
【解決手段】マスクは、第1面301と、第1面の反対側に位置する第2面302と、第1面から第2面へ貫通する複数の第1開口31と、を含む基材と、第2面に対向する第3面と、第3面の反対側に位置する第4面と、を含むマスク層と、を備えてもよい。基材は、シリコン又はシリコン化合物を含んでもよい。マスク層は、平面視において第1開口に重なり、第3面から第4面へ貫通する複数の第2開口41を含んでもよい。基材は、平面視において複数の第1開口の間に位置する内側領域36と、基材の外縁に沿って広がり、平面視において複数の第1開口及び内側領域を囲む外側領域35と、を含んでもよい。外側領域の第1面は、少なくとも1つの第1突起37を含んでもよい。
【選択図】図6
特許請求の範囲
【請求項1】
マスクであって、
第1面と、前記第1面の反対側に位置する第2面と、前記第1面から前記第2面へ貫通する複数の第1開口と、を含む基材と、
前記第2面に対向する第3面と、前記第3面の反対側に位置する第4面と、を含むマスク層と、を備え、
前記基材は、シリコン又はシリコン化合物を含み、
前記マスク層は、平面視において前記第1開口に重なり、前記第3面から前記第4面へ貫通する複数の第2開口を含み、
前記基材は、平面視において前記複数の第1開口の間に位置する内側領域と、前記基材の外縁に沿って広がり、平面視において前記複数の第1開口及び前記内側領域を囲む外側領域と、を含み、
前記外側領域の前記第1面は、少なくとも1つの第1突起を含む、マスク。
続きを表示(約 800 文字)
【請求項2】
前記外側領域の前記第1面は、第1内縁及び第1外縁を含み、
前記第1突起は、前記第1内縁と前記第1外縁の間に位置する、請求項1に記載のマスク。
【請求項3】
前記外側領域の前記第1面は、第1内縁及び第1外縁を含み、
前記第1突起は、前記第1内縁に位置する、請求項1に記載のマスク。
【請求項4】
前記第1外縁及び前記第1突起に接する仮想的な直線が、前記外側領域の前記第1面に対して成す角度が、0.01°以上1.00°以下である、請求項2又は3に記載のマスク。
【請求項5】
前記外側領域の前記第1面は、第1内縁及び第1外縁を含み、
前記第1突起は、前記第1外縁に位置する、請求項1に記載のマスク。
【請求項6】
前記第1内縁及び前記第1突起に接する仮想的な直線が、前記外側領域の前記第1面に対して成す角度が、0.01°以上1.00°以下である、請求項2又は5に記載のマスク。
【請求項7】
前記外側領域の前記第1面は、第2突起を含み、
前記第2突起から前記基材の中心点までの距離は、前記第1突起から前記中心点までの距離と異なる、請求項1に記載のマスク。
【請求項8】
前記第1突起は、第1高さを有し、
前記第2突起は、前記第1高さよりも小さい第2高さを有する、請求項7に記載のマスク。
【請求項9】
前記第1突起及び前記第2突起に接する仮想的な直線が、前記外側領域の前記第1面に対して成す角度が、0.01°以上1.00°以下である、請求項8に記載のマスク。
【請求項10】
前記第1突起は、平面視において前記基材の中心点を囲うよう連続的に延びている、請求項1に記載のマスク。
(【請求項11】以降は省略されています)
発明の詳細な説明
【技術分野】
【0001】
本開示の実施形態は、マスク、マスク装置及びマスク装置の製造方法に関する。
続きを表示(約 2,200 文字)
【背景技術】
【0002】
精密なパターンを形成するための方法として、蒸着法が知られている。蒸着法においては、複数の開口が形成されたマスクが基板に組み合わされる。続いて、マスクの開口を介して蒸着材料が基板に付着される。これにより、マスクの開口のパターンに対応したパターンで、蒸着材料を含む蒸着層が基板上に形成される。蒸着法は、例えば、有機EL表示装置の画素を形成する方法として用いられている。
【0003】
例えば特許文献1は、シリコンを含む基材と、複数の開口が形成されたマスク層と、を備える蒸着マスクを開示している。シリコンを含む基材とマスク層とが組み合わされているので、マスク層の貫通孔の形状精度及び位置精度が高められる。
【先行技術文献】
【特許文献】
【0004】
国際公開2023/145951号
【発明の概要】
【発明が解決しようとする課題】
【0005】
基材に撓みなどの変形が生じると、マスク層の複数の開口の位置が全体的に理想的な位置からずれる。
【課題を解決するための手段】
【0006】
本開示の一実施形態によるマスクは、第1面と、前記第1面の反対側に位置する第2面と、前記第1面から前記第2面へ貫通する複数の第1開口と、を含む基材と、前記第2面に対向する第3面と、前記第3面の反対側に位置する第4面と、を含むマスク層と、を備えてもよい。前記基材は、シリコン又はシリコン化合物を含んでもよい。前記マスク層は、平面視において前記第1開口に重なり、前記第3面から前記第4面へ貫通する複数の第2開口を含んでもよい。前記基材は、平面視において前記複数の第1開口の間に位置する内側領域と、前記基材の外縁に沿って広がり、平面視において前記複数の第1開口及び前記内側領域を囲む外側領域と、を含んでもよい。前記外側領域の前記第1面は、少なくとも1つの第1突起を含んでもよい。
【発明の効果】
【0007】
本開示の実施形態によれば、マスク層の位置精度を高めることができる。
【図面の簡単な説明】
【0008】
有機デバイスの一例を示す断面図である。
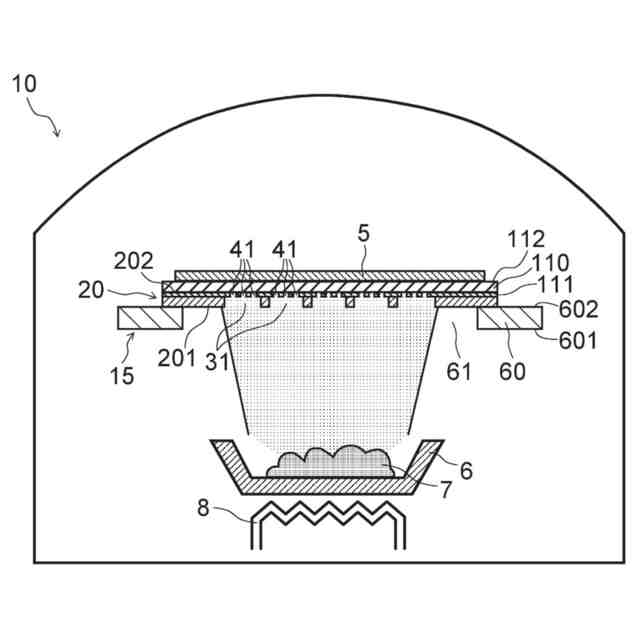
マスク装置を備えた蒸着装置の一例を示す図である。
入射面の側から見た場合のマスク装置の一例を示す平面図である。
出射面の側から見た場合のマスク装置の一例を示す平面図である。
図3のマスクのV-V線に沿った断面図である。
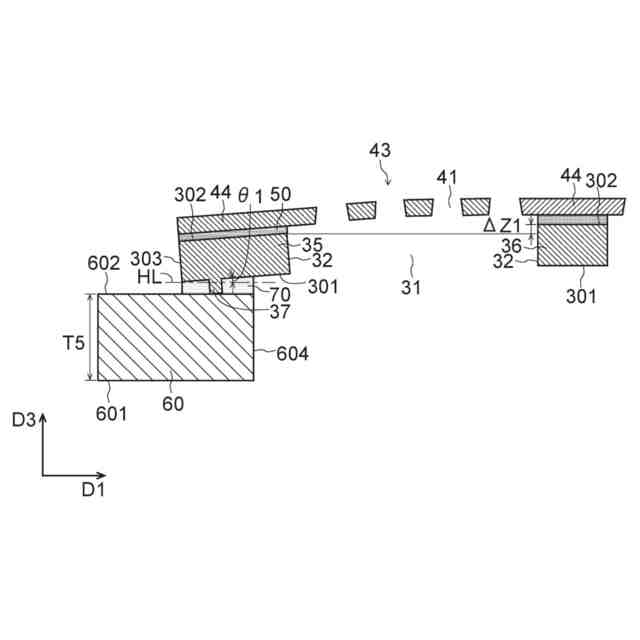
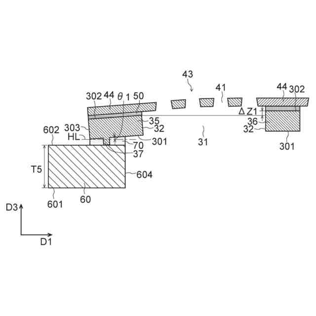
基材の外側領域及び第1フレームの一例を示す断面図である。
基材の外側領域の一例を示す断面図である。
入射面の側から見た場合のマスクの一例を示す平面図である。
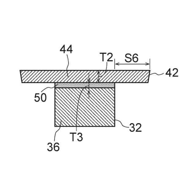
基材の内側領域及びマスク層の一例を示す断面図である。
マスク層の第2領域の一例を示す断面図である。
中間層を形成する工程の一例を示す断面図である。
第1レジスト層を形成する工程の一例を示す断面図である。
マスク層を形成する工程の一例を示す断面図である。
保護層及び第2レジスト層を形成する工程の一例を示す断面図である。
基材を加工する工程の一例を示す断面図である。
第3レジスト層を形成する工程の一例を示す断面図である。
基材を加工する工程の一例を示す断面図である。
中間層の一部を除去する工程の一例を示す断面図である。
第3レジスト層及び保護層を除去する工程の一例を示す断面図である。
マスクの厚み方向における位置を測定する工程の一例を示す断面図である。
基材の角度を調整する工程の一例を示す断面図である。
マスクを第1フレームに固定する工程を示す断面図である。
第2フレームの一例を示す平面図である。
基材の角度を調整する工程の一例を示す断面図である。
第2フレームの一例を示す平面図である。
入射面の側から見た場合のマスクの一例を示す平面図である。
基材の外側領域の一例を示す断面図である。
基材の外側領域及び第1フレームの一例を示す断面図である。
基材の外側領域の一例を示す断面図である。
基材の外側領域の一例を示す断面図である。
基材の外側領域及び第1フレームの一例を示す断面図である。
基材の外側領域の一例を示す断面図である。
基材の外側領域の一例を示す断面図である。
基材の外側領域の一例を示す断面図である。
マスク装置の一例を示す断面図である。
【発明を実施するための形態】
【0009】
本明細書および本図面において、特別な説明が無い限りは、「基板」、「シート」、「フィルム」などの、ある構成の基礎となる物質を意味する用語は、呼称の違いのみに基づいて、互いから区別されるものではない。
【0010】
本明細書および本図面において、特別な説明が無い限りは、形状や幾何学的条件並びにそれらの程度を特定する、例えば、「平行」や「直交」等の用語や長さや角度の値等については、厳密な意味に縛られることなく、同様の機能を期待してもよい程度の範囲を含めて解釈する。
(【0011】以降は省略されています)
この特許をJ-PlatPat(特許庁公式サイト)で参照する
関連特許
個人
フッ素樹脂塗装鋼板の保管方法
4か月前
株式会社カネカ
製膜装置
2か月前
株式会社カネカ
製膜装置
2か月前
株式会社京都マテリアルズ
めっき部材
2か月前
トヨタ自動車株式会社
治具
1か月前
株式会社KSマテリアル
防錆組成物
4か月前
株式会社三愛工業所
アルミニウム材
6か月前
日本化学産業株式会社
複合めっき皮膜
4か月前
エドワーズ株式会社
真空排気システム
1か月前
台灣晶技股ふん有限公司
無電解めっき法
3か月前
日東電工株式会社
積層体の製造方法
6か月前
東京エレクトロン株式会社
成膜方法
2か月前
JFEスチール株式会社
鋼部品
4か月前
株式会社カネカ
気化装置及び製膜装置
1か月前
信越半導体株式会社
真空蒸着方法
6か月前
住友重機械工業株式会社
成膜装置
6か月前
東京エレクトロン株式会社
基板処理装置
6か月前
住友重機械工業株式会社
成膜装置
5か月前
株式会社アルバック
マスクユニット
1か月前
株式会社内村
防食具、防食具の設置方法
2か月前
TOTO株式会社
構造部材
1か月前
株式会社アルバック
基板ステージ装置
2か月前
黒崎播磨株式会社
溶射装置
2か月前
日本コーティングセンター株式会社
炭化ホウ素被膜
1か月前
国立大学法人千葉大学
成膜装置及び成膜方法
3か月前
株式会社デンソー
接合体
2か月前
フジタ技研株式会社
被覆部材、及び、表面被覆金型
2か月前
ケニックス株式会社
蒸発源装置
3か月前
川崎重工業株式会社
水素遮蔽膜
3か月前
黒崎播磨株式会社
溶射用ランス
6か月前
信越化学工業株式会社
炭化金属被覆材料
17日前
株式会社アルバック
成膜装置、および搬送方法
4か月前
学校法人静岡理工科大学
放電被覆装置及び放電被覆方法
3か月前
株式会社神戸製鋼所
成膜方法
4か月前
東京エレクトロン株式会社
成膜方法及び成膜装置
2か月前
株式会社アルバック
真空蒸着装置、真空蒸着方法
4か月前
続きを見る
他の特許を見る