TOP
|
特許
|
意匠
|
商標
特許ウォッチ
Twitter
他の特許を見る
公開番号
2025177978
公報種別
公開特許公報(A)
公開日
2025-12-05
出願番号
2024085167
出願日
2024-05-24
発明の名称
固定具、位置検出方法及びロボットシステム
出願人
独立行政法人国立高等専門学校機構
,
大日本印刷株式会社
代理人
個人
,
個人
主分類
G01B
11/00 20060101AFI20251128BHJP(測定;試験)
要約
【課題】対象物の位置や大きさを簡易に認識する新たな技術を提供する。
【解決手段】固定具は、位置の認識の対象となる対象物に固定する固定具であって、対象物に装着されるバンド14と、バンドと一体化されているマーカ16と、を備える。マーカ16は、画像としてカメラで検出可能な模様17が形成されている。模様17は、画像に基づいてマーカの位置が算出できるように構成されている。バンド14は、画像としてカメラで検出可能な、対象物の一部を半周以上に渡って囲む識別領域14aを有する。識別領域14aは、画像に基づいてバンドが装着された対象物の一部の大きさを算出できるように構成されている。
【選択図】図1
特許請求の範囲
【請求項1】
位置の認識の対象となる対象物に固定する固定具であって、
対象物に装着されるバンドと、
前記バンドと一体化されているマーカと、を備え、
前記マーカは、画像としてカメラで検出可能な模様が形成されており、
前記模様は、前記画像に基づいてマーカの位置が算出できるように構成されており、
前記バンドは、画像としてカメラで検出可能な、対象物の一部を半周以上に渡って囲む識別領域を有し、
前記識別領域は、前記画像に基づいてバンドが装着された前記対象物の一部の大きさを算出できるように構成されていることを特徴とする固定具。
続きを表示(約 910 文字)
【請求項2】
前記バンドは、前記対象物として円筒部を有する透明な器具に装着され、
前記識別領域は、前記円筒部の直径を算出できるように設けられていることを特徴とする請求項1に記載の固定具。
【請求項3】
前記バンドは、前記対象物の外表面に沿って変形する弾性部材又は可撓性部材であることを特徴とする請求項1又は2に記載の固定具。
【請求項4】
前記識別領域は、カメラで検出可能な帯状の領域であることを特徴とする請求項1又は2に記載の固定具
【請求項5】
前記模様は、前記画像に基づいてマーカの姿勢が算出できるように構成されていることを特徴とする請求項1又は2に記載の固定具。
【請求項6】
請求項1又は2に記載の固定具が装着された対象物を載置し、
載置された前記対象物をカメラで撮像し、
撮像された画像に含まれる前記模様から前記マーカの位置を算出し、
撮像された画像に含まれる前記識別領域から前記対象物の一部の直径を算出する、
ことを特徴とする位置検出方法。
【請求項7】
前記バンドは、前記対象物の円筒部の開口から所定の距離だけ下方に装着されていることを特徴とする請求項6に記載の位置検出方法。
【請求項8】
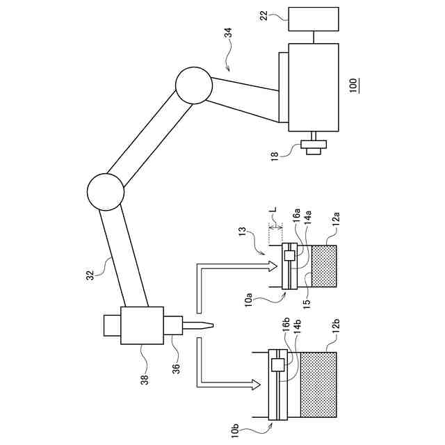
請求項1又は2に記載の固定具が装着された対象物を撮像するカメラと、
前記対象物に対して任意の位置にアームを移動する移動機構と、
撮像された画像に含まれる前記模様から前記マーカの位置を算出し、撮像された画像に含まれる前記識別領域から前記対象物の一部の直径を算出する演算部と、
算出された前記対象物の位置及び直径の情報から前記アームが所定の位置に移動するように前記移動機構を制御する制御部と、
を備えるロボットシステム。
【請求項9】
前記対象物は、上部が開口した円筒の実験器具であり、
前記アームは、前記実験器具に所定量の液体を供給するピペットを装着する装着部を有することを特徴とする請求項8に記載のロボットシステム。
発明の詳細な説明
【技術分野】
【0001】
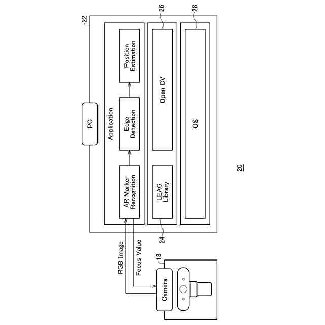
本発明は、対象物の位置や大きさを簡易に認識する技術に関する。
続きを表示(約 1,400 文字)
【背景技術】
【0002】
従来、カメラで撮像された対象物の画像に基づいて対象物の位置や姿勢を求め、ロボットアーム先端部のハンドで対象物を把持するロボットシステムが考案されている(特許文献1参照)。このロボットシステムは、学習済みの機械学習モデルを用いて入力画像に含まれている対象物の複数の特徴点を推定し、複数の特徴点から対象物の位置や姿勢を決定する。これにより、例えば、ハンドでカップの把手を把持してテーブルに置くといった作業が可能となる。
【先行技術文献】
【特許文献】
【0003】
特開2024-32055号公報
【発明の概要】
【発明が解決しようとする課題】
【0004】
しかしながら、前述のロボットシステムは、対象物の基本形状データを用いて、複数の学習用対象物モデルを生成し、学習用対象物モデルをそれぞれ配置した複数のシーンについて、複数のシミュレーション画像を生成し、個々のシミュレーション画像に対する正解特徴マップを生成する情報処理装置を有する。つまり、対象物ごとに正解特徴マップを生成する必要があり、そのために高度な情報処理装置が必要となる。したがって、汎用性や情報処理装置の簡素化という点で更なる改善の余地がある。
【0005】
本発明はこうした状況に鑑みてなされたものであり、その例示的な目的のひとつは、対象物の位置や大きさを簡易に認識する新たな技術を提供することにある。
【課題を解決するための手段】
【0006】
上記課題を解決するために、本発明のある態様の固定具は、位置の認識の対象となる対象物に固定する固定具であって、対象物に装着されるバンドと、バンドと一体化されているマーカと、を備え、マーカは、画像としてカメラで検出可能な模様が形成されており、模様は、画像に基づいてマーカの位置が算出できるように構成されており、バンドは、画像としてカメラで検出可能な、対象物の一部を半周以上に渡って囲む識別領域を有し、識別領域は、画像に基づいてバンドが装着された対象物の一部の大きさを算出できるように構成されている。
【0007】
この態様によると、固定具が固定された対象物を任意の場所に載置し、マーカの模様や識別領域をカメラで撮像することで、対象物の位置や対象物の一部の大きさを算出できる。
【0008】
バンドは、対象物として円筒部を有する透明な器具に装着されていてもよい。識別領域は、円筒部の直径を算出できるように設けられていてもよい。透明な器具の場合、そのままだとカメラで形状や位置を認識することが難しい場合がある。そのため、カメラで検出可能な識別領域をバンドに設けることで、バンドが装着された対象物の一部の大きさの算出が容易となる。
【0009】
バンドは、対象物の外表面に沿って変形する弾性部材又は可撓性部材であってもよい。これにより、対象物ごとに規格化された様々なバンドを用意しなくても、ある程度の大きさや形状の範囲に含まれる様々な対象物に対して一つのバンドを共用できる。
【0010】
識別領域は、カメラで検出可能な帯状の領域であってもよい。これにより、簡単に識別領域を形成できる。
(【0011】以降は省略されています)
この特許をJ-PlatPat(特許庁公式サイト)で参照する
関連特許
個人
視触覚センサ
2日前
個人
採尿及び採便具
1か月前
日本精機株式会社
検出装置
1か月前
個人
アクセサリー型テスター
1か月前
個人
計量機能付き容器
27日前
個人
高精度同時多点測定装置
1か月前
株式会社カクマル
境界杭
17日前
株式会社ミツトヨ
測定器
1か月前
日本精機株式会社
発光表示装置
10日前
甲神電機株式会社
電流検出装置
1か月前
ユニパルス株式会社
トルク変換器
2日前
ユニパルス株式会社
トルク変換器
2日前
ユニパルス株式会社
トルク変換器
2日前
株式会社トプコン
測量装置
9日前
アズビル株式会社
電磁流量計
1か月前
大成建設株式会社
風洞実験装置
27日前
日本特殊陶業株式会社
ガスセンサ
25日前
個人
非接触による電磁パルスの測定方法
1か月前
個人
計量具及び計量機能付き容器
27日前
日本信号株式会社
距離画像センサ
1か月前
個人
システム、装置及び実験方法
1か月前
双庸電子株式会社
誤配線検査装置
1か月前
愛知時計電機株式会社
ガスメータ
1か月前
日本特殊陶業株式会社
ガスセンサ
2日前
日本特殊陶業株式会社
ガスセンサ
3日前
日本特殊陶業株式会社
ガスセンサ
9日前
ローム株式会社
半導体装置
1か月前
ローム株式会社
半導体装置
1か月前
大和製衡株式会社
組合せ計量装置
1か月前
愛知電機株式会社
軸部材の外観検査装置
1か月前
大和製衡株式会社
組合せ計量装置
1か月前
本陣水越株式会社
車載式計測標的物
4日前
日本特殊陶業株式会社
センサ
11日前
キーコム株式会社
画像作成システム
17日前
株式会社デンソー
電流センサ
1か月前
トヨタ自動車株式会社
測定システム
1か月前
続きを見る
他の特許を見る