TOP
|
特許
|
意匠
|
商標
特許ウォッチ
Twitter
他の特許を見る
公開番号
2025178971
公報種別
公開特許公報(A)
公開日
2025-12-09
出願番号
2024085890
出願日
2024-05-27
発明の名称
カードおよびカードの真偽判定方法
出願人
大日本印刷株式会社
代理人
個人
,
個人
,
個人
,
個人
,
個人
主分類
B42D
25/435 20140101AFI20251202BHJP(製本;アルバム;ファイル;特殊印刷物)
要約
【課題】マイクロパターンがカード券面に視認可能に配置されるカードにおいて、カードのデザイン性を損なうことがなく、かつセキュリティ性を有するカードを提供することを目的とする。
【解決手段】絵柄層40と、隠蔽層30と、コア層10と、がこの順番に積層され、絵柄層および隠蔽層を貫通する除去部60が形成されているカードであって、コア層の隠蔽層側の面にマイクロパターン50が形成されており、除去部を通してマイクロパターンの一部が視認可能としたため、除去部を視認し、マイクロパターンの有無を確認することにより真偽判定を行うことができる。
【選択図】図1
特許請求の範囲
【請求項1】
絵柄層と、隠蔽層と、コア層と、がこの順番に積層され、前記絵柄層および前記隠蔽層を貫通する除去部が形成されているカードであって、
前記コア層の前記隠蔽層側の面にマイクロパターンが形成されており、前記除去部を通して前記マイクロパターンの一部が視認可能な、
カード。
続きを表示(約 920 文字)
【請求項2】
前記除去部が、情報コードを表示するものとして視認可能である
請求項1に記載のカード。
【請求項3】
前記マイクロパターンは、マイクロ文字、万線、地紋や紋様のいずれかを含む
請求項2に記載のカード。
【請求項4】
前記マイクロ文字の文字高さが、0.2mm以上0.3mm以下である
請求項3に記載のカード。
【請求項5】
前記マイクロ文字の文字間の間隔が、0.2mm以上0.6mm以下である
請求項3に記載のカード。
【請求項6】
前記万線の線同士の間隔が、0.3mm以上0.5mm以下である
請求項3に記載のカード。
【請求項7】
前記万線における線幅が、0.1mm以上である
請求項3に記載のカード。
【請求項8】
前記マイクロパターンと、前記コア層におけるマイクロパターンの背景部分と、の色差が、ΔE=20以上である
請求項2に記載のカード。
【請求項9】
前記隠蔽層と前記マイクロパターンとの間に透明層を備えた
請求項1から8のいずれか一項に記載のカード。
【請求項10】
絵柄層と、隠蔽層と、コア層と、がこの順番に積層され、前記絵柄層および前記隠蔽層を貫通する除去部が形成され、
前記コア層の前記隠蔽層側の面にマイクロパターンが形成されており、前記除去部を通して前記マイクロパターンの一部が視認可能なカードにおいて、
視認可能なマイクロパターンの形状に基づいてカード自体の真偽判定を行う真偽判定方法であって、
前記視認可能なマイクロパターンが、予め正規の撮影画像データとして記憶装置に取得、記憶され、
前記正規の撮影画像データにおいて視認可能なマイクロパターンと、前記正規の撮影画像データを取得した際とは異なるタイミングで取得、または観察される視認可能なマイクロパターンと、を比較することによりカードの真偽判定を行う
真偽判定方法。
(【請求項11】以降は省略されています)
発明の詳細な説明
【技術分野】
【0001】
本発明は、セキュリティ性を有するカードに関する。
続きを表示(約 1,400 文字)
【背景技術】
【0002】
従来、一般的に利用されているカードとして、印刷層の下側に積層された透明層と、透明層の下側に積層された中間層とを備え、透明層のレーザ加工領域を透明層が残存するようにレーザ加工することにより、レーザ加工領域から透明層を介して中間層の上面の色彩が視認可能であるカードが知られている(例えば、特許文献1参照)。特許文献1によれば、耐摩耗性が高く、また低コストで、文字等の表示をカードに加工可能なカードを提供することができると記載されている。
【0003】
また、カードの券面にマイクロ文字等のマイクロパターンを配置して偽造防止を図る等、セキュリティ性を向上させたカードも広く知られている。
【先行技術文献】
【特許文献】
【0004】
特開2019-73031号公報
【発明の概要】
【発明が解決しようとする課題】
【0005】
しかしながら、カードの券面にマイクロパターンを配置すると、カードの絵柄のデザイン性を阻害する恐れがあった。言い換えると、カード券面に、マイクロパターンを配置する領域を別途確保する必要があった。
【0006】
本発明は、上記課題を解決するためになされたものであり、マイクロパターンがカード券面に視認可能に配置されるカードにおいて、カードのデザイン性を損なうことがなく、かつセキュリティ性を有するカードを提供することを目的とする。
【課題を解決するための手段】
【0007】
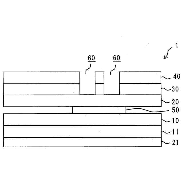
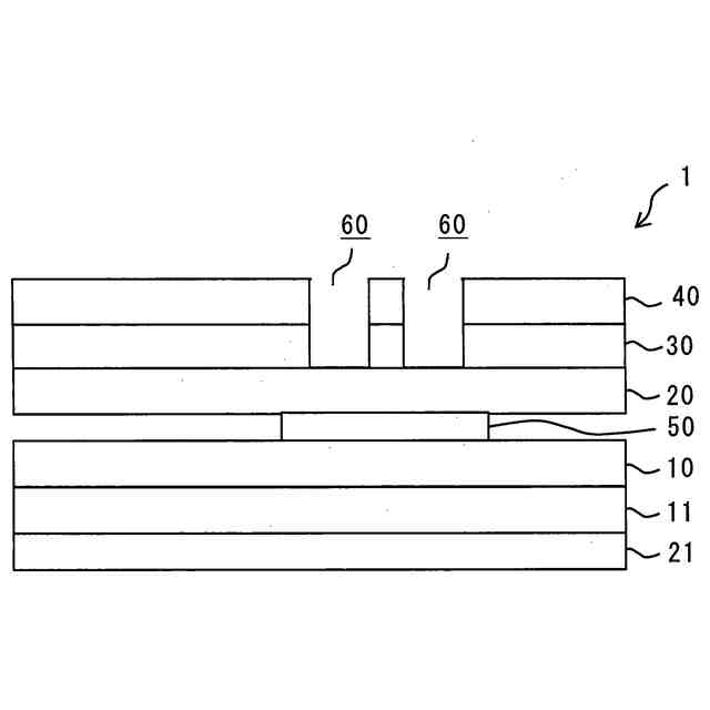
上記目的を達成するために、本発明に係るカードは、絵柄層と、隠蔽層と、コア層と、がこの順番に積層され、前記絵柄層および前記隠蔽層を貫通する除去部が形成されているカードであって、前記コア層の前記隠蔽層側の面にマイクロパターンが形成されており、前記除去部を通して前記マイクロパターンの一部が視認可能となっている。
【0008】
これにより、マイクロパターンは、絵柄層および隠蔽層の除去部でのみ視認されるため、カードの券面に、マイクロパターンを配置する領域を別途確保する必要が生じない。また、マイクロパターンが券面に形成されているため、偽造防止を図ることができる。
【発明の効果】
【0009】
本発明のカードによれば、カード券面に、マイクロパターンを配置する領域を別途確保する必要が生じないため、カードのデザイン性を損なうことがない。また、偽造防止を図ることができるため、セキュリティ性を有している。
【図面の簡単な説明】
【0010】
カード1の各層を説明するための拡大断面図
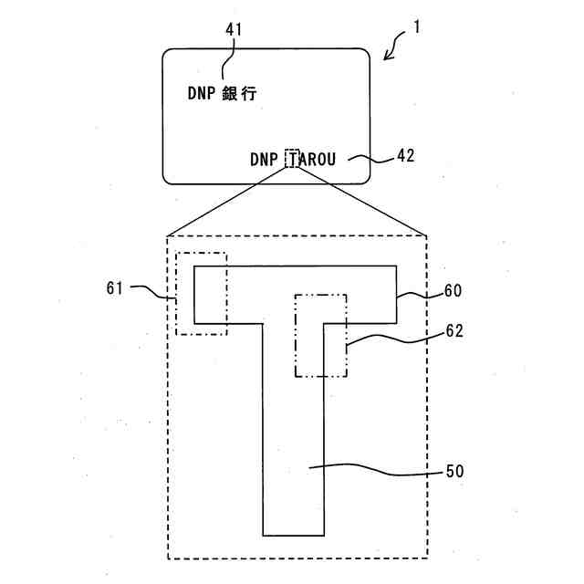
カード1の外観を示す平面図
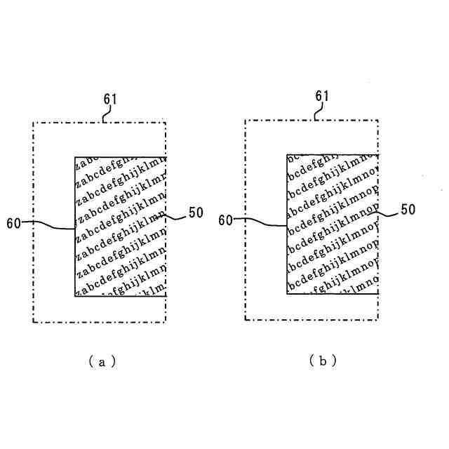
マイクロ文字の有無により真偽判定する方法を説明するための外観対比図
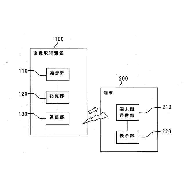
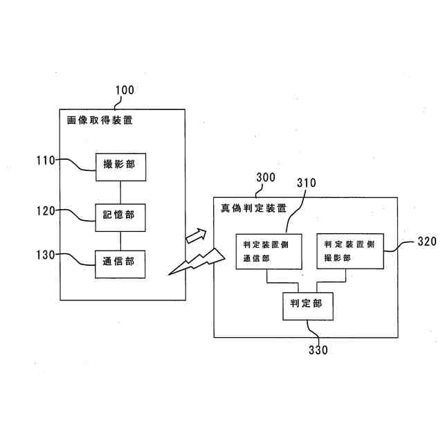
画像取得装置100と端末200の機能ブロック図
マイクロ文字が形成されたカード1を真偽判定する方法を説明するための外観対比図
万線が形成されたカード1を真偽判定する方法を説明するための外観対比図
画像取得装置100と真偽判定装置300の機能ブロック図
真偽判定装置300による真偽判定を行うフローチャート
【発明を実施するための形態】
(【0011】以降は省略されています)
この特許をJ-PlatPat(特許庁公式サイト)で参照する
関連特許
個人
書籍
8か月前
個人
リフター
3か月前
個人
手帳
3か月前
個人
ノート
7か月前
個人
書類ホルダー
7か月前
個人
ブランドハガキ
5か月前
個人
ページめくり穴
2か月前
個人
ダブルクリップ
9か月前
個人
紙片収容保持具
10か月前
個人
ファイル
3か月前
個人
カレンダー
2か月前
個人
メッセージカード
8か月前
個人
折り曲げ式しおり
3か月前
個人
ハミガキ辞典
1か月前
FRC株式会社
学習ノート
7か月前
個人
脱着リーフ綴込み補助具
9か月前
個人
吊下式カレンダー
9か月前
株式会社リコー
綴じ装置
3か月前
ネオライト工業株式会社
しおり
2か月前
個人
脱着リングノートシステム
10か月前
株式会社バンダイ
ブックマーク
1か月前
個人
タロットカード解説書
8か月前
個人
クリップボードカバー
1か月前
個人
シート状印刷物セット
3か月前
独立行政法人 国立印刷局
潜像物
10か月前
ダイニック株式会社
ブッククロス
10か月前
独立行政法人 国立印刷局
積層体
5か月前
独立行政法人 国立印刷局
積層体
5か月前
個人
冊子収容ケース
3か月前
有限会社ライト工房
起立する台紙
6か月前
個人
見開きアルバム立て掛け飾り具
6か月前
独立行政法人 国立印刷局
画像形成体
2か月前
ネオライト工業株式会社
しおりセット
19日前
独立行政法人 国立印刷局
偽造防止媒体
1か月前
個人
環状具
11か月前
有限会社折りの丸新
紙類検査装置
19日前
続きを見る
他の特許を見る