TOP
|
特許
|
意匠
|
商標
特許ウォッチ
Twitter
他の特許を見る
10個以上の画像は省略されています。
公開番号
2025141863
公報種別
公開特許公報(A)
公開日
2025-09-29
出願番号
2025036622
出願日
2025-03-07
発明の名称
バリア性フィルム、積層体および包装容器
出願人
大日本印刷株式会社
代理人
個人
,
個人
,
個人
主分類
B32B
27/32 20060101AFI20250919BHJP(積層体)
要約
【課題】ポリエチレン層を含む延伸フィルムと蒸着膜とを備えるバリア性フィルムであって、ガスバリア性に優れるとともに、延伸フィルムと蒸着膜との密着性に優れるバリア性フィルムを提供する。
【解決手段】バリア性フィルムであって、該バリア性フィルムは、少なくとも、延伸フィルムと、第1の蒸着膜と、第2の蒸着膜と、を積層方向にこの順に備え、該延伸フィルムは、少なくとも、ポリエチレンを主成分として含有するポリエチレン層と、ガスバリア性樹脂を主成分として含有するか、または、ポリエチレンと接着性樹脂とを含有する表面樹脂層と、を備え、該第1の蒸着膜は、該表面樹脂層上に設けられている、バリア性フィルム。
【選択図】なし
特許請求の範囲
【請求項1】
バリア性フィルムであって、
前記バリア性フィルムは、少なくとも、
延伸フィルムと、
第1の蒸着膜と、
第2の蒸着膜と、
を積層方向にこの順に備え、
前記延伸フィルムは、少なくとも、
ポリエチレンを主成分として含有するポリエチレン層と、
ガスバリア性樹脂を主成分として含有するか、または、ポリエチレンと接着性樹脂とを含有する表面樹脂層と、
を備え、
前記第1の蒸着膜は、前記表面樹脂層上に設けられている、
バリア性フィルム。
続きを表示(約 850 文字)
【請求項2】
前記第1の蒸着膜および前記第2の蒸着膜が、それぞれ独立して、金属蒸着膜である、請求項1に記載のバリア性フィルム。
【請求項3】
前記第1の蒸着膜が無機酸化物蒸着膜であり、前記第2の蒸着膜が金属蒸着膜である、請求項1に記載のバリア性フィルム。
【請求項4】
前記第1の蒸着膜および前記第2の蒸着膜が、それぞれ独立して、無機酸化物蒸着膜である、請求項1に記載のバリア性フィルム。
【請求項5】
前記バリア性フィルムが、前記第1の蒸着膜と前記第2の蒸着膜との間に、密着性向上層をさらに備える、請求項1に記載のバリア性フィルム。
【請求項6】
前記密着性向上層が、バリアコート層または金属酸化物膜である、請求項5に記載のバリア性フィルム。
【請求項7】
前記バリア性フィルムが、前記第2の蒸着膜における前記第1の蒸着膜に向かう面とは反対の面上に、保護層をさらに備える、請求項1に記載のバリア性フィルム。
【請求項8】
前記保護層が、バリアコート層である、請求項7に記載のバリア性フィルム。
【請求項9】
前記延伸フィルムが、第1の面と、前記第1の面に対向する第2の面と、を有し、
前記第1の蒸着膜が、前記延伸フィルムにおける前記第2の面上に設けられており、
前記バリア性フィルムが、前記延伸フィルムにおける前記第1の面上に、蒸着膜を備えない、
請求項1に記載のバリア性フィルム。
【請求項10】
前記表面樹脂層が、ガスバリア性樹脂を主成分として含有する層であり、
前記表面樹脂層が、前記ガスバリア性樹脂として、エチレン-ビニルアルコール共重合体、ポリビニルアルコールおよびポリアミドからなる群から選択される少なくとも1種を含有する、
請求項1に記載のバリア性フィルム。
(【請求項11】以降は省略されています)
発明の詳細な説明
【技術分野】
【0001】
本開示は、バリア性フィルム、積層体および包装容器に関する。
続きを表示(約 2,100 文字)
【背景技術】
【0002】
液体および粉体などの内容物を収容するため、包装容器が用いられている。包装容器は、基材およびヒートシール層を備える積層体を用いて作製されている(例えば特許文献1参照)。
【先行技術文献】
【特許文献】
【0003】
特開2020-55156号公報
【発明の概要】
【発明が解決しようとする課題】
【0004】
本発明者は、基材として延伸ポリエチレンフィルムを備える積層体を用いて、包装容器を作製することを検討した。しかしながら、延伸ポリエチレンフィルムはガスバリア性が低いことから、このような包装容器はガスバリア性が充分ではなかった。そこで本発明者は、基材として、延伸ポリエチレンフィルム上に1層の蒸着膜を備えるバリア性フィルムを用いることを検討した。しかしながら、該バリア性フィルムは依然としてガスバリア性が充分ではない場合があり、また延伸ポリエチレンフィルムと蒸着膜との密着性が充分ではなかった。
本開示は、ポリエチレン層を含む延伸フィルムと蒸着膜とを備えるバリア性フィルムであって、ガスバリア性に優れるとともに、延伸フィルムと蒸着膜との密着性に優れるバリア性フィルムを提供することを一つの目的とする。
【課題を解決するための手段】
【0005】
本開示のバリア性フィルムの一態様は、少なくとも、延伸フィルムと、第1の蒸着膜と、第2の蒸着膜と、を積層方向にこの順に備え、該延伸フィルムは、少なくとも、ポリエチレンを主成分として含有するポリエチレン層と、ガスバリア性樹脂を主成分として含有するか、または、ポリエチレンと接着性樹脂とを含有する表面樹脂層と、を備え、該第1の蒸着膜は、該表面樹脂層上に設けられている。
【発明の効果】
【0006】
本開示によれば、ポリエチレン層を含む延伸フィルムと蒸着膜とを備えるバリア性フィルムであって、ガスバリア性に優れるとともに、延伸フィルムと蒸着膜との密着性に優れるバリア性フィルムを提供できる。該バリア性フィルムは、例えば、ガスバリア性に優れる包装容器を作製するための包装材料における基材として有用である。
【図面の簡単な説明】
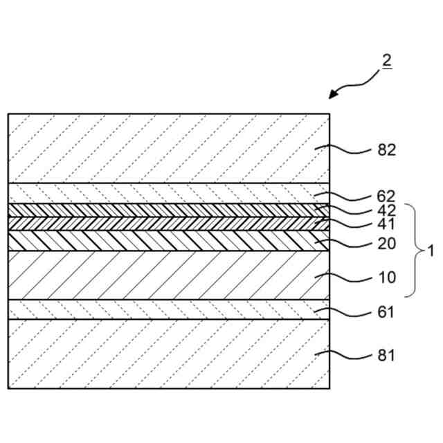
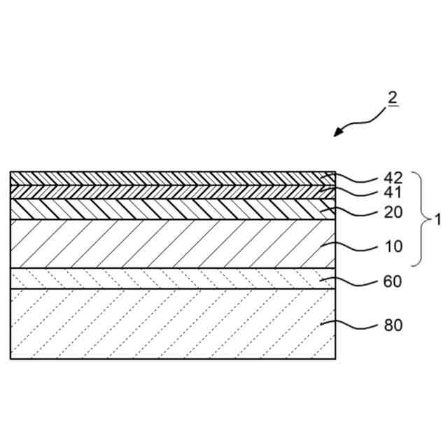
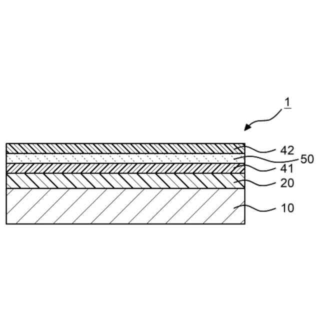
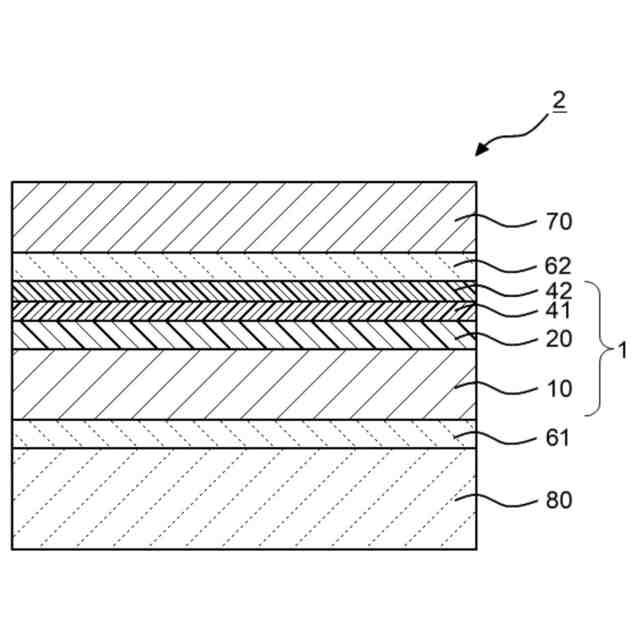
【0007】
図1Aは、バリア性フィルムの一実施形態を示す模式断面図である。
図1Bは、バリア性フィルムの一実施形態を示す模式断面図である。
図1Cは、バリア性フィルムの一実施形態を示す模式断面図である。
図2は、バリア性フィルムの一実施形態を示す模式断面図である。
図3は、バリア性フィルムの一実施形態を示す模式断面図である。
図4は、積層体の一実施形態を示す模式断面図である。
図5は、積層体の一実施形態を示す模式断面図である。
図6は、積層体の一実施形態を示す模式断面図である。
図7は、積層体を含むチューブ容器本体と、キャップと、を備えるチューブ容器の一実施形態を示す斜視図である。
図8は、図7のA-A断面図である。
【発明を実施するための形態】
【0008】
以下、本開示の実施形態について、詳細に説明する。図面は、説明をより明確にするため、実施形態に比べ、各層の幅、厚さおよび形状等について模式的に表される場合があるが、あくまで一例であって、実施形態の解釈を限定しない。本明細書と各図において、既出の図に関してすでに説明したものと同様の要素には、同一の符号を付して、詳細な説明を適宜省略することがある。
【0009】
本明細書において、あるパラメータに関して複数の上限値の候補および複数の下限値の候補が挙げられている場合、そのパラメータの数値範囲は、任意の1つの上限値の候補と任意の1つの下限値の候補とを組み合わせることによって構成されてもよい。上記パラメータとしては、例えば、物性値、成分の含有割合および層の厚さが挙げられる。一例として、「パラメータBは、好ましくはA1以上、より好ましくはA2以上、さらに好ましくはA3以上である。パラメータBは、好ましくはA4以下、より好ましくはA5以下、さらに好ましくはA6以下である。」との記載について説明する。この例において、パラメータBの数値範囲は、A1以上A4以下でもよく、A1以上A5以下でもよく、A1以上A6以下でもよく、A2以上A4以下でもよく、A2以上A5以下でもよく、A2以上A6以下でもよく、A3以上A4以下でもよく、A3以上A5以下でもよく、A3以上A6以下でもよい。
【0010】
本明細書において、ポリエチレンとは、全繰返し構成単位中、エチレン由来の構成単位の含有割合が50モル%超の重合体をいう。この重合体において、エチレン由来の構成単位の含有割合は、好ましくは70モル%以上、より好ましくは80モル%以上、さらに好ましくは90モル%以上、特に好ましくは95モル%以上である。上記含有割合は、NMR法により測定される。
(【0011】以降は省略されています)
この特許をJ-PlatPat(特許庁公式サイト)で参照する
関連特許
大日本印刷株式会社
印刷物
8日前
大日本印刷株式会社
印刷物
8日前
大日本印刷株式会社
太陽電池
4日前
大日本印刷株式会社
床構成体
17日前
大日本印刷株式会社
積層シート
15日前
大日本印刷株式会社
床用化粧材
11日前
大日本印刷株式会社
発電モジュール
26日前
大日本印刷株式会社
パネルの固定方法
23日前
大日本印刷株式会社
積層体及び包装容器
24日前
大日本印刷株式会社
旅行記作成システム
1日前
大日本印刷株式会社
積層体および包装容器
26日前
大日本印刷株式会社
積層体および包装容器
26日前
大日本印刷株式会社
積層体および包装容器
11日前
大日本印刷株式会社
積層体および包装容器
15日前
大日本印刷株式会社
調光部材及び合わせ板
1日前
大日本印刷株式会社
積層体および包装容器
26日前
大日本印刷株式会社
積層体および包装容器
26日前
大日本印刷株式会社
加飾シート及び樹脂成形品
11日前
大日本印刷株式会社
再配線層及びその製造方法
10日前
大日本印刷株式会社
情報処理装置及びプログラム
16日前
大日本印刷株式会社
学習支援装置及びプログラム
17日前
大日本印刷株式会社
作業装置、作業システム、作業方法
22日前
大日本印刷株式会社
水素センサおよび水素検知システム
16日前
大日本印刷株式会社
ウェブ搬送装置及びウェブ搬送方法
22日前
大日本除蟲菊株式会社
薬剤揮散装置
18日前
大日本印刷株式会社
位相差板、光学部材、及び、表示装置
11日前
大日本印刷株式会社
熱転写シートと中間転写媒体との組合せ
15日前
大日本印刷株式会社
バリア性フィルム、積層体および包装容器
26日前
大日本印刷株式会社
バリア性フィルム、積層体および包装容器
26日前
大日本印刷株式会社
バリア性フィルム、積層体および包装容器
26日前
大日本印刷株式会社
サーバ装置、動画配信方法及びプログラム
26日前
大日本印刷株式会社
情報処理装置、情報処理方法及びプログラム
16日前
大日本印刷株式会社
情報処理システム、装着装置及びプログラム
1日前
大日本印刷株式会社
転写シート、成形品の製造方法および成形品
22日前
大日本印刷株式会社
情報処理装置、情報処理方法及びプログラム
16日前
大日本印刷株式会社
プログラム、情報処理方法、及び情報処理装置
18日前
続きを見る
他の特許を見る