TOP
|
特許
|
意匠
|
商標
特許ウォッチ
Twitter
他の特許を見る
公開番号
2025153867
公報種別
公開特許公報(A)
公開日
2025-10-10
出願番号
2024056547
出願日
2024-03-29
発明の名称
積層体および包装容器
出願人
大日本印刷株式会社
代理人
個人
,
個人
主分類
B32B
27/32 20060101AFI20251002BHJP(積層体)
要約
【課題】ポリオレフィン層、蒸着膜および接着層を備える積層体であって、接着層と該接着層に隣接する層との密着性に優れ、またガスバリア性に優れる積層体を提供する。
【解決手段】第1のポリオレフィン層と、ポリオレフィンプラストマーおよび酸基含有エチレン系重合体を含有する接着層と、第2のポリオレフィン層と、を積層方向にこの順に備え、第1のポリオレフィン層と接着層との間、および/または接着層と第2のポリオレフィン層との間に、蒸着膜をさらに備える、積層体。
【選択図】図1
特許請求の範囲
【請求項1】
積層体であって、
前記積層体は、
第1のポリオレフィン層と、
ポリオレフィンプラストマーおよび酸基含有エチレン系重合体を含有する接着層と、
第2のポリオレフィン層と、
を積層方向にこの順に備え、
前記積層体は、前記第1のポリオレフィン層と前記接着層との間、および/または前記接着層と前記第2のポリオレフィン層との間に、蒸着膜をさらに備える、
積層体。
続きを表示(約 860 文字)
【請求項2】
前記第1のポリオレフィン層と前記第2のポリオレフィン層との間に位置する前記接着層が、前記蒸着膜に接している、請求項1に記載の積層体。
【請求項3】
前記接着層における前記ポリオレフィンプラストマーの含有割合が、50質量%以上90質量%以下であり、前記酸基含有エチレン系重合体の含有割合が、10質量%以上50質量%以下である、請求項1に記載の積層体。
【請求項4】
前記酸基含有エチレン系重合体が、エチレンと不飽和カルボン酸またはその酸無水物との共重合体、エチレンと不飽和カルボン酸またはその酸無水物と(メタ)アクリレートとの共重合体、および、ポリエチレンに不飽和カルボン酸またはその酸無水物をグラフト重合した重合体から選択される少なくとも1種である、請求項1に記載の積層体。
【請求項5】
前記酸基含有エチレン系重合体が、エチレン-(メタ)アクリル酸共重合体、およびエチレン-(メタ)アクリル酸-(メタ)アクリレート共重合体から選択される少なくとも1種である、請求項1に記載の積層体。
【請求項6】
前記ポリオレフィンプラストマーが、ポリエチレンプラストマーである、請求項1に記載の積層体。
【請求項7】
前記ポリエチレンプラストマーが、115℃以下の融点を有する、請求項6に記載の積層体。
【請求項8】
前記接着層が、前記ポリオレフィンプラストマーおよび前記酸基含有エチレン系重合体を含有する混合物から形成された単層である、請求項1に記載の積層体。
【請求項9】
前記接着層が、押出樹脂層である、請求項1に記載の積層体。
【請求項10】
前記第1のポリオレフィン層が、ポリエチレン層またはポリプロピレン層であり、
前記第2のポリオレフィン層が、ポリエチレン層またはポリプロピレン層である、
請求項1に記載の積層体。
(【請求項11】以降は省略されています)
発明の詳細な説明
【技術分野】
【0001】
本開示は、積層体および包装容器に関する。
続きを表示(約 1,400 文字)
【背景技術】
【0002】
液体および粉体などの内容物を収容するため、包装容器が用いられている。包装容器は、基材層およびヒートシール層を備える積層体を用いて作製されている(例えば特許文献1参照)。例えば、ポリエチレンフィルムは、柔軟性および透明性を有すると共にヒートシール性に優れることから、ヒートシール層として広く使用されている。
【先行技術文献】
【特許文献】
【0003】
特開2020-55156号公報
【発明の概要】
【発明が解決しようとする課題】
【0004】
近年、包装容器のガスバリア性を向上させるという観点から、基材層上に蒸着膜が設けられたバリア層を用いることが検討されている。上記積層体は、例えば、バリア層に対応するバリア性フィルムと、ヒートシール層に対応するシーラントフィルムとを用いて、ポリエチレンの押出樹脂層等の接着層を介して貼り合わせることで製造されている。
【0005】
しかしながら本発明者は、このような構成の場合は、蒸着膜とポリエチレンの押出樹脂層等の接着層との密着性が充分ではなく、積層体において層間剥離が発生しやすい場合があること、あるいは、押し出し温度が高く、蒸着膜の熱劣化によりガスバリア性が充分に発揮されない場合があることを見出した。
【0006】
本開示の一つの目的は、ポリオレフィン層、蒸着膜および接着層を備える積層体であって、接着層と該接着層に隣接する層との密着性に優れ、またガスバリア性に優れる積層体を提供することにある。
【課題を解決するための手段】
【0007】
本開示の積層体の一態様は、第1のポリオレフィン層と、ポリオレフィンプラストマーおよび酸基含有エチレン系重合体を含有する接着層と、第2のポリオレフィン層と、を積層方向にこの順に備え、第1のポリオレフィン層と接着層との間、および/または接着層と第2のポリオレフィン層との間に、蒸着膜をさらに備える。
【発明の効果】
【0008】
本開示によれば、ポリオレフィン層、蒸着膜および接着層を備える積層体であって、接着層と該接着層に隣接する層との密着性に優れ、またガスバリア性に優れる積層体を提供できる。
【図面の簡単な説明】
【0009】
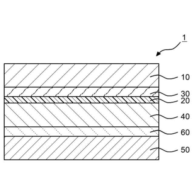
図1は、積層体の一実施形態を示す模式断面図である。
図2は、積層体の一実施形態を示す模式断面図である。
図3は、積層体の一実施形態を示す模式断面図である。
図4は、積層体の一実施形態を示す模式断面図である。
図5は、積層体を含むチューブ容器本体と、キャップと、を備えるチューブ容器の一実施形態を示す斜視図である。
図6は、図5のA-A断面図である。
【発明を実施するための形態】
【0010】
以下、本開示の実施形態について、詳細に説明する。本開示の内容は多くの異なる形態で実施でき、以下に例示する実施形態の記載内容に限定して解釈されない。図面は、説明をより明確にするため、実施形態に比べ、各層の幅、厚さおよび形状等について模式的に表される場合があるが、あくまで一例であって、本開示の解釈を限定しない。本明細書と各図において、既出の図に関してすでに説明したものと同様の要素には、同一の符号を付して、詳細な説明を適宜省略することがある。
(【0011】以降は省略されています)
この特許をJ-PlatPat(特許庁公式サイト)で参照する
関連特許
大日本印刷株式会社
装飾パネル
11日前
大日本印刷株式会社
プリフォーム
18日前
大日本印刷株式会社
インテリア用品
23日前
大日本印刷株式会社
位置決め搬送装置
3日前
大日本印刷株式会社
プラスチックボトル
18日前
大日本印刷株式会社
化粧シート及び化粧材
26日前
大日本印刷株式会社
広告ボード体および脚体
2日前
大日本印刷株式会社
加飾シート及び樹脂成形品
10日前
大日本印刷株式会社
処理装置、判断方法及び評価方法
25日前
大日本印刷株式会社
紙印刷物および紙印刷物の製造方法
25日前
大日本印刷株式会社
音響機能付き低反射透明フィルム装置
4日前
大日本印刷株式会社
有機デバイス及び有機デバイスの製造方法
3日前
大日本印刷株式会社
情報処理装置、情報処理方法、及びプログラム
24日前
大日本印刷株式会社
化粧シート、化粧シートの製造方法および化粧材
18日前
大日本印刷株式会社
化粧シート、化粧シートの製造方法および化粧材
18日前
大日本印刷株式会社
光学シート、液晶表示装置及び有機EL表示装置
23日前
大日本印刷株式会社
化粧シート、化粧シートの製造方法および化粧材
25日前
大日本印刷株式会社
積層体、チューブ容器及びキャップ付きチューブ容器
2日前
大日本印刷株式会社
積層体、チューブ容器及びキャップ付きチューブ容器
2日前
大日本印刷株式会社
転写シート、転写用基材付き樹脂成形品、及び樹脂成形品
10日前
大日本印刷株式会社
加飾シート
16日前
大日本印刷株式会社
物品の製造方法および、発泡性接着シートおよび接着剤組成物
10日前
大日本印刷株式会社
注出口付きパウチ
11日前
大日本印刷株式会社
半導体パッケージ
4日前
大日本印刷株式会社
注出口付きパウチ
11日前
大日本印刷株式会社
積層体及び包装材料
16日前
大日本印刷株式会社
積層体および包装袋
16日前
大日本印刷株式会社
蓋体、蓄電デバイス
18日前
大日本印刷株式会社
プラスチックボトル
18日前
大日本印刷株式会社
加飾シート及び樹脂成形品
10日前
大日本印刷株式会社
検出装置及び放射線特定装置
25日前
大日本印刷株式会社
液体保存容器、液体入り容器、液体入り容器の製造方法、及び液体の製造方法
24日前
大日本印刷株式会社
内容物充填システム及び殺菌方法
1か月前
大日本印刷株式会社
プリフォーム及びプラスチックボトル
18日前
大日本印刷株式会社
印画物製造装置、カードセット及びカード
16日前
大日本印刷株式会社
電子情報記憶媒体、及び無線通信網接続方法
16日前
続きを見る
他の特許を見る