TOP
|
特許
|
意匠
|
商標
特許ウォッチ
Twitter
他の特許を見る
10個以上の画像は省略されています。
公開番号
2025145301
公報種別
公開特許公報(A)
公開日
2025-10-03
出願番号
2024045405
出願日
2024-03-21
発明の名称
ウェブ搬送装置及びウェブ搬送方法
出願人
大日本印刷株式会社
代理人
個人
,
個人
,
個人
主分類
B41J
11/70 20060101AFI20250926BHJP(印刷;線画機;タイプライター;スタンプ)
要約
【課題】本開示は、低コストでウェブ上の除去対象位置を正確に特定可能なウェブ搬送装置及びウェブ搬送方法を提供する。
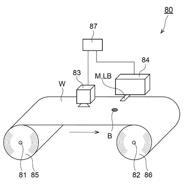
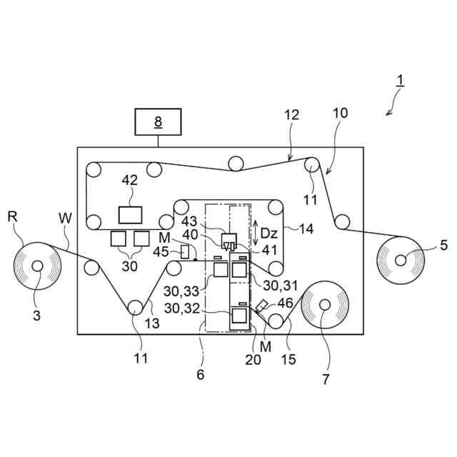
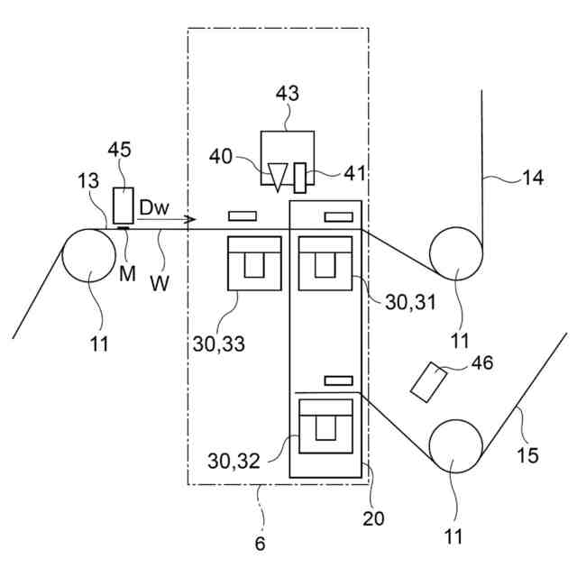
【解決手段】ウェブ搬送装置1は、除去対象部分Bを示すマークMが付与されたウェブWを搬送する搬送機構10と、マークMを検出する検出器45と、検出器45がマークMを検出したことに基づいて、ウェブWのうちマークMの周辺部分を除去する除去装置6と、を備えている。
【選択図】図1
特許請求の範囲
【請求項1】
除去対象部分を示すマークが付与されたウェブを搬送する搬送機構と、
前記マークを検出する検出器と、
前記検出器が前記マークを検出したことに基づいて、前記ウェブのうち前記マークの周辺部分を除去する除去装置と、を備えた、ウェブ搬送装置。
続きを表示(約 720 文字)
【請求項2】
前記除去装置は、
前記ウェブの搬送経路を第1搬送経路と第2搬送経路とに切り替える切替装置と、
前記搬送経路において前記ウェブを挟持して保持する保持機構とを有し、
前記保持機構は、前記第1搬送経路において前記ウェブを挟持して保持する第1保持機構と、前記第2搬送経路において前記ウェブを挟持して保持する第2保持機構と、を含む、請求項1に記載のウェブ搬送装置。
【請求項3】
前記除去対象部分を含む前記マークは、前記第2搬送経路に送られ、前記第2搬送経路に前記マークを撮影する撮影装置が設けられる、請求項2に記載のウェブ搬送装置。
【請求項4】
前記除去装置は、前記ウェブを切断する切断装置と、前記ウェブを接合する第1接合装置とを含む、請求項1に記載のウェブ搬送装置。
【請求項5】
前記マークは、前記ウェブに貼付されたラベルである、請求項1に記載のウェブ搬送装置。
【請求項6】
前記ラベルに、磁気が付与されている、請求項5に記載のウェブ搬送装置。
【請求項7】
前記マークは、前記ウェブに印字されている、請求項1に記載のウェブ搬送装置。
【請求項8】
前記マークは、除去対象部分を含む領域の前後にそれぞれ付与されている、請求項1に記載のウェブ搬送装置。
【請求項9】
除去対象部分を示すマークが付与されたウェブを搬送する工程と、
前記マークを検出する工程と、
前記マークを検出したことに基づいて、前記ウェブのうち前記マークの周辺部分を除去する工程と、を備えた、ウェブ搬送方法。
発明の詳細な説明
【技術分野】
【0001】
本開示は、ウェブ搬送装置及びウェブ搬送方法に関する。
続きを表示(約 1,100 文字)
【背景技術】
【0002】
原反ロールから繰り出されたウェブを搬送するウェブ搬送装置が知られている。ウェブ搬送装置は、例えば、プラスチックフィルムや金属フィルム等のウェブから不良部分を除去する不良除去装置を含む。
【先行技術文献】
【特許文献】
【0003】
特開2006-27814号公報
特開2004-244200号公報
特許第3108193号公報
特開平2-95658号公報
【発明の概要】
【発明が解決しようとする課題】
【0004】
従来の不良除去装置においては、不良除去を行う工程中に目視で不良位置を特定したり、別途設置した検査機により不良位置を特定したりしている。あるいは、不良除去装置の前工程で不良発生範囲を特定し、等ピッチに印刷されたマークに基づいて不良位置を検出している。しかしながら、従来の不良除去装置においては、目視で不良位置を特定する手間がかかったり、高価な検査機を導入したりすることが必要となる。また等ピッチにマークを印刷する場合、マークのピッチのカウントがずれてしまうおそれがある。
【0005】
本開示は、低コストでウェブ上の除去対象位置を正確に特定可能なウェブ搬送装置及びウェブ搬送方法を提供する。
【課題を解決するための手段】
【0006】
本開示の実施形態は、以下の[1]~[9]に関する。
【0007】
[1]除去対象部分を示すマークが付与されたウェブを搬送する搬送機構と、前記マークを検出する検出器と、前記検出器が前記マークを検出したことに基づいて、前記ウェブのうち前記マークの周辺部分を除去する除去装置と、を備えた、ウェブ搬送装置。
【0008】
[2]前記除去装置は、前記ウェブの搬送経路を第1搬送経路と第2搬送経路とに切り替える切替装置と、前記搬送経路において前記ウェブを挟持して保持する保持機構とを有し、前記保持機構は、前記第1搬送経路において前記ウェブを挟持して保持する第1保持機構と、前記第2搬送経路において前記ウェブを挟持して保持する第2保持機構と、を含む、[1]に記載のウェブ搬送装置。
【0009】
[3]前記除去対象部分を含む前記マークは、前記第2搬送経路に送られ、前記第2搬送経路に前記マークを撮影する撮影装置が設けられる、[2]に記載のウェブ搬送装置。
【0010】
[4]前記除去装置は、前記ウェブを切断する切断装置と、前記ウェブを接合する第1接合装置とを含む、[1]乃至[3]のいずれか1つに記載のウェブ搬送装置。
(【0011】以降は省略されています)
この特許をJ-PlatPat(特許庁公式サイト)で参照する
関連特許
大日本印刷株式会社
印刷物
2日前
大日本印刷株式会社
印刷物
2日前
大日本印刷株式会社
積層シート
9日前
大日本印刷株式会社
床用化粧材
5日前
大日本印刷株式会社
積層体および包装容器
5日前
大日本印刷株式会社
加飾シート及び樹脂成形品
5日前
大日本印刷株式会社
再配線層及びその製造方法
4日前
大日本印刷株式会社
位相差板、光学部材、及び、表示装置
5日前
大日本印刷株式会社
熱転写シートと中間転写媒体との組合せ
9日前
大日本印刷株式会社
測定システム、測定方法、測定プログラム、物体
3日前
大日本印刷株式会社
化粧シート、化粧材、及び、化粧シートの製造方法
5日前
大日本印刷株式会社
化粧シート、化粧材、及び、化粧シートの製造方法
5日前
大日本印刷株式会社
動画再生装置、装着装置、動画再生システム及びプログラム
2日前
大日本印刷株式会社
積層体及び包装材料
2日前
大日本印刷株式会社
空中入力装置、空中入力表示装置
4日前
大日本印刷株式会社
蒸着フィルム、積層体、包装材料及び包装容器
5日前
大日本印刷株式会社
ポリエチレン多層基材、印刷基材、積層体及び包装材料
5日前
大日本印刷株式会社
ベーパーチャンバ用のウィックシート、ベーパーチャンバおよび電子機器
4日前
大日本印刷株式会社
アレルゲン低減化性能を有する化粧シート、それを用いたアレルゲン低減化性能を有する粘着加工シート及びアレルゲン低減化性能を有する化粧板
5日前
大日本印刷株式会社
光学積層体、並びに、前記光学積層体を用いた偏光板、表面板、パネル及び画像表示装置、並びに、光学積層体の製造方法、並びに、光学積層体の選定方法
2日前
大日本印刷株式会社
金属端子用接着性フィルム及びその製造方法、金属端子用接着性フィルム付き金属端子、蓄電デバイス用外装材、蓄電デバイス用外装材と金属端子用接着性フィルムを備えるキット、並びに、蓄電デバイス及びその製造方法
4日前
個人
箔熱転写装置
1か月前
シヤチハタ株式会社
印判
4か月前
東レ株式会社
凸版印刷版原版
10か月前
シヤチハタ株式会社
反転式印判
9か月前
キヤノン株式会社
記録装置
1か月前
三光株式会社
感熱記録材料
6か月前
独立行政法人 国立印刷局
印刷物
7か月前
独立行政法人 国立印刷局
貼付機構
2か月前
日本製紙株式会社
感熱記録体
7か月前
株式会社リコー
液体吐出装置
4か月前
株式会社リコー
液体吐出装置
4か月前
株式会社リコー
液体吐出装置
5か月前
株式会社リコー
液体吐出装置
7か月前
株式会社リコー
液体吐出装置
6か月前
株式会社リコー
液体吐出装置
2か月前
続きを見る
他の特許を見る