TOP
|
特許
|
意匠
|
商標
特許ウォッチ
Twitter
他の特許を見る
10個以上の画像は省略されています。
公開番号
2025182074
公報種別
公開特許公報(A)
公開日
2025-12-11
出願番号
2025168488,2023093944
出願日
2025-10-06,2013-11-21
発明の名称
貫通電極基板
出願人
大日本印刷株式会社
代理人
弁理士法人高橋・林アンドパートナーズ
主分類
H01L
23/12 20060101AFI20251204BHJP(基本的電気素子)
要約
【課題】貫通孔内の充填物の脱落防止を可能とした貫通電極基板を提供する。
【解決手段】貫通電極基板は、第1面の第1開口と第2面の第2開口とを貫通する貫通孔を有する基板と、前記貫通孔の内部に設けられた導電層と、平面視において前記貫通孔と重なり、前記第1面及び前記第2面の少なくとも一方に露出した前記導電層に接する絶縁性樹脂層と、を備え、前記第1開口と前記第2開口との間に平面視における面積が最も小さい最小開口部が存在し、前記絶縁性樹脂層は、気体を透過させる機能を有する。
【選択図】図1
特許請求の範囲
【請求項1】
第1面の第1開口と第2面の第2開口とを貫通する貫通孔を有する基板と、
前記貫通孔の内部に設けられた導電層と、
平面視において前記貫通孔と重なり、前記第1面及び前記第2面の少なくとも一方に露出した前記導電層に接する絶縁性樹脂層と、
を備え、
前記第1開口と前記第2開口との間に平面視における面積が最も小さい最小開口部が存在し、
前記絶縁性樹脂層は、気体を透過させる機能を有する貫通電極基板。
発明の詳細な説明
【技術分野】
【0001】
本発明は、基板の表面と裏面を貫通する貫通電極を備えた貫通電極基板に関し、特に、複数の素子の間を接続するためのインターポーザ基板として用いられる貫通電極基板に関する。また、貫通電極基板を用いた半導体装置に関する。
続きを表示(約 1,700 文字)
【背景技術】
【0002】
近年、LSIチップ間のインターポーザとして基板の表面と裏面を導通する導通部を備えた貫通電極基板の開発が進んできている。このような貫通電極基板では、貫通孔内部に電解めっきなどによって導電材を充填することで貫通電極が形成されている。
【0003】
狭ピッチ・短寸法配線を持つLSIチップは、貫通電極基板の上面に配置される。また、広ピッチ・長寸法配線を持つ半導体実装基板は、貫通電極基板の下面に配置される。貫通電極基板の従来技術としては、以下の文献がある。
【先行技術文献】
【特許文献】
【0004】
特願2005-514387号明細書
特願2010-548586号明細書
特願2003-513037号明細書
特願2011-528851号明細書
国際公開第2010/087483号
国際公開第2005/034594号
国際公開第2003/007370号
国際公開第2011/024921号
特許第4241202号
特許第4203277号
特許第4319831号
特許第4022180号
特許第4564342号
特許第4835141号
特許第5119623号
特開2009-23341号公報
特許第2976955号
特開2003-243396号公報
特開2003-198069号公報
特許第4012375号
【発明の概要】
【発明が解決しようとする課題】
【0005】
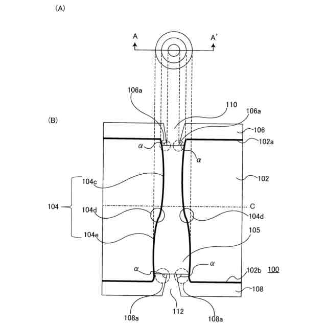
貫通電極においては、上記のように貫通孔内に導電材を充填物として充填したり、または、貫通孔の側壁に沿って導電膜を形成し、貫通孔内の残部に絶縁性樹脂を充填物として充填したりすることがある。貫通電極においては、貫通孔内に充填された充填物の脱落防止のために、貫通孔の内部にテーパを持たせたり、貫通孔内部にクレータ状の多数の凹凸を形成したりする技術が知られている(特許文献3、特許文献4)。
【0006】
しかし、このような技術によって充填物の脱落を防止しようとしても、充填物と貫通孔の側壁との間に空隙が生じ、そこにガス溜まりが生じることがある。この状態で基板に熱が
加わると、従来の技術においては、ガス溜まりに溜まっていたガスが膨張し、貫通孔や充填物の破壊などが起こり、充填物が脱落してしまうという不具合を引き起こす虞がある。
【0007】
そこで、本発明は、このような課題に鑑みてなされたものであり、貫通孔内のガス溜まりに溜まるガスによる不具合を解消し、貫通孔内の充填物の脱落防止を可能とした貫通電極基板及び半導体装置を提供する。
【課題を解決するための手段】
【0008】
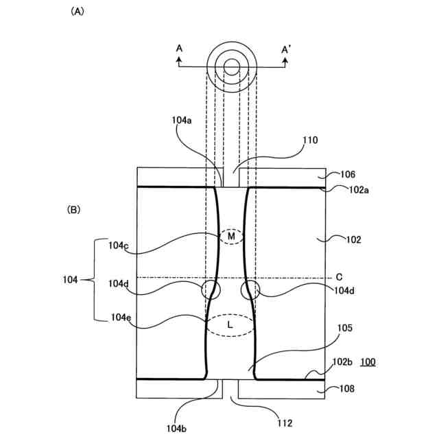
本発明の一実施形態によると、
第1面の第1開口と第2面の第2開口とを貫通する貫通孔を有する基板と、
前記貫通孔内に配置された充填物と、を備え、
前記第2開口は前記第1開口よりも大きく、かつ、前記第1開口と前記第2開口との間に平面視における面積が最も小さい最小開口部が存在し、
前記第1面及び前記第2面の何れか一方に露出する前記充填物に接触するように配置された気体放出部を有することを特徴とする貫通電極基板が提供される。
【0009】
また、本発明の一実施形態によると、
第1面の第1開口と第2面の第2開口とを貫通し、前記第1開口と前記第2開口との間に第1部分並びに前記第1部分及び前記第1開口より平面視における面積が大きい第2部分を有する貫通孔を有する基板と、
前記貫通孔内に配置された充填物と、を備え、
前記第1面及び前記第2面の何れか一方に露出する前記充填物に接触するように配置された気体放出部を有することを特徴とする貫通電極基板が提供される。
【0010】
また、断面視において前記貫通孔の側壁の少なくとも一部が、変曲点を有する曲線を含むようにしてもよい。
(【0011】以降は省略されています)
この特許をJ-PlatPat(特許庁公式サイト)で参照する
関連特許
他の特許を見る