TOP
|
特許
|
意匠
|
商標
特許ウォッチ
Twitter
他の特許を見る
公開番号
2025180028
公報種別
公開特許公報(A)
公開日
2025-12-11
出願番号
2024087075
出願日
2024-05-29
発明の名称
拡散部材およびクリーンブース
出願人
大日本印刷株式会社
代理人
個人
,
個人
主分類
F24F
8/108 20210101AFI20251204BHJP(加熱;レンジ;換気)
要約
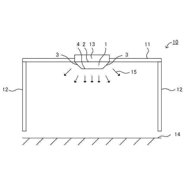
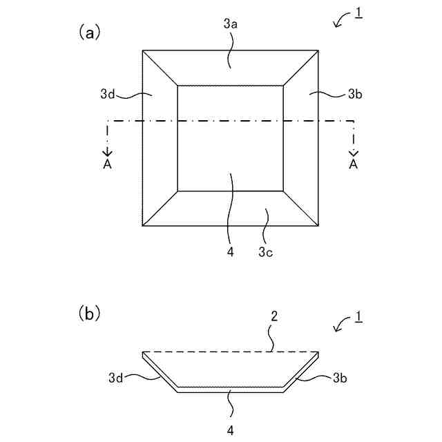
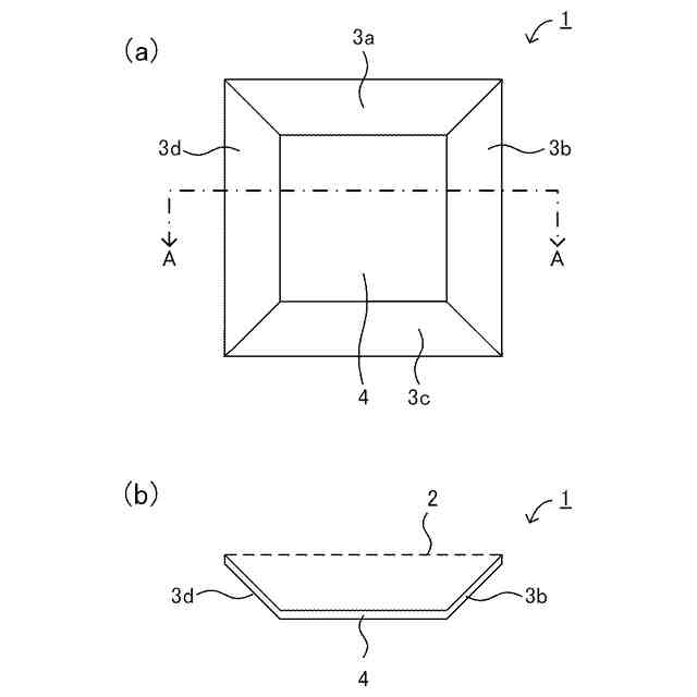
【課題】クリーンブース内の気流を均一化し、アップフローを抑制でき、整流化できる拡散部材を提供する
【解決手段】本開示は、ファンフィルタユニットの吹出口に配置される拡散部材であって、四角錐台の形状を有しており、上記四角錐台の上底面および下底面が長方形形状であり、上記上底面が開口しており、布または貫通孔を有する樹脂シートである、拡散部材を提供する。
【選択図】図1
特許請求の範囲
【請求項1】
ファンフィルタユニットの吹出口に配置される拡散部材であって、
四角錐台の形状を有しており、前記四角錐台の上底面および下底面が長方形形状であり、
前記上底面が開口しており、
布または貫通孔を有する樹脂シートである、拡散部材。
続きを表示(約 400 文字)
【請求項2】
前記四角錐台において、前記上底面と側面とのなす角度が、43°以上65°以下である、請求項1に記載の拡散部材。
【請求項3】
前記四角錐台の高さが、70mm以上200mm以下である、請求項1に記載の拡散部材。
【請求項4】
天井部と、壁部と、前記天井部に配置されたファンフィルタユニットと、前記ファンフィルタユニットの吹出口に配置された、請求項1から請求項3までのいずれかに記載の拡散部材と、を有するクリーンブース。
【請求項5】
前記壁部と前記ファインフィルタユニットとの間隔が、10mm以上600mm以下である、請求項4に記載のクリーンブース。
【請求項6】
前記ファンフィルタユニットを複数有し、隣接する前記ファンフィルタユニットの間隔が、100mm以上610mm以下である、請求項4に記載のクリーンブース。
発明の詳細な説明
【技術分野】
【0001】
本開示は、ファンフィルタユニットに取り付けられる拡散部材、およびクリーンブースに関する。
続きを表示(約 1,100 文字)
【背景技術】
【0002】
クリーンブースは、クリーンルームよりも安価で簡易に清浄な空間を得るための設備である。クリーンブースは、工場や研究施設の局所クリーン化やクリーンルーム内での高清浄度化等のために使用されている。クリーンブースとしては、例えば、天井にファンフィルタユニットを配置し、ファンフィルタユニットから清浄な空気を供給し、空気を塵埃とともにクリーンブースの下の隙間から排出する構成が知られている。クリーンブース内の塵埃は、清浄な空気により希釈され、排出される。
【0003】
従来、クリーンルームやクリーンブースに用いられるファンフィルタユニットにおいては、整流化のために、ファンフィルタユニットの下部に金属製のパンチング板を設けることが行われている(例えば特許文献1、2)。
【先行技術文献】
【特許文献】
【0004】
特開2021-167722号公報
実開平6-3427号公報
【発明の概要】
【発明が解決しようとする課題】
【0005】
上述したように、クリーンブースの清浄化のメカニズムは、希釈である。そのため、クリーンブースにおいて、整流化に関する検証や過程はあまり世の中に報告されていない。
【0006】
本開示は、上記実情に鑑みてなされたものであり、ファンフィルタユニットに取り付けられる拡散部材において、クリーンブース内の気流を均一化し、アップフローを抑制でき、整流化できる拡散部材を提供することを目的とする。
【課題を解決するための手段】
【0007】
本開示の発明者らは、上記課題を解決するために鋭意検討した結果、拡散部材の形状に着目し、拡散部材が四角錐台の形状を有する場合には、乱流の発生を抑制できることを見出した。
【0008】
本開示の一実施形態は、ファンフィルタユニットの吹出口に配置される拡散部材であって、四角錐台の形状を有しており、上記四角錐台の上底面および下底面が長方形形状であり、上記上底面が開口しており、布または貫通孔を有する樹脂シートである、拡散部材を提供する。
【0009】
本開示の他の実施形態は、天井部と、壁部と、上記天井部に配置されたファンフィルタユニットと、上記ファンフィルタユニットの吹出口に配置された、上述の拡散部材と、を有するクリーンブースを提供する。
【発明の効果】
【0010】
本開示においては、ファンフィルタユニットに取り付けられる拡散部材において、整流された気流を構築できる拡散部材を提供できるという効果を奏する。
【図面の簡単な説明】
(【0011】以降は省略されています)
この特許をJ-PlatPat(特許庁公式サイト)で参照する
関連特許
他の特許を見る