TOP
|
特許
|
意匠
|
商標
特許ウォッチ
Twitter
他の特許を見る
10個以上の画像は省略されています。
公開番号
2025180453
公報種別
公開特許公報(A)
公開日
2025-12-11
出願番号
2024087802
出願日
2024-05-30
発明の名称
推定結果出力装置、プログラム及び推定結果出力システム
出願人
大日本印刷株式会社
代理人
個人
,
個人
主分類
G06V
30/12 20220101AFI20251204BHJP(計算;計数)
要約
【課題】推定結果の確認や修正をユーザが効率的に行うことを可能にした推定結果出力装置、プログラム及び推定結果出力システムを提供する。
【解決手段】文書画像処理サーバ1は、対象文書画像の入力を受け付ける文書画像取得部11と、文書画像取得部11が受け付けた対象文書画像から文字列を取得する文字列取得部12と、文字列取得部12が取得した文字列の位置及び内容から文字列の属性情報及び対応関係を推定する関係推定部13と、関係推定部13が推定した属性情報及び対応関係を対象文書画像に示した推定結果画像を生成する結果画像生成部14と、結果画像生成部14が生成した推定結果画像を修正可能な状態にした修正用画面を出力する修正用画面出力部15と、を備える。
【選択図】図1
特許請求の範囲
【請求項1】
対象文書画像の入力を受け付ける文書受付手段と、
前記文書受付手段が受け付けた前記対象文書画像から文字列を取得する文字列取得手段と、
前記文字列取得手段が取得した文字列の位置及び内容から前記文字列の属性情報及び対応関係を推定する推定手段と、
前記推定手段が推定した前記属性情報及び前記対応関係を前記対象文書画像に示した推定結果画像を生成する結果画像生成手段と、
前記結果画像生成手段が生成した前記推定結果画像を修正可能な状態にした修正用画面を出力する修正用画面出力手段と、
を備える、推定結果出力装置。
続きを表示(約 1,200 文字)
【請求項2】
請求項1に記載の推定結果出力装置において、
前記推定結果画像は、前記属性情報を、前記文字列に対応した文字列領域の表示態様により示し、前記対応関係を、2つの前記文字列の間をつなぐ繋ぎ部材により示すものである、推定結果出力装置。
【請求項3】
請求項2に記載の推定結果出力装置において、
前記修正用画面におけるユーザの操作を受け付ける操作受付手段と、
前記操作受付手段が受け付けた前記操作にしたがった処理を行う修正処理手段と、
を備える、推定結果出力装置。
【請求項4】
請求項3に記載の推定結果出力装置において、
前記操作受付手段は、前記繋ぎ部材の端部の移動操作を受け付け、
前記修正処理手段は、前記繋ぎ部材の前記端部が移動した先の前記文字列への連結処理を行う、推定結果出力装置。
【請求項5】
請求項4に記載の推定結果出力装置において、
前記操作受付手段による前記端部の移動操作が開始された場合に、前記繋ぎ部材が繋がれた側の前記文字列との間で前記対応関係になり得る候補の前記文字列に対する結合を誘導させる演出を行う候補演出手段を備える、推定結果出力装置。
【請求項6】
請求項3に記載の推定結果出力装置において、
前記操作受付手段は、対応関係の追加に係る操作及び2つの前記文字列の選択操作を受け付け、
前記修正処理手段は、前記2つの前記文字列を新たな前記繋ぎ部材により繋ぐ連結処理を行う、推定結果出力装置。
【請求項7】
請求項3に記載の推定結果出力装置において、
前記操作受付手段は、前記繋ぎ部材の選択操作及び対応関係の削除に係る操作を受け付け、
前記修正処理手段は、選択操作がされた前記繋ぎ部材を削除する処理を行う、推定結果出力装置。
【請求項8】
請求項3に記載の推定結果出力装置において、
前記操作受付手段は、前記文字列領域の選択操作及び前記属性情報の選択操作を受け付け、
前記修正処理手段は、選択操作がされた前記文字列領域の前記表示態様を、選択操作がされた前記属性情報に対応した前記表示態様に変更する処理を行う、推定結果出力装置。
【請求項9】
請求項8に記載の推定結果出力装置において、
前記操作受付手段による前記文字列領域の選択操作を受け付けた場合に、選択された前記文字列領域の前記文字列から推測される前記属性情報の候補を強調する演出を行う強調演出手段を備える、推定結果出力装置。
【請求項10】
請求項3に記載の推定結果出力装置において、
前記操作受付手段は、前記文字列領域の拡大又は縮小に係る領域変更操作を受け付け、
前記修正処理手段は、領域変更操作にしたがって前記文字列領域を変更する処理を行う、推定結果出力装置。
(【請求項11】以降は省略されています)
発明の詳細な説明
【技術分野】
【0001】
本発明は、推定結果出力装置、プログラム及び推定結果出力システムに関する。
続きを表示(約 4,300 文字)
【背景技術】
【0002】
従来、見積書や請求書等の発行元によってフォーマットが異なる書類を、データとしてシステムに登録する際に、文字入力を手作業で行っており、時間及び人的なコストがかかっている。
そのため、コストの削減のために、文字入力を自動的に行う様々な取り組みが検討されている。OCR(Optical Character Recognition/Reader)の使用は、その一例である。しかし、OCRでは、情報がバラバラに取得されてしまい、テキストの意味を理解することができない。
そこで、例えば、書類に含まれる文字画像集合のテキストデータに対応する特徴ベクトルを生成して使用するものがある(例えば、特許文献1)。
【先行技術文献】
【特許文献】
【0003】
特開2022-178723号公報
【発明の概要】
【発明が解決しようとする課題】
【0004】
特許文献1のものを用いてユーザ所望の属性についての属性ラベルと属性値とのペアを特定した場合であっても、誤って特定してしまう可能性も想定される。
【0005】
そこで、本発明は、推定結果の確認や修正をユーザが効率的に行うことを可能にした推定結果出力装置、プログラム及び推定結果出力システムを提供することを目的とする。
【課題を解決するための手段】
【0006】
本発明は、以下のような解決手段により、前記課題を解決する。
第1の発明は、対象文書画像の入力を受け付ける文書受付手段と、前記文書受付手段が受け付けた前記対象文書画像から文字列を取得する文字列取得手段と、前記文字列取得手段が取得した文字列の位置及び内容から前記文字列の属性情報及び対応関係を推定する推定手段と、前記推定手段が推定した前記属性情報及び前記対応関係を前記対象文書画像に示した推定結果画像を生成する結果画像生成手段と、前記結果画像生成手段が生成した前記推定結果画像を修正可能な状態にした修正用画面を出力する修正用画面出力手段と、を備える、推定結果出力装置である。
第2の発明は、第1の発明の推定結果出力装置において、前記推定結果画像は、前記属性情報を、前記文字列に対応した文字列領域の表示態様により示し、前記対応関係を、2つの前記文字列の間をつなぐ繋ぎ部材により示すものである、推定結果出力装置である。
第3の発明は、第2の発明の推定結果出力装置において、前記修正用画面におけるユーザの操作を受け付ける操作受付手段と、前記操作受付手段が受け付けた前記操作にしたがった処理を行う修正処理手段と、を備える、推定結果出力装置である。
第4の発明は、第3の発明の推定結果出力装置において、前記操作受付手段は、前記繋ぎ部材の端部の移動操作を受け付け、前記修正処理手段は、前記繋ぎ部材の前記端部が移動した先の前記文字列への連結処理を行う、推定結果出力装置である。
第5の発明は、第4の発明の推定結果出力装置において、前記操作受付手段による前記端部の移動操作が開始された場合に、前記繋ぎ部材が繋がれた側の前記文字列との間で前記対応関係になり得る候補の前記文字列に対する結合を誘導させる演出を行う候補演出手段を備える、推定結果出力装置である。
第6の発明は、第3の発明の推定結果出力装置において、前記操作受付手段は、対応関係の追加に係る操作及び2つの前記文字列の選択操作を受け付け、前記修正処理手段は、前記2つの前記文字列を新たな前記繋ぎ部材により繋ぐ連結処理を行う、推定結果出力装置である。
第7の発明は、第3の発明の推定結果出力装置において、前記操作受付手段は、前記繋ぎ部材の選択操作及び対応関係の削除に係る操作を受け付け、前記修正処理手段は、選択操作がされた前記繋ぎ部材を削除する処理を行う、推定結果出力装置である。
第8の発明は、第3の発明の推定結果出力装置において、前記操作受付手段は、前記文字列領域の選択操作及び前記属性情報の選択操作を受け付け、前記修正処理手段は、選択操作がされた前記文字列領域の前記表示態様を、選択操作がされた前記属性情報に対応した前記表示態様に変更する処理を行う、推定結果出力装置である。
第9の発明は、第8の発明の推定結果出力装置において、前記操作受付手段による前記文字列領域の選択操作を受け付けた場合に、選択された前記文字列領域の前記文字列から推測される前記属性情報の候補を強調する演出を行う強調演出手段を備える、推定結果出力装置である。
第10の発明は、第3の発明の推定結果出力装置において、前記操作受付手段は、前記文字列領域の拡大又は縮小に係る領域変更操作を受け付け、前記修正処理手段は、領域変更操作にしたがって前記文字列領域を変更する処理を行う、推定結果出力装置である。
第11の発明は、第10の発明の推定結果出力装置において、前記修正処理手段による変更後の前記文字列領域の所定の位置に、前記繋ぎ部材を繋ぐ接着点を設定する接着点設定手段を備える、推定結果出力装置である。
第12の発明は、第3の発明の推定結果出力装置において、前記操作受付手段は、属性情報の追加に係る操作及び前記文字列の選択操作を受け付け、前記修正処理手段は、選択操作がされた前記文字列に係る前記文字列領域の前記表示態様を、所定の前記表示態様に変更する処理を行う、推定結果出力装置である。
第13の発明は、第3の発明の推定結果出力装置において、前記操作受付手段は、前記文字列領域の選択操作及び属性情報の削除に係る操作を受け付け、前記修正処理手段は、選択操作がされた前記文字列領域を削除する処理を行う、推定結果出力装置である。
第14の発明は、第1の発明から第13の発明までのいずれかの推定結果出力装置において、前記推定手段は、前記文字列に含まれるキーワードの有無及び/又は前記文字列の位置に関する規則に基づいて、又は、項目名と項目値との組み合わせについての学習をした学習モデルに基づいて、前記文字列の前記属性情報及び前記対応関係を推定する、推定結果出力装置である。
第15の発明は、第3の発明から第13の発明までのいずれかの推定結果出力装置において、前記修正処理手段による修正後の文字列の前記属性情報及び前記対応関係に基づき複数の項目名と前記複数の項目名の各々に対応する項目値との組み合わせである複数の項目組を抽出する項目組抽出手段と、前記項目組抽出手段が抽出した前記複数の項目組を出力する項目組出力手段と、を備える、推定結果出力装置である。
第16の発明は、第15の発明の推定結果出力装置において、前記項目組は、1つの前記項目名に対して複数の前記項目値の組み合わせを含む、推定結果出力装置である。
第17の発明は、第1の発明から第16の発明までのいずれかの推定結果出力装置としてコンピュータを機能させるためのプログラムである。
第18の発明は、ユーザが用いる端末と、前記端末に通信可能に接続されたサーバと、を備えた推定結果出力システムであって、前記サーバは、前記端末から対象文書画像の入力を受け付ける文書受付手段と、前記文書受付手段が受け付けた前記対象文書画像から文字列を取得する文字列取得手段と、前記文字列取得手段が取得した文字列の位置及び内容から前記文字列の属性情報及び対応関係を推定する推定手段と、前記推定手段が推定した前記属性情報及び前記対応関係を前記対象文書画像に示した推定結果画像を生成する結果画像生成手段と、前記結果画像生成手段が生成した前記推定結果画像を修正可能な状態にした修正用画面を、前記端末に出力する修正用画面出力手段と、を備える、推定結果出力システムである。
【発明の効果】
【0007】
本発明によれば、推定結果の確認や修正をユーザが効率的に行うことを可能にした推定結果出力装置、プログラム及び推定結果出力システムを提供することができる。
【図面の簡単な説明】
【0008】
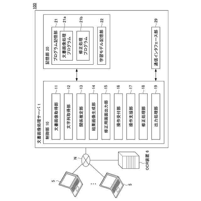
本実施形態に係る文書画像処理システムの全体構成図及び文書画像処理サーバの機能ブロック図である。
本実施形態に係る文書画像処理サーバの文書画像処理を示すフローチャートである。
本実施形態に係る文書画像処理サーバの属性推定処理を示すフローチャートである。
本実施形態に係るユーザ端末に出力する修正用画面の例を示す図である。
本実施形態に係るユーザ端末に出力する項目組の例を示す図である。
本実施形態に係る文書画像処理サーバにおける操作対象と処理内容とを示す操作一覧表の例を示す図である。
本実施形態に係るユーザ端末での操作と処理の例を説明するための図である。
本実施形態に係るユーザ端末での操作と処理の例を説明するための図である。
本実施形態に係るユーザ端末での操作と処理の例を説明するための図である。
本実施形態に係るユーザ端末での操作と処理の例を説明するための図である。
本実施形態に係るユーザ端末での操作と処理の例を説明するための図である。
本実施形態に係るユーザ端末での操作と処理の例を説明するための図である。
本実施形態に係るユーザ端末での操作と処理の例を説明するための図である。
【発明を実施するための形態】
【0009】
以下、本発明を実施するための形態について、図を参照しながら説明する。なお、これは、あくまでも一例であって、本発明の技術的範囲は、これに限られるものではない。
(実施形態)
<文書画像処理システム100の全体構成>
図1は、本実施形態に係る文書画像処理システム100の全体構成図及び文書画像処理サーバ1の機能ブロック図である。
【0010】
図1に示すように、文書画像処理システム100(推定結果出力システム)は、文書画像処理サーバ1(推定結果出力装置)と、ユーザ端末5(端末)と、OCR装置6とを備える。文書画像処理サーバ1と、ユーザ端末5と、OCR装置6とは、通信ネットワークNを介して通信可能に接続されている。
(【0011】以降は省略されています)
この特許をJ-PlatPat(特許庁公式サイト)で参照する
関連特許
他の特許を見る