TOP
|
特許
|
意匠
|
商標
特許ウォッチ
Twitter
他の特許を見る
10個以上の画像は省略されています。
公開番号
2025181060
公報種別
公開特許公報(A)
公開日
2025-12-11
出願番号
2024088809
出願日
2024-05-31
発明の名称
配線基板及びヘッドマウントディスプレイ
出願人
大日本印刷株式会社
代理人
個人
,
個人
,
個人
主分類
G02B
27/02 20060101AFI20251204BHJP(光学)
要約
【課題】性能向上が可能な、配線基板及びヘッドマウントディスプレイを提供する。
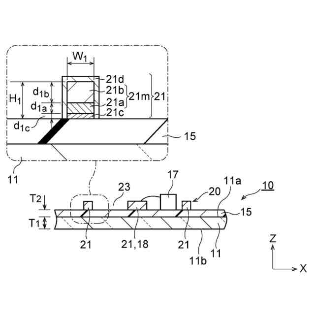
【解決手段】配線基板は、透明性を有する基板と、基板上に配置されたメッシュ配線層と、メッシュ配線層に電気的に接続された複数の電子部品とを備えている。メッシュ配線層は、基板上に配置された第1暗色層と、第1暗色層上に配置された金属層と、第1暗色層及び金属層を覆う第2暗色層とを有している。メッシュ配線層に複数の端子部が形成されている。複数の電子部品は、互いに間隔を空けて配置されているとともに、互いに異なる端子部に実装されている。
【選択図】図5
特許請求の範囲
【請求項1】
配線基板であって、
透明性を有する基板と、
前記基板上に配置されたメッシュ配線層と、
前記メッシュ配線層に電気的に接続された複数の電子部品とを備え、
前記メッシュ配線層は、
前記基板上に配置された第1暗色層と、
前記第1暗色層上に配置された金属層と、
前記第1暗色層及び前記金属層を覆う第2暗色層とを有し、
前記メッシュ配線層に複数の端子部が形成されており、
複数の前記電子部品は、互いに間隔を空けて配置されているとともに、互いに異なる前記端子部に実装されている、配線基板。
続きを表示(約 780 文字)
【請求項2】
前記基板のガラス転移温度は、150℃以上400℃以下である、請求項1に記載の配線基板。
【請求項3】
前記電子部品は、発光素子を含む、請求項1に記載の配線基板。
【請求項4】
前記発光素子は、赤外波長を含む光を照射する、請求項3に記載の配線基板。
【請求項5】
前記メッシュ配線層は、アンテナとして構成されており、前記電子部品は、アンテナ駆動用の半導体素子を含む、請求項1に記載の配線基板。
【請求項6】
前記メッシュ配線層は、アンテナとして構成されており、前記電子部品は、発光素子と、アンテナ駆動用の半導体素子とを含む、請求項1に記載の配線基板。
【請求項7】
前記メッシュ配線層の周囲に、前記メッシュ配線層から電気的に独立したダミー配線層が設けられている、請求項1に記載の配線基板。
【請求項8】
複数の前記ダミー配線層が設けられ、前記メッシュ配線層及び前記ダミー配線層の開口率は、前記メッシュ配線層から、前記メッシュ配線層に遠い前記ダミー配線層に向けて段階的に大きくなっている、請求項7に記載の配線基板。
【請求項9】
フレームと、
前記フレームに取り付けられた透明な表示装置と、
前記フレームに取り付けられた撮像部とを備え、
前記表示装置は、
請求項1乃至8のいずれか一項に記載の配線基板と、
前記配線基板に積層された表示部とを有する、ヘッドマウントディスプレイ。
【請求項10】
前記配線基板は、前記フレームに取り付けられる周縁部と、前記周縁部に取り囲まれる中央部とを含み、
前記電子部品は、中央部に配置されている、請求項9に記載のヘッドマウントディスプレイ。
発明の詳細な説明
【技術分野】
【0001】
本開示の実施の形態は、配線基板及びヘッドマウントディスプレイに関する。
続きを表示(約 1,400 文字)
【背景技術】
【0002】
現在、スマートフォン、タブレット、スマートグラス(AR、MR等)等の携帯端末機器の高機能、小型化、薄型化及び軽量化が進んでいる。これら携帯端末機器は、複数の通信帯域を使用するため、通信帯域に応じた複数のアンテナが必要とされる。例えば、携帯端末機器には、電話用アンテナ、WiFi(Wireless Fidelity)用アンテナ、3G(Generation)用アンテナ、4G(Generation)用アンテナ、5G(Generation)用アンテナ、LTE(Long Term Evolution)用アンテナ、Bluetooth(登録商標)用アンテナ、NFC(Near Field Communication)用アンテナ等の複数のアンテナが搭載されている。しかしながら、携帯端末機器の小型化に伴い、アンテナの搭載スペースは限られており、アンテナ設計の自由度は狭まっている。また、限られたスペース内にアンテナを内蔵していることから、電波感度が必ずしも満足できるものではない。
【0003】
このため、携帯端末機器の表示領域又はスマートグラスの透過領域に搭載できるフィルムアンテナが開発されている。このフィルムアンテナは、透明基材上にアンテナパターンが形成された透明アンテナにおいて、アンテナパターンが、不透明な導電体層の形成部としての導体部と、非形成部としての多数の開口部とによるメッシュ状の導電体メッシュ層によって形成されている。
【先行技術文献】
【特許文献】
【0004】
特開2011-66610号公報
【発明の概要】
【発明が解決しようとする課題】
【0005】
ところで、例えば、従来のフィルムアンテナにおいては、透明基材上に1つ又は複数のメッシュ配線層が搭載される。このようなメッシュ配線層は、無線通信又は視線追跡のような機能のために使用され得る。このため、このような機能の性能を向上させることが求められている。
【0006】
本実施の形態は、性能を向上させることが可能な、配線基板及びヘッドマウントディスプレイを提供する。
【課題を解決するための手段】
【0007】
本開示の実施の形態は、以下の[1]~[9]に関する。
【0008】
[1]
配線基板であって、
透明性を有する基板と、
前記基板上に配置されたメッシュ配線層と、
前記メッシュ配線層に電気的に接続された複数の電子部品とを備え、
前記メッシュ配線層は、
前記基板上に配置された第1暗色層と、
前記第1暗色層上に配置された金属層と、
前記第1暗色層及び前記金属層を覆う第2暗色層とを有し、
前記メッシュ配線層に複数の端子部が形成されており、
複数の前記電子部品は、互いに間隔を空けて配置されているとともに、互いに異なる前記端子部に実装されている、配線基板。
【0009】
[2]
前記基板のガラス転移温度は、150℃以上400℃以下である、[1]に記載の配線基板。
【0010】
[3]
前記電子部品は、発光素子を含む、[1]又は[2]に記載の配線基板。
(【0011】以降は省略されています)
この特許をJ-PlatPat(特許庁公式サイト)で参照する
関連特許
他の特許を見る