TOP
|
特許
|
意匠
|
商標
特許ウォッチ
Twitter
他の特許を見る
10個以上の画像は省略されています。
公開番号
2025124222
公報種別
公開特許公報(A)
公開日
2025-08-26
出願番号
2024020121
出願日
2024-02-14
発明の名称
シミュレータ
出願人
ニプロ株式会社
代理人
弁理士法人深見特許事務所
主分類
G09B
9/00 20060101AFI20250819BHJP(教育;暗号方法;表示;広告;シール)
要約
【課題】カテーテルが閉塞しているときの医療機器操作を体験可能な教育用のシミュレータを提供する。
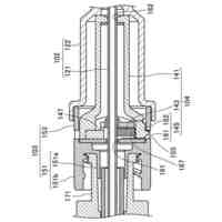
【解決手段】シミュレータは、シートと、容器と、カテーテルを先端側に有し、後端側にカテーテルと流体連通可能な医療機器が接続されるカテーテルアセンブリとを備える。容器の蓋と本体とのうちの一方の第1部材は、他方の第2部材側の内側面と外側面とを有する。シートは、外側面に貼り付けられている。第1部材とシートとの各々には、容器の上面視において同じ位置に、カテーテルを容器の内部に挿入するための貫通孔が形成されている。カテーテルは、少なくとも一部が先端側から各貫通孔を介して容器内に挿入されている。シミュレータは、カテーテル内における流体の容器内から容器外に向かう第1方向への流れと、第1方向とは反対の第2方向への流れとのうち、少なくとも一方の流れを制限する第3部材を容器内にさらに備える。
【選択図】図4
特許請求の範囲
【請求項1】
シートと、
蓋と本体とを有する容器と、
内部に流体が流れるカテーテルを先端側に有し、後端側に前記カテーテルと流体連通可能な医療機器が接続されるカテーテルアセンブリとを備え、
前記蓋と前記本体とのうちの一方の第1の部材は、前記蓋と前記本体とのうちの他方の第2の部材側の内側面と、前記内側面と反対側の外側面とを有し、
前記シートは、前記外側面に貼り付けられており、
前記第1の部材と前記シートとの各々には、前記容器の上面視において同じ位置に、前記カテーテルを前記容器の内部に挿入するための貫通孔が形成されており、
前記カテーテルは、少なくとも一部が前記先端側から各前記貫通孔を介して前記容器内に挿入されており、
前記カテーテル内における前記流体の前記容器内から前記容器外に向かう第1の方向への流れと、前記カテーテル内における前記流体の前記第1の方向とは反対の第2の方向への流れとのうち、少なくとも一方の流れを制限する第3の部材を前記容器内にさらに備える、シミュレータ。
続きを表示(約 1,400 文字)
【請求項2】
前記カテーテルには、各々に前記流体が流れる脱血用の第1の内腔と返血用の第2の内腔とが形成されており、
前記第3の部材は、前記第1および第2の内腔における前記流体の前記第1および第2の方向の流れを制限する、請求項1に記載のシミュレータ。
【請求項3】
前記第3の部材は、前記第1の内腔と前記第2の内腔とを閉塞する閉塞部材である、請求項2に記載のシミュレータ。
【請求項4】
前記カテーテルには、各々に前記流体が流れる脱血用の第1の内腔と返血用の第2の内腔とが形成されており、
前記第3の部材は、前記第1および第2の内腔における前記流体の前記第1および第2の方向の流れのうち、前記第1の方向の流れのみを制限する、請求項1に記載のシミュレータ。
【請求項5】
前記容器内に設置された逆止弁と、
前記第1および第2の内腔と前記逆止弁とを接続する第1のチューブとをさらに備え、
前記逆止弁は、前記第1および第2の内腔において、前記第1の方向に前記流体が流れることを防止し、かつ、前記第2の方向に前記流体が流れることを許容する、請求項4に記載のシミュレータ。
【請求項6】
前記カテーテルには、各々に前記流体が流れる脱血用の第1の内腔と返血用の第2の内腔とが形成されており、
前記第3の部材は、前記第1および第2の内腔のうちの一方の内腔における前記流体の前記第1および第2の方向の流れを制限する、請求項1に記載のシミュレータ。
【請求項7】
前記カテーテルは、前記カテーテルの先端側において、前記第1の内腔の第1の開口端と、前記第2の内腔の第2の開口端とを有し、
前記第2の内腔は、前記第1の内腔よりも前記カテーテルの先端側に延びており、
前記第3の部材は、前記カテーテルにおける前記第1の開口端と前記第2の開口端との間の位置において、前記第1の内腔と前記第2の内腔とのうち前記第2の内腔のみを閉塞する閉塞部材である、請求項6に記載のシミュレータ。
【請求項8】
前記カテーテルは、前記カテーテルの先端側において、前記第1の内腔の第1の開口端と、前記第2の内腔の第2の開口端とを有し、
前記第2の内腔は、前記第1の内腔よりも前記カテーテルの先端側に延びており、
前記第3の部材は、前記第1の開口端と前記第2の開口端とのうち前記第1の開口端のみを覆う被覆部材である、請求項6に記載のシミュレータ。
【請求項9】
前記容器内に収容された、液体が注入されたバックと、
前記逆止弁に接続された第2のチューブとをさらに備え、
前記第1のチューブと前記第2のチューブとは、前記逆止弁を介して前記第1のチューブ側から前記第2のチューブ側の方向に連通しており、
前記第2のチューブは、前記バック内に差し込まれている、請求項5に記載のシミュレータ。
【請求項10】
前記容器内に収容された、液体が注入されたバックをさらに備え、
前記カテーテルは、前記第1の開口端と前記第2の開口端とが前記バック内に位置するように、前記バック内に差し込まれている、請求項7または8に記載のシミュレータ。
(【請求項11】以降は省略されています)
発明の詳細な説明
【技術分野】
【0001】
本開示は、シミュレータに関し、特に、カテーテルアセンブリの教育用シミュレータに関する。
続きを表示(約 1,500 文字)
【背景技術】
【0002】
従来、透析治療を受ける際にシャントが作成されていない場合またはシャントが使用できない場合等において、カテーテルを有するカテーテルアセンブリが用いられる。独国実用新案第202004006035号明細書(特許文献1)には、カテーテルを挿入可能な教育用の人体モデルが開示されている。特許文献1の人体モデルを使うことにより、カテーテルの手技を学ぶことができる。
【先行技術文献】
【特許文献】
【0003】
独国実用新案第202004006035号明細書
中国特許出願公開第106781812号明細書
【発明の概要】
【発明が解決しようとする課題】
【0004】
ところで、カテーテルを人体に留置したままにしておく場合、人体内において、カテーテルの先端部に血の成分(凝固物)が固着することがある。このような場合、カテーテルの内腔の開口部分の全部または一部が血の凝固物によって閉塞されてしまう。しかしながら、特許文献1では、カテーテルが血の凝固物で閉塞されたときの注射器等の医療機器の操作を体験することはできない。
【0005】
本開示は、カテーテルが閉塞しているときの医療機器操作を体験可能な教育用のシミュレータを提供する。
【課題を解決するための手段】
【0006】
本開示のある局面に従うと、シミュレータは、シートと、蓋と本体とを有する容器と、内部に流体が流れるカテーテルを先端側に有し、後端側にカテーテルと流体連通可能な医療機器が接続されるカテーテルアセンブリとを備える。蓋と本体とのうちの一方の第1の部材は、蓋と本体とのうちの他方の第2の部材側の内側面と、内側面と反対側の外側面とを有する。シートは、外側面に貼り付けられている。第1の部材とシートとの各々には、容器の上面視において同じ位置に、カテーテルを容器の内部に挿入するための貫通孔が形成されている。カテーテルは、少なくとも一部が先端側から各貫通孔を介して容器内に挿入されている。シミュレータは、カテーテル内における流体の容器内から容器外に向かう第1の方向への流れと、カテーテル内における流体の第1の方向とは反対の第2の方向への流れとのうち、少なくとも一方の流れを制限する第3の部材を容器内にさらに備える。
【0007】
好ましくは、カテーテルには、各々に流体が流れる脱血用の第1の内腔と返血用の第2の内腔とが形成されている。第3の部材は、第1および第2の内腔における流体の第1および第2の方向の流れを制限する。
【0008】
好ましくは、第3の部材は、第1の内腔と第2の内腔とを閉塞する閉塞部材である。
好ましくは、カテーテルには、各々に流体が流れる脱血用の第1の内腔と返血用の第2の内腔とが形成されている。第3の部材は、第1および第2の内腔における流体の第1および第2の方向の流れのうち、第1の方向の流れのみを制限する。
【0009】
好ましくは、シミュレータは、容器内に設置された逆止弁と、第1および第2の内腔と逆止弁とを接続する第1のチューブとをさらに備える。逆止弁は、第1および第2の内腔において、第1の方向に流体が流れることを防止し、かつ、第2の方向に流体が流れることを許容する。
【0010】
好ましくは、カテーテルには、各々に流体が流れる脱血用の第1の内腔と返血用の第2の内腔とが形成されている。第3の部材は、第1および第2の内腔のうちの一方の内腔における流体の第1および第2の方向の流れを制限する。
(【0011】以降は省略されています)
この特許をJ-PlatPat(特許庁公式サイト)で参照する
関連特許
ニプロ株式会社
針組立体
24日前
ニプロ株式会社
針組立体
1か月前
ニプロ株式会社
圧着鉗子
3か月前
ニプロ株式会社
薬液投与回路
1か月前
ニプロ株式会社
シミュレータ
3か月前
ニプロ株式会社
抗酸化酵素産生促進装置
24日前
ニプロ株式会社
RSTL表示プログラムおよび装置
2か月前
ニプロ株式会社
気管チューブ挿管補助用のスタイレット
8日前
ニプロ株式会社
カテーテルおよびカテーテルの製造方法
1か月前
ニプロ株式会社
医療用送液チャンバ及びチューブセット
2か月前
ニプロ株式会社
シリンジポンプおよび組立て不良の判定方法
1か月前
ニプロ株式会社
健康管理システム、及びコンピュータプログラム
1か月前
ニプロ株式会社
シース、スタイレットおよび胚移植用カテーテル挿入キット
3か月前
ニプロ株式会社
体組織穿孔デバイス
1か月前
ニプロ株式会社
整形手技トレーニング装置および骨格モデル
14日前
リバテープ製薬株式会社
医療用ドレッシング材
1か月前
国立研究開発法人産業技術総合研究所
改変線維芽細胞増殖因子キメラタンパク質およびその利用
1か月前
個人
教育のAI化
21日前
個人
英語教材
1か月前
日本精機株式会社
表示装置
24日前
個人
計算用教具
2か月前
日本精機株式会社
車両用表示装置
1か月前
個人
インフィニティミラー
22日前
日本精機株式会社
車両用センサ装置
2か月前
個人
微細構造を模した理科学習教材
1か月前
日榮新化株式会社
対象物質感知シート
21日前
ニチレイマグネット株式会社
サイン器具
1か月前
株式会社ウメラボ
学習支援システム
1か月前
株式会社ウメラボ
学習支援システム
1か月前
日本精機株式会社
表示装置及びその製造方法
24日前
朝日インテック株式会社
ラベルシート
1か月前
株式会社イリオスNOTO
シート保管具
1か月前
朝日インテック株式会社
生体モデル装置
24日前
リンテック株式会社
表示体
1か月前
シャープ株式会社
表示装置
1か月前
国立大学法人秋田大学
運転シミュレータ
1か月前
続きを見る
他の特許を見る