TOP
|
特許
|
意匠
|
商標
特許ウォッチ
Twitter
他の特許を見る
公開番号
2025171669
公報種別
公開特許公報(A)
公開日
2025-11-20
出願番号
2024077249
出願日
2024-05-10
発明の名称
気管チューブ挿管補助用のスタイレット
出願人
ニプロ株式会社
,
国立大学法人鳥取大学
代理人
弁理士法人有古特許事務所
主分類
A61M
25/092 20060101AFI20251113BHJP(医学または獣医学;衛生学)
要約
【課題】 内挿された気管チューブの先端部を挿管手技中に曲げることができるスタイレットを提供する。
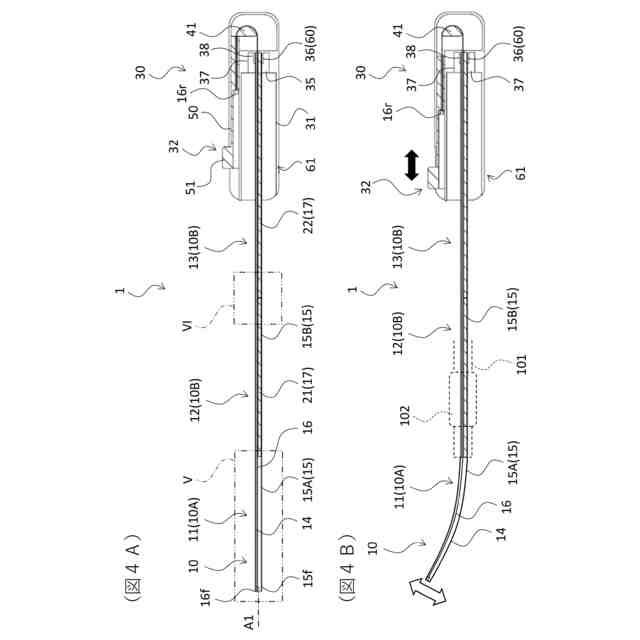
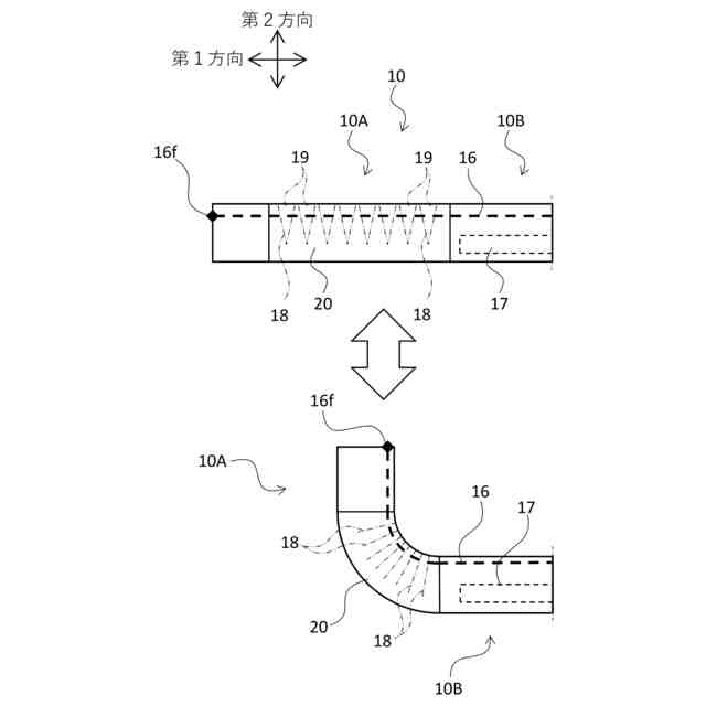
【解決手段】 スタイレットは、先端開口および基端開口を有する気管チューブに内挿して用いられるシャフト部と、前記シャフト部に設けられて前記シャフト部の形状を変更する操作を受け付ける操作器と、を備え、前記シャフト部は、前記基端開口から前記気管チューブに内挿したときに、前記先端開口から突出する先端側の突出部分と、前記気管チューブ内に位置する基端側の内挿部分と、を有し、前記突出部分は、前記操作器が操作されたときに前記内挿部分よりも変形しやすい変形容易部を有する。
【選択図】 図4
特許請求の範囲
【請求項1】
先端開口および基端開口を有する気管チューブに内挿して用いられるシャフト部と、前記シャフト部に設けられて前記シャフト部の形状を変更する操作を受け付ける操作器と、を備え、
前記シャフト部は、前記基端開口から前記気管チューブに内挿したときに、前記先端開口から突出する先端側の突出部分と、前記気管チューブ内に位置する基端側の内挿部分と、を有し、
前記突出部分は、前記操作器が操作されたときに前記内挿部分よりも変形しやすい変形容易部を有する、
気管チューブ挿管補助用のスタイレット。
続きを表示(約 560 文字)
【請求項2】
前記内挿部分は、先端側内挿部分と、前記先端側内挿部分よりも基端側にあって前記先端側内挿部分よりも剛性が高い基端側内挿部分と、を有する、
請求項1に記載の気管チューブ挿管補助用のスタイレット。
【請求項3】
前記内挿部分は、前記先端側内挿部分に設けられた先端側軸部材と、前記基端側内挿部分に設けられて前記先端側軸部材よりも剛性の高い基端側軸部材と、前記先端側軸部材および前記基端側軸部材を被覆する被覆チューブと、を有し、
前記先端側軸部材の基端部と前記基端側軸部材の先端部とは互いに固定して接続されている、
請求項2に記載の気管チューブ挿管補助用のスタイレット。
【請求項4】
前記操作器は、前記シャフトの基端部を支持する支持部と、前記支持部よりも前記シャフトに沿って先端側に位置する把持部と、前記把持部に設けられて前記突出部分を変形させる操作を受け付ける操作部と、を有する、
請求項1に記載の気管チューブ挿管補助用のスタイレット。
【請求項5】
前記操作器は、前記シャフトが内挿された前記気管チューブの基端部を、取り外し自在に固定する固定部を有する、
請求項1に記載の気管チューブ挿管補助用のスタイレット。
発明の詳細な説明
【技術分野】
【0001】
本開示は、気管チューブを挿入するときに補助的に用いられるスタイレットに関する。
続きを表示(約 1,800 文字)
【背景技術】
【0002】
医療の現場では、例えば全身麻酔時、救急蘇生時、あるいは人工呼吸前に、気道を確保するために気管チューブが患者の気管に挿入される。気管チューブは、先端および基端が開口した可撓性チューブを有し、その先端近傍には膨縮可能なカフが設けられている。このような気管チューブは患者の口から気管へ挿入され、カフを声門よりも奥に位置させた状態でこれにエアを供給して膨張させる。これにより、患者の肺は可撓性チューブの内部空間を介して外部と連通する一方、可撓性チューブの外方において気道はカフにより閉塞される(埋められる)。そして、この状態で可撓性チューブの基端の開口に人工呼吸器を接続することで患者の呼吸が管理される。
【0003】
また、人の声門は気管と咽頭をつなぐ喉頭にあり、喉頭は声門を境にして外に近い声門上部と外から遠い(肺に近い)声門下部とに分けられる。そして、声門上部には喉頭蓋がある。そのため、気管チューブを挿入する手技においては、喉頭蓋を経てさらに声門の奥へ、チューブの先端を導く必要がある。このように、気管チューブは口から喉頭へ通され、喉頭では喉頭蓋および声門を順に通される。しかしながら、口から喉頭の声門に至るまでの気管の形状は、人や姿勢によって様々であって一般的に途中で湾曲している。従って、気管チューブを気管に挿入しやすくするために、気管チューブを湾曲させておく手段としてスタイレットが用いられている(特許文献1,2参照)。
【先行技術文献】
【特許文献】
【0004】
特表2006-527027号公報
特表平07-505317号公報
【発明の概要】
【発明が解決しようとする課題】
【0005】
特許文献1に記載のスタイレットは、銅などの金属製でありフレキシブル性を有する棒により構成されている。従って、スタイレットを挿入した気管チューブを、挿管前に患者の気管形状に合わせて湾曲させておくことができる。これにより、円滑な挿管が期待される。
【0006】
しかしながら、患者の気管形状を事前に正確に把握するのは容易ではない。そのため、気管チューブを気管に挿入している最中に、スタイレットの形状を変えたい場合がある。その場合には、気管から気管チューブを抜き出し、これを曲げなおし、そして再び挿入することになる。しかしながら、このような挿入の繰り返しは、緊急を要する治療において貴重な時間をロスすることになり、患者にとっても大きな負担となる。使用者からすれば、気管チューブを気管内に挿入する操作性が良いとは言えない。
【0007】
この点、特許文献2に記載のスタイレットは、可撓性部材(14)および固定長フィラメント(20)を備え、気管チューブに挿入された状態で手元を操作することにより可撓性部材(14)の湾曲形状を変更できる。
【0008】
しかし、特許文献2のスタイレットは、気管チューブに可撓性部材(14)の全体が挿入された状態で、当該可撓性部材(14)を全体的に曲げて気管チューブを湾曲させる構成である。一方、気管チューブは、カテーテルなどに比べると剛性が高くて曲げにくい。そのため、スタイレットの形状を変えるためには大きな力を要し、また、変えることができても気管チューブが干渉するので変形の自由度は高くなく、気管内に気管チューブを挿入するのに難がある。
【0009】
そこで本開示は、気管チューブを容易に気管内に挿入することができるスタイレットを提供することを目的とする。
【課題を解決するための手段】
【0010】
本開示の第1の態様に係る気管チューブ挿管補助用のスタイレットは、先端開口および基端開口を有する気管チューブに内挿して用いられるシャフト部と、前記シャフト部に設けられて前記シャフト部の形状を変更する操作を受け付ける操作器と、を備え、前記シャフト部は、前記基端開口から前記気管チューブに内挿したときに、前記先端開口から突出する先端側の突出部分と、前記気管チューブ内に位置する基端側の内挿部分と、を有し、前記突出部分は、前記操作器が操作されたときに前記内挿部分よりも変形しやすい変形容易部を有する。
(【0011】以降は省略されています)
この特許をJ-PlatPat(特許庁公式サイト)で参照する
関連特許
ニプロ株式会社
針組立体
24日前
ニプロ株式会社
針組立体
1か月前
ニプロ株式会社
薬液投与回路
1か月前
ニプロ株式会社
抗酸化酵素産生促進装置
24日前
ニプロ株式会社
RSTL表示プログラムおよび装置
2か月前
ニプロ株式会社
気管チューブ挿管補助用のスタイレット
8日前
ニプロ株式会社
カテーテルおよびカテーテルの製造方法
1か月前
ニプロ株式会社
シリンジポンプおよび組立て不良の判定方法
1か月前
ニプロ株式会社
健康管理システム、及びコンピュータプログラム
1か月前
ニプロ株式会社
体組織穿孔デバイス
1か月前
ニプロ株式会社
整形手技トレーニング装置および骨格モデル
14日前
国立研究開発法人産業技術総合研究所
改変線維芽細胞増殖因子キメラタンパク質およびその利用
1か月前
リバテープ製薬株式会社
医療用ドレッシング材
1か月前
個人
貼付剤
1か月前
個人
簡易担架
14日前
個人
短下肢装具
4か月前
個人
腋臭防止剤
14日前
個人
足踏み器具
21日前
個人
排尿補助器具
1か月前
個人
前腕誘導装置
4か月前
個人
洗井間専家。
8か月前
個人
嚥下鍛錬装置
4か月前
個人
バッグ式オムツ
5か月前
個人
ウォート指圧法
1か月前
個人
ホバーアイロン
7か月前
個人
歯の修復用材料
5か月前
個人
矯正椅子
6か月前
個人
アイマスク装置
3か月前
個人
腰ベルト
1か月前
個人
胸骨圧迫補助具
2か月前
個人
汚れ防止シート
2か月前
個人
哺乳瓶冷まし容器
4か月前
個人
美容セット
23日前
個人
排尿排便補助器具
16日前
個人
歯の保護用シール
6か月前
個人
シャンプー
7か月前
続きを見る
他の特許を見る