TOP
|
特許
|
意匠
|
商標
特許ウォッチ
Twitter
他の特許を見る
10個以上の画像は省略されています。
公開番号
2025151260
公報種別
公開特許公報(A)
公開日
2025-10-09
出願番号
2024052591
出願日
2024-03-27
発明の名称
健康管理システム、及びコンピュータプログラム
出願人
ニプロ株式会社
代理人
弁理士法人イノベンティア
主分類
G16H
10/00 20180101AFI20251002BHJP(特定の用途分野に特に適合した情報通信技術)
要約
【課題】FODMAPなどの、料理に含まれる食材ごとの栄養素に関する指標が精度よく得られる健康管理システムを提供する。
【解決手段】健康管理システム100は、料理に関する情報を入力する第1の入力部(カメラ35)と、プロセッサ31と、食材ごとの栄養素情報として、食材のFODMAP量に関する指標を記憶しているメモリ12と、を備える。プロセッサは、料理に関する情報から、料理に含まれる食材を識別し、メモリを参照して、料理に含まれる食材のFODMAP量に関する指標を決定する、ように構成されている。
【選択図】図1
特許請求の範囲
【請求項1】
料理に関する情報を入力する第1の入力部と、
プロセッサと、
食材ごとの栄養素情報として、前記食材のFODMAP量に関する指標を記憶しているメモリと、を備え、
前記プロセッサは、
前記料理に関する情報から、前記料理に含まれる食材を識別し、
前記メモリを参照して、前記料理に含まれる食材の前記FODMAP量に関する指標を決定する、ように構成されている
健康管理システム。
続きを表示(約 1,200 文字)
【請求項2】
ユーザ操作を受け付ける操作部をさらに備え、
前記プロセッサは、さらに、前記ユーザ操作に従って、前記料理に関する情報から識別した前記料理に含まれる食材を変更する、ように構成され、
前記FODMAP量に関する指標を決定することは、変更した前記料理に含まれる食材の前記FODMAP量に関する指標を決定する、ことを含む
請求項1に記載の健康管理システム。
【請求項3】
料理に関する情報を入力する第1の入力部と、
ユーザ操作を受け付ける操作部と、
プロセッサと、
食材ごとの栄養素情報として、前記食材の栄養素に関する指標を記憶しているメモリと、を備え、
前記プロセッサは、
前記料理に関する情報から、前記料理に含まれる食材を識別し、
前記ユーザ操作に従って、前記料理に関する情報から識別した前記料理に含まれる食材を変更し、
前記メモリを参照して、変更した前記料理に含まれる食材の前記栄養素に関する指標を決定する、ように構成されている
健康管理システム。
【請求項4】
前記プロセッサは、さらに、識別した前記料理に含まれる食材を提示する、ように構成されており、
前記ユーザ操作は、提示された前記食材を変更する操作である
請求項2又は3に記載の健康管理システム。
【請求項5】
前記栄養素はFODMAP量である
請求項3に記載の健康管理システム。
【請求項6】
前記ユーザの体調に関する情報を入力する第2の入力部をさらに備え、
前記プロセッサは、さらに、前記指標に前記体調に関する情報を関連付ける、ように構成されている
請求項1又は3に記載の健康管理システム。
【請求項7】
前記体調に関する情報は、消化系器官の状態を表す情報、心理状態を表す情報、及び疾患を表す情報、のうちの少なくとも1つを含む
請求項6に記載の健康管理システム。
【請求項8】
出力装置をさらに備え、
前記指標に前記体調に関する情報を関連付けることは、前記指標と前記体調に関する情報とを関連付けて前記出力装置に出力させる、ことを含む
請求項6に記載の健康管理システム。
【請求項9】
前記料理に関する情報は、前記料理の撮影画像を含む、
請求項1又は3に記載の健康管理システム。
【請求項10】
出力装置をさらに備え、
前記プロセッサは、さらに、決定した指標に関連する情報を前記料理の撮影画像とともに前記出力装置に出力させる、ように構成されている
請求項9に記載の健康管理システム。
(【請求項11】以降は省略されています)
発明の詳細な説明
【技術分野】
【0001】
本開示は、健康管理システム、及びコンピュータプログラムに関する。
続きを表示(約 2,100 文字)
【背景技術】
【0002】
特開2018-5720号公報(以下、特許文献1)のように、食事ごとに栄養成分を記憶しておき、食事から栄養成分を算出するシステムがある。
【先行技術文献】
【特許文献】
【0003】
特開2018-5720号公報
【発明の概要】
【0004】
FODMAPなどの栄養素は、料理に含まれる食材に依存している。FODMAPとは、Fermentable(発酵性のある)、Oligosaccharides(多糖類)、Disaccharides(二糖類)、Monosaccharides(単糖類)、And(及び)、Polyols(ポリオール:糖アルコール)の頭文字を示し、人体で消化吸収されない炭水化物の総称である。具体的には、単糖類の中のフルクトース、二糖類の中のラクトース、多糖類の中のオリゴ糖、デキストリン、及びフルクタン、糖アルコールであるキシリトール、ソルビトール、及び還元麦芽糖、並びに、食物繊維がFODMAPとなり得る。
【0005】
FODMAPは、人体において消化吸収されないため、腹痛や腹部膨満感や下痢を引き起こす場合がある。そのため、高FODMAPであるのか低FODMAPであるのかを把握したい、という要望が生じる。しかしながら、特許文献1のようなシステムは料理に含まれる個々の食材に着目するものでない。そのため、特許文献1のようなシステムのユーザは、料理の食材ごとに高FODMAPであるのか低FODMAPであるのかを正確に把握しにくい。FODMAPに限らず、例えばタンパク質、脂質、糖質、ビタミン、ミネラルなどの栄養素も食材に依存する。そのため、特許文献1のようなシステムを利用して栄養素を求める場合にも、ユーザは、栄養素を料理の食材ごとに正確に把握しにくい。そこで、FODMAPなどの、料理に含まれる食材ごとの栄養素に関する指標が精度よく得られる健康管理システム、及びコンピュータプログラムが求められる。
【0006】
ある実施の形態に従うと、健康管理システムは、料理に関する情報を入力する第1の入力部と、プロセッサと、食材ごとの栄養素情報として、食材のFODMAP量に関する指標を記憶しているメモリと、を備える。プロセッサは、料理に関する情報から、料理に含まれる食材を識別し、メモリを参照して、料理に含まれる食材のFODMAP量に関する指標を決定する、ように構成されている。
【0007】
ある実施の形態に従うと、健康管理システムは、料理に関する情報を入力する第1の入力部と、ユーザ操作を受け付ける操作部と、プロセッサと、食材ごとの栄養素情報として、食材の栄養素に関する指標を記憶しているメモリと、を備える。プロセッサは、料理に関する情報から料理に含まれる食材を識別し、ユーザ操作に従って、料理に関する情報から識別した料理に含まれる食材を変更し、メモリを参照して、変更した料理に含まれる食材の栄養素に関する指標を決定する、ように構成されている。
【0008】
更なる詳細は、後述の実施形態として説明される。
【図面の簡単な説明】
【0009】
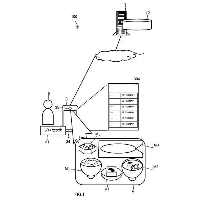
図1は、実施の形態に係る健康管理システムの概要を表した図である。
図2は、健康管理システムの概略構成図である。
図3は、料理情報データベース(以下、DB)の構成の具体例を表した図である。
図4は、FODMAP(フォドマップ)-DBの構成の具体例を表した図である。
図5は、ユーザ情報DBの構成の具体例を表した図である。
図6は、候補食材DBの構成の具体例を表した図である。
図7は、第1の実施の形態に係る健康管理システムでの処理の流れの一例を表したフローチャートである。
図8は、端末装置の表示画面、及び表示画面の遷移の一例を表した概略図である。
図9は、第2の実施の形態に係る健康管理システムでの処理の流れの一例を表したフローチャートである。
図10は、端末装置の表示画面の一例を表した概略図である。
図11は、端末装置の表示画面の一例を表した概略図である。
図12は、端末装置の表示画面の一例を表した概略図である。
図13は、端末装置の表示画面の一例を表した概略図である。
図14は、端末装置の表示画面の一例を表した概略図である。
【発明を実施するための形態】
【0010】
<1.健康管理システム、及びコンピュータプログラムの概要>
(1)実施の形態に係る健康管理システムは、料理に関する情報を入力する第1の入力部と、プロセッサと、食材ごとの栄養素情報として、食材のFODMAP量に関する指標を記憶しているメモリと、を備える。プロセッサは、料理に関する情報から、料理に含まれる食材を識別し、メモリを参照して、料理に含まれる食材のFODMAP量に関する指標を決定する、ように構成されている。
(【0011】以降は省略されています)
この特許をJ-PlatPat(特許庁公式サイト)で参照する
関連特許
ニプロ株式会社
圧着鉗子
1か月前
ニプロ株式会社
薬液投与回路
8日前
ニプロ株式会社
シミュレータ
1か月前
ニプロ株式会社
RSTL表示プログラムおよび装置
12日前
ニプロ株式会社
医療用送液チャンバ及びチューブセット
15日前
ニプロ株式会社
シリンジポンプおよび組立て不良の判定方法
4日前
ニプロ株式会社
健康管理システム、及びコンピュータプログラム
2日前
ニプロ株式会社
シース、スタイレットおよび胚移植用カテーテル挿入キット
1か月前
ニプロ株式会社
体組織穿孔デバイス
8日前
リバテープ製薬株式会社
医療用ドレッシング材
11日前
個人
支援システム
4か月前
個人
医療のAI化
1か月前
個人
管理装置
4か月前
個人
対話システム
4か月前
個人
通知ぬいぐるみAIシステム
1か月前
個人
情報システムおよび方法
6か月前
株式会社タカゾノ
薬剤秤量装置
2か月前
株式会社タカゾノ
薬剤秤量装置
2か月前
株式会社タカゾノ
薬剤秤量装置
2か月前
株式会社タカゾノ
薬剤秤量装置
2か月前
株式会社タカゾノ
薬剤秤量装置
2か月前
株式会社タカゾノ
薬剤秤量装置
4か月前
エムスリー株式会社
媒体
7か月前
株式会社リコー
投薬管理システム
1か月前
TOTO株式会社
健康管理システム
2日前
個人
診療の管理装置及び診療システム
2か月前
株式会社M-INT
情報処理システム
5か月前
ゾーン株式会社
コンピュータシステム
5か月前
株式会社サンクスネット
情報提供システム
4か月前
大王製紙株式会社
作業管理システム
6か月前
医療法人社団梅華会
医療の支援装置
8か月前
富士電機株式会社
食事管理システム
7か月前
株式会社CureApp
プログラム
3か月前
個人
透析医療に関する回答方法及びその装置
8か月前
株式会社 137
健康観察管理システム
4か月前
株式会社ミラボ
情報処理装置、及びプログラム
2か月前
続きを見る
他の特許を見る