TOP
|
特許
|
意匠
|
商標
特許ウォッチ
Twitter
他の特許を見る
10個以上の画像は省略されています。
公開番号
2025139270
公報種別
公開特許公報(A)
公開日
2025-09-26
出願番号
2024038107
出願日
2024-03-12
発明の名称
医療用送液チャンバ及びチューブセット
出願人
ニプロ株式会社
代理人
弁理士法人YKI国際特許事務所
主分類
A61M
5/14 20060101AFI20250918BHJP(医学または獣医学;衛生学)
要約
【課題】ハウジングの加圧操作時に、ハウジング内の液体が上流側に逆流する事態を低減する。
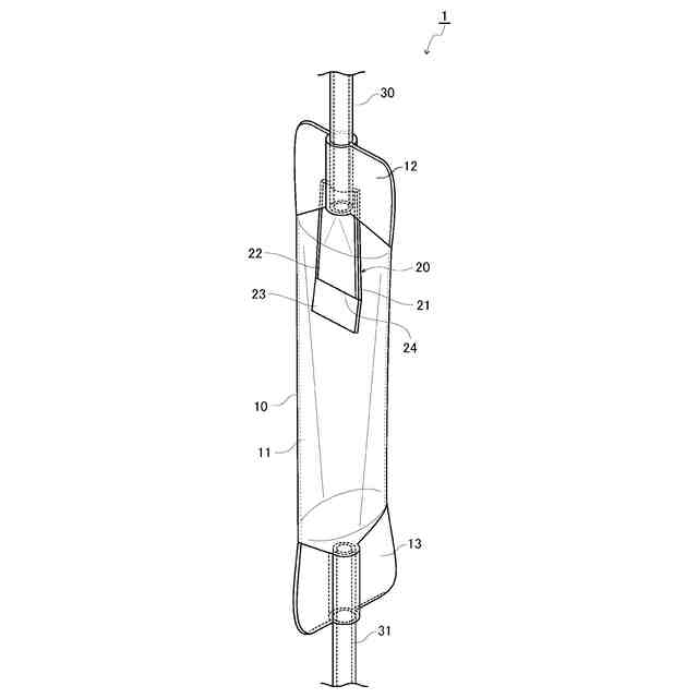
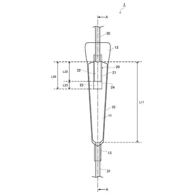
【解決手段】医療用送液チャンバ1は、弾性力を有し、内部空間11を有するハウジング10と、第1面及び第2面を有し、上流側がハウジング10に固定され、下流側がハウジング10の内部空間11に配置された可撓性のシート部20とを備える。シート部20は、第1面と第2面が重なり合いつつ、第1面及び第2面の幅方向両端部が接合されたシール部21を備えるシール領域22と、下流側端部に形成され、第1面及び第2面の幅方向両端部が接合されていない未シール領域23とを有する。シート部20は、上流から内部空間11に送液される液体を通過させる一方、内部空間11から上流に送液される液体の通過を防止する。
【選択図】図1
特許請求の範囲
【請求項1】
液体を上流から下流へ送液するための流路の途中に設けられる医療用送液チャンバであって、
弾性力を有し、内部に液体を貯留する内部空間を有するハウジングと、
第1面及び第2面を有し、上流側が前記ハウジングに固定されると共に、下流側が前記内部空間内に配置された可撓性のシート部と、
を備え、
前記シート部は、前記第1面と前記第2面が重なり合いつつ、前記第1面及び前記第2面の幅方向両端部が接合されたシール部を備えるシール領域と、下流側端部に形成され、前記第1面及び前記第2面の幅方向両端部が接合されていない未シール領域とを有し、
前記シート部は前記上流から前記内部空間に送液される液体を通過させる一方、前記内部空間から前記上流に送液される液体の通過を防止する、医療用送液チャンバ。
続きを表示(約 1,600 文字)
【請求項2】
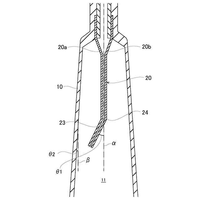
前記シート部は、前記シート部の幅方向に沿って屈曲するようにクセ付けされた屈曲部を有し、前記屈曲部を介して上下方向で角度が変わっている、請求項1に記載の医療用送液チャンバ。
【請求項3】
前記シート部の前記第1面は、全体的に下流側になるにつれて前記内部空間の内壁に接近している、請求項1に記載の医療用送液チャンバ。
【請求項4】
前記シール領域の幅方向両端部は、前記第1面と前記第2面が重なる方向の一方側に凸となるように折り曲げられている、請求項1に記載の医療用送液チャンバ。
【請求項5】
前記ハウジングは、
前記内部空間の上流側の開口を塞ぐ平坦な上流側溶着部と、
前記内部空間の下流側の開口を塞ぐ平坦な下流側溶着部と、
を備え、
前記上流側溶着部の溶着面及び前記シート部の前記第1面と前記第2面は、前記下流側溶着部の溶着面に対して交差している、請求項1に記載の医療用送液チャンバ。
【請求項6】
前記ハウジングは、前記内部空間の上流側の開口を塞ぐ平坦な上流側溶着部を備え、
前記上流側溶着部と前記内部空間との境界を規定する前記上流側溶着部の縁は、前記シート部側に向かって傾斜するハの字形状を形成する、請求項1に記載の医療用送液チャンバ。
【請求項7】
請求項1~6のいずれか1項に記載の医療用送液チャンバを備えたチューブセットであって、
前記ハウジングの下流側端部または前記ハウジングより下流側において、下流側から上流側への逆流を防止する逆流防止弁を備える、チューブセット。
【請求項8】
液体を上流から下流へ送液するための流路の途中に設けられる医療用送液チャンバであって、
弾性力を有し、内部に液体を貯留する内部空間を有するハウジングと、
第1面及び第2面を有し、上流側が前記ハウジングに固定され、下流側が前記内部空間内に配置された可撓性のシート部と、
を備え、
前記シート部は、前記第1面と前記第2面が重なり合いつつ、前記第1面及び前記第2面の幅方向両端部が接合されたシール領域を有し、
前記シート部は前記上流から前記内部空間に送液される液体を通過させる一方、前記内部空間から前記上流に送液される液体の通過を防止し、
前記ハウジングは、
前記内部空間の上流側の開口を塞ぐ平坦な上流側溶着部と、
前記内部空間の下流側の開口を塞ぐ平坦な下流側溶着部と、
を備え、
前記上流側溶着部の溶着面及び前記シート部の前記第1面と前記第2面は、前記下流側溶着部の溶着面に対して交差している、医療用送液チャンバ。
【請求項9】
液体を上流から下流へ送液するための流路の途中に設けられる医療用送液チャンバと、前記流路を構成する上流側の第1チューブと、前記流路を構成する下流側の第2チューブとを備えたチューブセットであって、
前記医療用送液チャンバは、
前記第1チューブと前記第2チューブの間に位置し、弾性力を有し、内部に液体を貯留する内部空間を有するハウジングと、
第1面及び第2面を有し、上流側が前記ハウジングに固定され、下流側が前記内部空間内に配置された可撓性のシート部と、
を備え、
前記シート部は、前記第1面と前記第2面が重なり合いつつ、前記第1面及び前記第2面の幅方向両端部が接合されたシール領域を有し、
前記シート部は前記第1チューブから前記内部空間に送液される液体を通過させる一方、前記内部空間から前記第1チューブに送液される液体の通過を防止し、
前記ハウジングの下流側端部または前記ハウジングより下流側において、下流側から上流側への逆流を防止する逆流防止弁を備える、チューブセット。
発明の詳細な説明
【技術分野】
【0001】
本発明は、医療用送液チャンバ及びチューブセットに関し、特に急速に送液を行う際の医療用送液チャンバ及びチューブセットに関する。
続きを表示(約 1,600 文字)
【背景技術】
【0002】
一般に、輸液及び輸血は、薬液や血液が封入されたバックに輸液(輸血)セットを接続し、薬液(血液)の自然落下により行われる。しかしながら、大血管手術や出血性ショック等の緊急時には、急速に血液を患者体内に輸血しなければならない場合がある。その際、ハンドポンプを使用して急速に輸血することが可能である。ハンドポンプによる急速輸血は、ハンドポンプを押した手を離すことで、ハンドポンプ内の陰圧により上流からハンドポンプ内に血液を流入させ、再度ハンドポンプを押すことで血液を下流に送る。これらの操作を繰り返すことで輸血を行う。
【0003】
緊急輸血に使用される輸血システムとしては、例えば、特許文献1に開示された急速輸液キットがあげられる。この急速輸液キットは、外圧の付加及び外圧の開放により駆動するポンプ部を輸液経路の途中に備え、このポンプ部により必要な速度で必要量の輸液を行う。
【先行技術文献】
【特許文献】
【0004】
登録実用新案第3005461号公報
【発明の概要】
【発明が解決しようとする課題】
【0005】
しかしながら、特許文献1に開示された急速輸液キットであっても、上述のようにポンプ部を押すことで輸血を行うため、ポンプ部に貯留された液体が上流側に逆流する問題がある。
【課題を解決するための手段】
【0006】
本発明にかかる医療用送液チャンバは、液体を上流から下流へ送液するための流路の途中に設けられる医療用送液チャンバであって、弾性力を有し、内部に液体を貯留する内部空間を有するハウジングと、第1面及び第2面を有し、上流側がハウジングに固定されると共に、下流側が内部空間内に配置された可撓性のシート部と、を備え、シート部は、第1面と第2面が重なり合いつつ、第1面及び第2面の幅方向両端部が接合されたシール部を備えるシール領域と、下流側端部に形成され、第1面及び第2面の幅方向両端部が接合されていない未シール領域とを有し、シート部は、上流から内部空間に送液される液体を通過させる一方、内部空間から上流に送液される液体の通過を防止することを特徴とする。
【0007】
上記構成によれば、ハウジングが外部から押圧されて、内部空間内の液体がシート部側にせり上がったとしても、可撓性のシート部が内部空間内で自由に変形して圧力を受け流すため、第1面と第2面の間が容易に開かない。一方、シート部の上流側はハウジングに固定されているため、上流からの液体が重なり合ったシートを開かせて、内部空間内への液体を通過させる。また、下流側端部には未シール領域が形成されていることで、下流側端部におけるシート部の剛性が相対的に低くされており、このため、外力に対してシート部の先端側が屈曲しやすく、圧力を受け流しやすくする。また、シート部が屈曲した場合、屈曲によりシート部の流路が部分的に閉塞するので、シート部内側(第1面と第2面の間)に液体をより侵入しにくくすることができ、効果的に逆流防止が可能である。
【0008】
本発明にかかる医療用送液チャンバにおいて、シート部は、シート部の幅方向に沿って屈曲するようクセ付けされた屈曲部を有し、屈曲部を介して上下方向で角度が変わっていてもよい。
【0009】
上記構成によれば、屈曲部によりシート部の流路が閉塞しやすい。また、シート部の開口端が液面と対向しにくく、せり上がった液面等の外力が第1面と第2面との間を開かせる事態を低減することができ、より効果的に逆流防止が可能である。
【0010】
本発明にかかる医療用送液チャンバにおいて、シート部における第1面は全体的に、下流側になるにつれて内部空間の内壁に接近していてもよい。
(【0011】以降は省略されています)
この特許をJ-PlatPat(特許庁公式サイト)で参照する
関連特許
ニプロ株式会社
針組立体
24日前
ニプロ株式会社
針組立体
1か月前
ニプロ株式会社
圧着鉗子
3か月前
ニプロ株式会社
薬液投与回路
1か月前
ニプロ株式会社
シミュレータ
3か月前
ニプロ株式会社
抗酸化酵素産生促進装置
24日前
ニプロ株式会社
RSTL表示プログラムおよび装置
2か月前
ニプロ株式会社
気管チューブ挿管補助用のスタイレット
8日前
ニプロ株式会社
カテーテルおよびカテーテルの製造方法
1か月前
ニプロ株式会社
医療用送液チャンバ及びチューブセット
2か月前
ニプロ株式会社
シリンジポンプおよび組立て不良の判定方法
1か月前
ニプロ株式会社
健康管理システム、及びコンピュータプログラム
1か月前
ニプロ株式会社
シース、スタイレットおよび胚移植用カテーテル挿入キット
3か月前
ニプロ株式会社
体組織穿孔デバイス
1か月前
ニプロ株式会社
整形手技トレーニング装置および骨格モデル
14日前
リバテープ製薬株式会社
医療用ドレッシング材
1か月前
国立研究開発法人産業技術総合研究所
改変線維芽細胞増殖因子キメラタンパク質およびその利用
1か月前
個人
貼付剤
1か月前
個人
健康器具
9か月前
個人
簡易担架
14日前
個人
腋臭防止剤
14日前
個人
足踏み器具
21日前
個人
短下肢装具
4か月前
個人
鼾防止用具
9か月前
個人
嚥下鍛錬装置
4か月前
個人
脈波測定方法
9か月前
個人
白内障治療法
8か月前
個人
脈波測定方法
9か月前
個人
前腕誘導装置
4か月前
個人
洗井間専家。
8か月前
個人
排尿補助器具
1か月前
個人
バッグ式オムツ
5か月前
個人
汚れ防止シート
2か月前
個人
ウォート指圧法
1か月前
個人
歯の修復用材料
5か月前
個人
矯正椅子
6か月前
続きを見る
他の特許を見る