TOP
|
特許
|
意匠
|
商標
特許ウォッチ
Twitter
他の特許を見る
10個以上の画像は省略されています。
公開番号
2025176703
公報種別
公開特許公報(A)
公開日
2025-12-04
出願番号
2025083583
出願日
2025-05-19
発明の名称
表示システム
出願人
株式会社ジャパンディスプレイ
代理人
弁理士法人酒井国際特許事務所
主分類
G09F
9/00 20060101AFI20251127BHJP(教育;暗号方法;表示;広告;シール)
要約
【課題】表示画像の視認性を高め、表示画像のコントラストを向上させることができる表示システムを提供する。
【解決手段】表示システムは、基板上にマトリクス状に並ぶ複数の画素を有する表示装置と、表示装置を覆い、かつ半透過層と半透過層に設けられた複数の開口部を有する表面層と、を備え、複数の画素は、半透過層と重畳して設けられる画素と、開口部と重畳して設けられる画素とを含む。
【選択図】図4
特許請求の範囲
【請求項1】
基板上にマトリクス状に並ぶ複数の画素を有する表示装置と、
前記表示装置を覆い、かつ半透過層と、前記半透過層に設けられた複数の開口部を有する表面層と、
を備え、
前記複数の画素は、前記半透過層と重畳して設けられる画素と、前記開口部と重畳して設けられる画素とを含む、
表示システム。
続きを表示(約 640 文字)
【請求項2】
前記開口部の直径は、50μm以上100μm以下である、
請求項1に記載の表示システム。
【請求項3】
複数の前記開口部の配置ピッチは、100μm以上200μm以下である、
請求項2に記載の表示システム。
【請求項4】
前記開口部の解像度は、100dpi以上250dpi以下である、
請求項3に記載の表示システム。
【請求項5】
前記複数の開口部は、平面視で正方格子状、斜方格子状または矩形格子状のいずれか一つに配置される、
請求項4に記載の表示システム。
【請求項6】
前記開口部の形状は、断面視で矩形形状である、
請求項5に記載の表示システム。
【請求項7】
前記開口部の形状は、断面視でテーパ形状である、
請求項5に記載の表示システム。
【請求項8】
前記表示装置の垂直方向と、前記開口部の側面とがなす角度の最大値は、14度である、
請求項7に記載の表示システム。
【請求項9】
前記開口部を保護する保護膜をさらに備え、
前記複数の開口部は、前記保護膜で満たされている、
請求項6に記載の表示システム。
【請求項10】
前記表面層の外周面は、前記保護膜に覆われている、
請求項9に記載の表示システム。
(【請求項11】以降は省略されています)
発明の詳細な説明
【技術分野】
【0001】
本開示は、表示システムに関する。
続きを表示(約 2,000 文字)
【背景技術】
【0002】
近年、天然木材等で生成された突板を表示パネルの上に配置したタッチセンサ付き操作表示パネル組込物品が知られている(例えば、特許文献1参照)。特許文献1において、突板は、操作表示パネル組込物品の外表面に位置し、LED光源のアレイは物品内部に位置する。LED光源のアレイから発せられる光で構成される文字や図柄は、突板を通して視認できる。
【0003】
特許文献2において、複数の無機発光体は、それぞれ表面層に設けられた複数の透過部のそれぞれと重畳して設けられる。このため、表示装置の無機発光体を点灯させた場合、無機発光体からの光が、無機発光体の上方向側に対向する透過部を透過して、表示装置の外部に向けて照射される。
【先行技術文献】
【特許文献】
【0004】
国際公開第2019/082399号
特開2021-39281号公報
【発明の概要】
【発明が解決しようとする課題】
【0005】
特許文献1の操作表示パネル組込物品では、突板を通して視認できるLED光源の光で構成される文字や図柄の表示画像は、表示状態において解像度が低下し、表示画像がぼやけてしまう可能性がある。このため、特許文献1の文字や図柄の表示画像は、LEDの点灯状態を単にドットとして表現して伝達する解像度に欠けた用途に限られてしまう。
【0006】
特許文献2では、特許文献1と比較して、LED光源からの光を、透過部を通して外部に出射できるため、はっきりと表示画像を識別できるようになる。しかしながら、特許文献2の技術においても、解像度を向上させようとすると、透過部の数を増やす必要がある。特許文献2では、透過部の数を抑制しつつ、突板の表面の模様に対して表示画像のコントラストを向上させることが求められている。
【0007】
本開示は、表示画像の視認性を高め、表示画像のコントラストを向上させることができる表示システムを提供することを目的とする。
【課題を解決するための手段】
【0008】
本開示の一態様の表示システムは、基板上にマトリクス状に並ぶ複数の画素を有する表示装置と、前記表示装置を覆い、かつ半透過層と、前記半透過層に設けられた複数の開口部を有する表面層と、を備え、前記複数の画素は、前記半透過層と重畳して設けられる画素と、前記開口部と重畳して設けられる画素とを含む。
【図面の簡単な説明】
【0009】
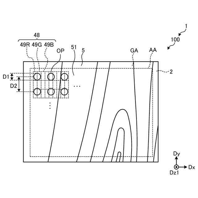
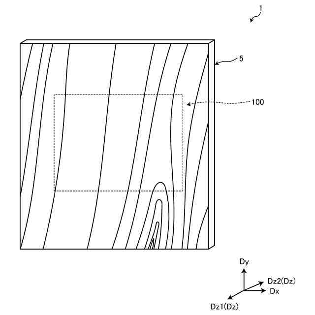
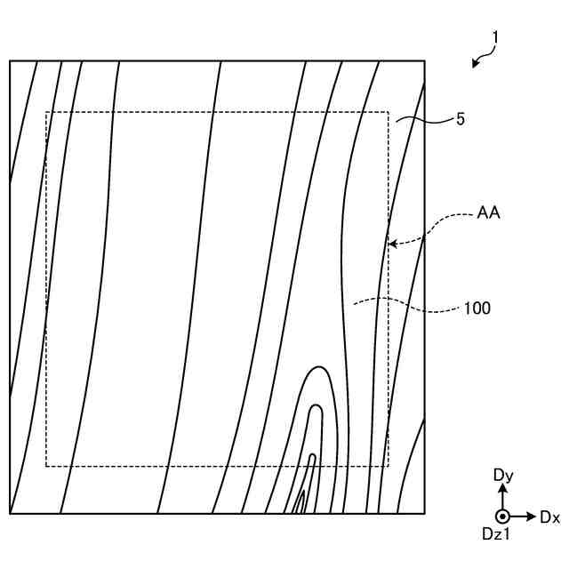
図1は、本実施形態に係る表示システムの模式図である。
図2は、本実施形態に係る表示装置の模式的な平面図である。
図3は、実施形態1の表示装置の主要構成例を示す図である。
図4は、実施形態1の表示パネルの画素配列の一例を示す図である。
図5は、実施形態1に係る表示システムの模式的な一部断面図である。
図6は、表示装置が光を出射していない場合の表示システムの外観を示した模式図である。
図7は、表示装置が光を出射している場合の表示システムの外観を示した模式図である。
図8は、実施形態1の第1変形例に係る表示システムの模式的な一部断面図である。
図9は、実施形態1の第2変形例に係る表示システムの模式的な一部断面図である。
図10は、実施形態2に係る表示システムの模式的な一部断面図である。
図11は、実施形態2の第1変形例に係る表示システムの模式的な一部断面図である。
図12は、実施形態2の第2変形例に係る表示システムの模式的な一部断面図である。
図13は、実施形態3に係る表示システムの模式的な一部断面図である。
図14は、実施形態3の変形例に係る表示システムの模式的な一部断面図である。
【発明を実施するための形態】
【0010】
発明を実施するための形態(実施形態)につき、図面を参照しつつ詳細に説明する。以下の実施形態に記載した内容により本開示が限定されるものではない。また、以下に記載した構成要素には、当業者が容易に想定できるもの、実質的に同一のものが含まれる。さらに、以下に記載した構成要素は適宜組み合わせることが可能である。なお、開示はあくまで一例にすぎず、当業者において、発明の主旨を保っての適宜変更について容易に想到し得るものについては、当然に本開示の範囲に含有されるものである。また、図面は説明をより明確にするため、実際の態様に比べ、各部の幅、厚さ、形状等について模式的に表される場合があるが、あくまで一例であって、本開示の解釈を限定するものではない。また、本明細書と各図において、既出の図に関して前述したものと同様の要素には、同一の符号を付して、詳細な説明を適宜省略することがある。
(【0011】以降は省略されています)
この特許をJ-PlatPat(特許庁公式サイト)で参照する
関連特許
個人
教育のAI化
29日前
個人
英語教材
1か月前
日本精機株式会社
表示装置
1か月前
日本精機株式会社
表示装置
2か月前
個人
計算用教具
2か月前
中国電力株式会社
標示旗
2か月前
日本精機株式会社
車両用表示装置
1か月前
個人
インフィニティミラー
1か月前
個人
微細構造を模した理科学習教材
1か月前
個人
モデルで薔薇の花嫁様を描く為
2か月前
日本精機株式会社
車両用センサ装置
2か月前
日榮新化株式会社
対象物質感知シート
29日前
シャープ株式会社
表示装置
2か月前
ニチレイマグネット株式会社
サイン器具
1か月前
株式会社ウメラボ
学習支援システム
2か月前
株式会社ウメラボ
学習支援システム
1か月前
日本精機株式会社
表示装置及びその製造方法
1か月前
ニチレイマグネット株式会社
磁着式電飾装置
2か月前
朝日インテック株式会社
ラベルシート
1か月前
シャープ株式会社
表示装置
1か月前
朝日インテック株式会社
生体モデル装置
1か月前
リンテック株式会社
表示体
1か月前
株式会社イリオスNOTO
シート保管具
1か月前
株式会社リコー
画像投射システム
2か月前
学校法人関西医科大学
腹腔鏡手術訓練装置
2か月前
シチズンファインデバイス株式会社
液晶表示装置
2か月前
国立大学法人秋田大学
運転シミュレータ
1か月前
セイコーエプソン株式会社
表示方法
2か月前
ローム株式会社
半導体装置およびシステム
16日前
セイコーエプソン株式会社
表示方法
2か月前
リンテック株式会社
粘着ラベル
1か月前
キヤノン株式会社
表示装置
8日前
キヤノン株式会社
表示装置
8日前
キヤノン株式会社
発光装置
2か月前
ローム株式会社
暗号化装置
1か月前
TOPPANホールディングス株式会社
ラベル
2か月前
続きを見る
他の特許を見る