TOP
|
特許
|
意匠
|
商標
特許ウォッチ
Twitter
他の特許を見る
10個以上の画像は省略されています。
公開番号
2025173123
公報種別
公開特許公報(A)
公開日
2025-11-27
出願番号
2024078531
出願日
2024-05-14
発明の名称
音声処理システム、音声処理方法、及び音声処理プログラム
出願人
シャープ株式会社
代理人
個人
,
個人
,
個人
主分類
H04M
3/56 20060101AFI20251119BHJP(電気通信技術)
要約
【課題】音声装置のユーザーごとに適切な音声を出力させることが可能な音声処理システム、音声処理方法、及び音声処理プログラムを提供する。
【解決手段】音声処理装置1において、取得処理部111は、複数のユーザー端末2のそれぞれからユーザーの発話音声に対応する複数の音声データを取得する。受付処理部113は、取得処理部111により取得される複数の音声データのうち第1音声データの調整要求を受け付ける。調整処理部114は、調整要求に応じて第1音声データに対して音声調整処理を実行する。出力処理部115は、音声調整処理が実行された調整後音声データと、複数の音声データのうち第1音声データを除いた第2音声データとを、調整要求の要求元である第1ユーザー端末2から出力させるとともに、複数の音声データを、複数の音声装置のうち第1ユーザー端末2を除いた第2ユーザー端末2から出力させる。
【選択図】図2
特許請求の範囲
【請求項1】
複数の音声装置のそれぞれからユーザーの発話音声に対応する複数の音声データを取得する取得処理部と、
前記取得処理部により取得される前記複数の音声データのうち第1音声データの調整要求を受け付ける受付処理部と、
前記調整要求に応じて前記第1音声データに対して音声調整処理を実行する調整処理部と、
前記音声調整処理が実行された調整後音声データと、前記複数の音声データのうち前記第1音声データを除いた第2音声データとを、前記調整要求の要求元である第1音声装置から出力させるとともに、前記複数の音声データを、前記複数の音声装置のうち前記第1音声装置を除いた第2音声装置から出力させる出力処理部と、
を備える音声処理システム。
続きを表示(約 1,300 文字)
【請求項2】
前記受付処理部は、前記第1音声装置のユーザーによる前記第1音声データの調整要求指示に応じて、前記第1音声データの調整要求を受け付ける、
請求項1に記載の音声処理システム。
【請求項3】
前記受付処理部は、前記第1音声装置が前記複数の音声データを解析して前記第1音声データの調整要求指示を出力した場合に、前記第1音声データの調整要求を受け付ける、
請求項1に記載の音声処理システム。
【請求項4】
前記出力処理部は、前記調整後音声データ及び前記第2音声データを合成した第1合成音声データを前記第1音声装置に出力し、前記複数の音声データを合成した第2合成音声データを前記第2音声装置に出力する、
請求項1に記載の音声処理システム。
【請求項5】
前記出力処理部は、前記第1合成音声データを第1チャネルで前記第1音声装置に出力し、前記第2合成音声データを第2チャネルで前記第2音声装置に出力する、
請求項4に記載の音声処理システム。
【請求項6】
前記第1音声装置に含まれる前記調整処理部は、前記第1音声データに対して前記音声調整処理を実行し、
前記第1音声装置に含まれる前記出力処理部は、前記調整後音声データ及び前記第2音声データを前記第1音声装置から出力させる、
請求項1に記載の音声処理システム。
【請求項7】
前記第1音声装置に含まれる前記調整処理部は、ゲイン調整及びノイズ除去を含む音声処理を実行する前の前記第1音声データに対して前記音声調整処理を実行する、
請求項6に記載の音声処理システム。
【請求項8】
前記出力処理部は、前記第1音声データ又は前記調整後音声データと前記第2音声データとを第1チャネルで前記第1音声装置に出力し、前記複数の音声データを合成した合成音声データを第2チャネルで前記第2音声装置に出力する、
請求項1に記載の音声処理システム。
【請求項9】
前記調整処理部は、音量調整、周波数調整、速度調整、翻訳、及びテキスト変換の少なくともいずれかを実行する、
請求項1~8のいずれかに記載の音声処理システム。
【請求項10】
複数の音声装置のそれぞれからユーザーの発話音声に対応する複数の音声データを取得することと、
前記複数の音声データのうち第1音声データの調整要求を受け付けることと、
前記調整要求に応じて前記第1音声データに対して音声調整処理を実行することと、
前記音声調整処理が実行された調整後音声データと、前記複数の音声データのうち前記第1音声データを除いた第2音声データとを、前記調整要求の要求元である第1音声装置から出力させるとともに、前記複数の音声データを、前記複数の音声装置のうち前記第1音声装置を除いた第2音声装置から出力させることと、
一又は複数のプロセッサーが実行する音声処理方法。
(【請求項11】以降は省略されています)
発明の詳細な説明
【技術分野】
【0001】
本開示は、複数のユーザーが個別に音声装置を使用して会話を行う際の音声を制御する技術に関する。
続きを表示(約 2,200 文字)
【背景技術】
【0002】
従来、複数のユーザーがそれぞれマイク及びスピーカーを備える音声装置を使用して会話を行うことが可能なシステムが知られている。また、前記会話において、音声の音量レベルを話者毎に自動的に調整する技術が知られている(例えば特許文献1参照)。
【先行技術文献】
【特許文献】
【0003】
特開2015-069136号公報
【発明の概要】
【発明が解決しようとする課題】
【0004】
しかし、従来の技術では、例えば特定のユーザーの音声だけが聞き取り難い場合に、当該ユーザーの音量を調整しようとすると、他のユーザーの音量も変化してしまう。このように、従来の技術では、ユーザーごとに適切な音声を出力させることが困難である。
【0005】
本開示の目的は、音声装置のユーザーごとに適切な音声を出力させることが可能な音声処理システム、音声処理方法、及び音声処理プログラムを提供することにある。
【課題を解決するための手段】
【0006】
本開示の一の態様に係る音声処理システムは、取得処理部と受付処理部と調整処理部と出力処理部とを備える。前記取得処理部は、複数の音声装置のそれぞれからユーザーの発話音声に対応する複数の音声データを取得する。前記受付処理部は、前記取得処理部により取得される前記複数の音声データのうち第1音声データの調整要求を受け付ける。前記調整処理部は、前記調整要求に応じて前記第1音声データに対して音声調整処理を実行する。前記出力処理部は、前記音声調整処理が実行された調整後音声データと、前記複数の音声データのうち前記第1音声データを除いた第2音声データとを、前記調整要求の要求元である第1音声装置から出力させるとともに、前記複数の音声データを、前記複数の音声装置のうち前記第1音声装置を除いた第2音声装置から出力させる。
【0007】
本開示の他の態様に係る音声処理方法は、複数の音声装置のそれぞれからユーザーの発話音声に対応する複数の音声データを取得することと、前記複数の音声データのうち第1音声データの調整要求を受け付けることと、前記調整要求に応じて前記第1音声データに対して音声調整処理を実行することと、前記音声調整処理が実行された調整後音声データと、前記複数の音声データのうち前記第1音声データを除いた第2音声データとを、前記調整要求の要求元である第1音声装置から出力させるとともに、前記複数の音声データを、前記複数の音声装置のうち前記第1音声装置を除いた第2音声装置から出力させることと、一又は複数のプロセッサーが実行する音声処理方法である。
【0008】
本開示の他の態様に係る音声処理プログラムは、複数の音声装置のそれぞれからユーザーの発話音声に対応する複数の音声データを取得することと、前記複数の音声データのうち第1音声データの調整要求を受け付けることと、前記調整要求に応じて前記第1音声データに対して音声調整処理を実行することと、前記音声調整処理が実行された調整後音声データと、前記複数の音声データのうち前記第1音声データを除いた第2音声データとを、前記調整要求の要求元である第1音声装置から出力させるとともに、前記複数の音声データを、前記複数の音声装置のうち前記第1音声装置を除いた第2音声装置から出力させることと、一又は複数のプロセッサーに実行させるための音声処理プログラムである。
【発明の効果】
【0009】
本開示によれば、音声装置のユーザーごとに適切な音声を出力させることが可能な音声処理システム、音声処理方法、及び音声処理プログラムを提供することできる。
【図面の簡単な説明】
【0010】
図1は、本開示の実施形態に係る音声処理システムの適用例を示す図である。
図2は、本開示の実施形態に係る音声処理システムの構成を示すブロック図である。
図3は、本開示の実施形態に係る音声処理システムの音声処理の具体例を示す図である。
図4は、本開示の実施形態に係る音声処理システムの音声処理の具体例を示す図である。
図5は、本開示の実施形態に係る音声処理システムの音声処理の具体例を示す図である。
図6は、本開示の実施形態に係る音声処理システムの音声処理の具体例を示す図である。
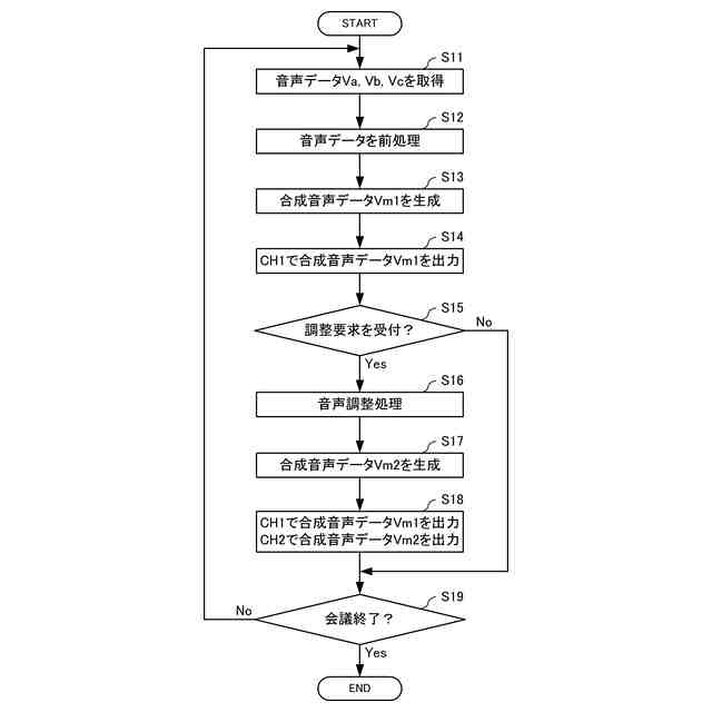
図7は、本開示の実施形態に係る音声処理装置において実行される音声制御処理の手順の一例を説明するためのフローチャートである。
図8は、本開示の変形例1に係る音声処理システムの音声処理の具体例を示す図である。
図9は、本開示の変形例1に係る音声処理装置において実行される音声制御処理の手順の一例を説明するためのフローチャートである。
図10は、本開示の変形例2に係る音声処理システムの音声処理の具体例を示す図である。
図11は、本開示の変形例2に係る音声処理装置において実行される音声制御処理の手順の一例を説明するためのフローチャートである。
【発明を実施するための形態】
(【0011】以降は省略されています)
この特許をJ-PlatPat(特許庁公式サイト)で参照する
関連特許
シャープ株式会社
送風機
21日前
シャープ株式会社
端末装置
1か月前
シャープ株式会社
筐体構造
1か月前
シャープ株式会社
通信端末
1か月前
シャープ株式会社
走行装置
1か月前
シャープ株式会社
照明装置
今日
シャープ株式会社
表示装置
21日前
シャープ株式会社
加熱機器
1か月前
シャープ株式会社
表示装置
1か月前
シャープ株式会社
表示装置
21日前
シャープ株式会社
通信装置
23日前
シャープ株式会社
端末装置
1か月前
シャープ株式会社
加熱調理器
8日前
シャープ株式会社
空気調和機
8日前
シャープ株式会社
空気調和機
8日前
シャープ株式会社
空気調和機
8日前
シャープ株式会社
加熱調理機
今日
シャープ株式会社
画像形成装置
1か月前
シャープ株式会社
画像形成装置
1か月前
シャープ株式会社
画像形成装置
16日前
シャープ株式会社
画像形成装置
2日前
シャープ株式会社
アンテナ装置
1か月前
シャープ株式会社
画像形成装置
1か月前
シャープ株式会社
画像形成装置
1か月前
シャープ株式会社
イオン発生装置
1か月前
シャープ株式会社
緩衝材及び梱包体
1か月前
シャープ株式会社
端末装置および通信方法
22日前
シャープ株式会社
端末装置および測定方法
1か月前
シャープ株式会社
端末装置および通信方法
8日前
シャープ株式会社
端末装置および通信方法
1か月前
シャープ株式会社
情報処理装置及び設定方法
1か月前
シャープ株式会社
決済システム及び決済方法
1か月前
シャープ株式会社
通信端末および水道メータ
2日前
シャープ株式会社
動画像符号化装置、復号装置
1か月前
シャープ株式会社
動画像符号化装置、復号装置
1か月前
シャープ株式会社
定着装置および画像形成装置
1日前
続きを見る
他の特許を見る