TOP
|
特許
|
意匠
|
商標
特許ウォッチ
Twitter
他の特許を見る
10個以上の画像は省略されています。
公開番号
2025177520
公報種別
公開特許公報(A)
公開日
2025-12-05
出願番号
2024084433
出願日
2024-05-24
発明の名称
フロー型金属空気電池用充電モジュール及びフロー型金属空気電池
出願人
シャープ株式会社
代理人
個人
,
個人
主分類
H01M
8/18 20060101AFI20251128BHJP(基本的電気素子)
要約
【課題】複数の充電セルが電気的に直列接続された場合でも正極液に溶解している金属イオンが還元されて金属粒子が析出することを抑制することができるフロー型金属空気電池用充電モジュール及びフロー型金属空気電池を提供する。
【解決手段】フロー型金属空気電池用充電モジュールは、電気的に直列接続された複数の充電セルと、前記複数の充電セルに供給され、第1の活物質イオン濃度を有する負極液と、前記複数の充電セルに供給され、前記第1の活物質イオン濃度より低い第2の活物質イオン濃度を有する正極液と、を備える。
【選択図】図8
特許請求の範囲
【請求項1】
電気的に直列接続された複数の充電セルと、
前記複数の充電セルに供給され、第1の活物質イオン濃度を有する負極液と、
前記複数の充電セルに供給され、前記第1の活物質イオン濃度より低い第2の活物質イオン濃度を有する正極液と、
を備えるフロー型金属空気電池用充電モジュール。
続きを表示(約 1,800 文字)
【請求項2】
前記複数の充電セルに含まれる各充電セルに、前記負極液が流れる負極室及び前記正極液が流れる正極室が形成され、
前記各充電セルは、前記負極室と前記正極室とを互いに隔て活物質イオンの透過を阻害するセパレータを備える
請求項1に記載のフロー型金属空気電池用充電モジュール。
【請求項3】
前記セパレータは、含水ゲル膜である
請求項2に記載のフロー型金属空気電池用充電モジュール。
【請求項4】
前記セパレータは、無機粒子及びポリマーからなる複合膜である
請求項2に記載のフロー型金属空気電池用充電モジュール。
【請求項5】
電気的に直列接続され、複数の正極室がそれぞれ形成された複数の充電セルと、
前記複数の充電セルに供給され、第1の活物質イオン濃度を有する負極液と、
前記複数の充電セルに供給され、前記複数の正極室を流れ、前記第1の活物質イオン濃度より低い第2の活物質イオン濃度を有する正極液と、
を備え、
前記複数の充電セルに渡って、前記複数の正極室と連通する正極液マニフォールドが形成され、
前記各充電セルは、負極と、前記負極と導通し前記正極液マニフォールドが貫通する負極通電板と、前記負極液が流れる負極室が形成され前記正極液マニフォールドが貫通する負極流路板と、を備え、
前記負極、前記負極通電板及び前記負極流路板が前記正極液マニフォールドから絶縁されている
フロー型金属空気電池用充電モジュール。
【請求項6】
前記各充電セルは、前記通電板と前記正極液マニフォールドとを互いに絶縁する絶縁材を備える
請求項5に記載のフロー型金属空気電池用充電モジュール。
【請求項7】
前記絶縁材は、筒状の形状を有する
請求項6に記載のフロー型金属空気電池用充電モジュール。
【請求項8】
前記負極通電板は、前記正極液マニフォールドを囲む孔内面を有し、
前記絶縁材は、前記孔内面に接する被膜である
請求項6に記載のフロー型金属空気電池用充電モジュール。
【請求項9】
前記複数の充電セルに、前記正極液が流れる複数の正極室がそれぞれ形成され、
前記複数の充電セルに渡って、前記複数の正極室と連通する正極液マニフォールドが形成され、
前記複数の充電セルは、
前記正極室及び第1の孔が形成され、前記正極液が前記正極室を流れ、前記第1の孔が第1の孔形状を有し前記正極液マニフォールドを構成する正極流路板と、
負極室及び第2の孔が形成され、前記負極液が前記負極室を流れ、前記第2の孔が第2の孔形状を有し前記正極液マニフォールドを構成する負極流路板と、
前記正極室に面する正極と、
前記負極室に面する負極と、
前記正極液マニフォールドを構成し前記第1の孔形状及び前記第2の孔形状より大きい第3の孔形状を有する第3の孔が形成され、前記正極流路板及び前記負極流路板にそれぞれ対向する第1の面及び第2の面を有し、前記正極及び前記負極と導通する通電板と、
前記第3の孔に配置され、前記正極液マニフォールドを構成する孔が形成され、前記正極流路板及び前記負極流路板にそれぞれ対向する第3の面及び第4の面を有する絶縁材と、
前記第1の面及び前記第3の面を覆う第1のガスケットと、
前記第2の面及び前記第4の面を覆う第2のガスケットと、
を備える
請求項1から8までのいずれかに記載のフロー型金属空気電池用充電モジュール。
【請求項10】
前記複数の充電セルに含まれる各充電セルに、前記正極液が流れる正極室が形成され、
前記複数の充電セルに渡って、前記複数の充電セルにそれぞれ形成される複数の正極室と連通する正極液マニフォールドが形成され、
前記各充電セルに、前記正極液マニフォールドから前記正極室に至る接続流路が形成され、
前記各充電セルは、前記接続流路に面し絶縁体からなる内壁を備える
請求項1から8までのいずれかに記載のフロー型金属空気電池用充電モジュール。
(【請求項11】以降は省略されています)
発明の詳細な説明
【技術分野】
【0001】
本開示は、フロー型金属空気電池用充電モジュール及びフロー型金属空気電池に関する。
続きを表示(約 2,500 文字)
【背景技術】
【0002】
特許文献1は、空気蓄電池を開示する。当該空気蓄電池においては、セパレータが、正極と負極とを隔離し、電解液を保持して正極と負極との間のイオン電導性を確保する。セパレータには、アニオン膜が用いられる(段落0048及び0050)。
【先行技術文献】
【特許文献】
【0003】
特許第6244174号公報
【発明の概要】
【発明が解決しようとする課題】
【0004】
フロー型金属空気電池においては、貯蔵部に負極液が貯蔵され、貯蔵部から充電用のセルを経由して貯蔵部まで負極液が流され、貯蔵部から放電用のセルを経由して貯蔵部まで負極液が流される。充電用のセルには、正極液も流される。充電用のセルにおいては、充電が行われる。放電用のセルにおいては、放電が行われる。
【0005】
フロー型金属空気電池において、複数の充電用のセルを電気的に直列接続することが要求される場合がある。しかし、複数の充電用のセルが電気的に直列接続された場合は、高電位側に位置する充電セルの電位と低電位側に位置する充電セルの電位との間の電位差が生じる。このため、正極液の流路内において、電解液に溶解している金属イオンが還元されて金属粒子が析出する電析反応が低電位側に位置する充電セルの付近で起こる場合がある。また、析出した金属粒子が正極液の流路を閉塞する、析出した金属粒子が隣接する充電セルに備えられる正極を互いに短絡させる電子伝導経路を形成する等の問題が発生する場合がある。
【0006】
本開示の一態様は、この問題に鑑みてなされた。本開示の一態様は、例えば、複数の充電セルが電気的に直列接続された場合でも正極液に溶解している金属イオンが還元されて金属粒子が析出することを抑制することができるフロー型金属空気電池用充電モジュール及びフロー型金属空気電池を提供することを目的とする。
【課題を解決するための手段】
【0007】
本開示の第1の態様のフロー型金属空気電池用充電モジュールは、電気的に直列接続された複数の充電セルと、前記複数の充電セルに供給され、第1の活物質イオン濃度を有する負極液と、前記複数の充電セルに供給され、前記第1の活物質イオン濃度より低い第2の活物質イオン濃度を有する正極液と、を備える。
【0008】
本開示の第2の態様のフロー型金属空気電池は、本開示の第1の態様のフロー型金属空気電池用充電モジュールを備える。
【図面の簡単な説明】
【0009】
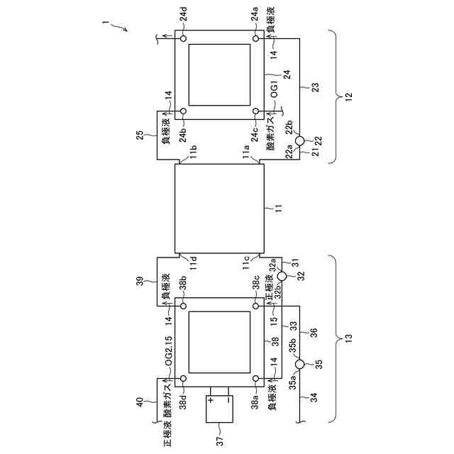
第1実施形態のフロー型金属空気電池を模式的に図示する図である。
第1実施形態のフロー型金属空気電池に備えられる放電モジュールに流れる負極液を模式的に図示する拡大断面図である。
第1実施形態のフロー型金属空気電池に備えられる充電モジュールに流れる負極液を模式的に図示する拡大断面図である。
第1実施形態のフロー型金属空気電池に備えられる充電モジュールに流れる正極液を模式的に図示する拡大断面図である。
第1実施形態のフロー型金属空気電池に備えられる充電モジュールを模式的に図示する斜視図である。
第1実施形態のフロー型金属空気電池に備えられる充電モジュールを模式的に図示する平面図である。
第1実施形態のフロー型金属空気電池に備えられる充電モジュールの、図6に描かれた切断線VII-VIIの位置における断面を模式的に図示する断面図である。
第1実施形態のフロー型金属空気電池に備えられる充電モジュールの、図6に描かれた切断線VIII-VIIIの位置における断面を模式的に図示する断面図である。
第1実施形態のフロー型金属空気電池に備えられる充電モジュールの負極通電板及び正極通電板を模式的に図示する平面図である。
第1実施形態のフロー型金属空気電池に備えられる充電モジュールの負極を模式的に図示する平面図である。
第1実施形態のフロー型金属空気電池に備えられる充電モジュールのガスケットを模式的に図示する平面図である。
第1実施形態のフロー型金属空気電池に備えられる充電モジュールの負極流路板を模式的に図示する平面図である。
第1実施形態のフロー型金属空気電池に備えられる充電モジュールのセパレータを模式的に図示する平面図である。
第1実施形態のフロー型金属空気電池に備えられる充電モジュールの正極流路板を模式的に図示する平面図である。
第1実施形態のフロー型金属空気電池に備えられる充電モジュールの正極を模式的に図示する平面図である。
参考例のフロー型金属空気電池に備えられる充電モジュールの断面を模式的に図示する断面図である。
第2実施形態のフロー型金属空気電池に備えられる充電モジュールを模式的に図示する斜視図である。
第2実施形態のフロー型金属空気電池に備えられる充電モジュールを模式的に図示する平面図である。
第2実施形態のフロー型金属空気電池に備えられる充電モジュールの、図18に描かれた切断線XIX-XIXの位置における断面を模式的に図示する断面図である。
第2実施形態のフロー型金属空気電池に備えられる充電モジュールの負極通電板及び絶縁体を模式的に図示する平面図である。
第2実施形態の変形例のフロー型金属空気電池に備えられる充電モジュールの負極通電板及び絶縁体を模式的に図示する平面図である。
第3実施形態のフロー型金属空気電池に備えられる正極流路板を模式的に図示する平面図である。
第3実施形態の変形例のフロー型金属空気電池に備えられる正極流路板の模式的に図示する斜視図である。
【発明を実施するための形態】
【0010】
以下、本開示の実施形態について、図面を参照しつつ説明する。なお、図面については、同一又は同等の要素には同一の符号を付し、重複する説明は省略する。
(【0011】以降は省略されています)
この特許をJ-PlatPat(特許庁公式サイト)で参照する
関連特許
日機装株式会社
加圧装置
2日前
日新イオン機器株式会社
イオン源
2日前
三菱電機株式会社
回路遮断器
25日前
株式会社GSユアサ
蓄電装置
17日前
富士電機株式会社
電磁接触器
17日前
株式会社GSユアサ
蓄電装置
1か月前
株式会社トクミ
ケーブル
3日前
個人
電源ボックス及び電子機器
2日前
トヨタ自動車株式会社
蓄電装置
9日前
大電株式会社
電線又はケーブル
9日前
日本特殊陶業株式会社
保持装置
1か月前
株式会社東芝
電子源
2日前
ホシデン株式会社
複合コネクタ
11日前
甲神電機株式会社
変流器及び零相変流器
1か月前
住友電装株式会社
コネクタ
17日前
矢崎総業株式会社
コネクタ
17日前
日本無線株式会社
レーダアンテナ
1か月前
株式会社レゾナック
冷却器
25日前
ヒロセ電機株式会社
電気コネクタ
17日前
ローム株式会社
半導体モジュール
18日前
日本特殊陶業株式会社
アンテナ装置
4日前
日本航空電子工業株式会社
コネクタ
1か月前
日本特殊陶業株式会社
アンテナ装置
4日前
富士電機株式会社
半導体モジュール
1か月前
矢崎総業株式会社
端子
9日前
株式会社デンソー
熱交換部材
1か月前
三菱電機株式会社
半導体装置
2日前
株式会社デンソー
半導体装置
17日前
株式会社パロマ
監視システム
9日前
トヨタ自動車株式会社
蓄電装置構造
3日前
日本航空電子工業株式会社
コネクタ
2日前
日本特殊陶業株式会社
アンテナ装置
4日前
矢崎総業株式会社
バスバー電線
10日前
株式会社興電舎
励磁突入電流抑制方法
2日前
新電元工業株式会社
半導体装置
17日前
TDK株式会社
電子部品
4日前
続きを見る
他の特許を見る