TOP
|
特許
|
意匠
|
商標
特許ウォッチ
Twitter
他の特許を見る
10個以上の画像は省略されています。
公開番号
2025158853
公報種別
公開特許公報(A)
公開日
2025-10-17
出願番号
2024061783
出願日
2024-04-05
発明の名称
誘導加熱調理装置
出願人
マクセルイズミ株式会社
代理人
個人
主分類
H05B
6/12 20060101AFI20251009BHJP(他に分類されない電気技術)
要約
【課題】 調理装置の電源であるバッテリーを装置と一体化することでコンパクト化を図れ、利便性を向上させられる、誘導加熱調理装置を提供する。
【解決手段】 筐体10の周側部のいずれかに着脱可能なバッテリー40を配設し、バッテリー40による電力供給可能状態で、筐体10とバッテリー40を別体でなく一体に取り扱えることから、使用者他の調理装置を取り扱う作業やそれに付帯する調理装置の周囲での行動に際して、バッテリーや接続ケーブル等が障害物になるようなことがなく、作業をスムーズ且つ安全に進められる。
【選択図】 図2
特許請求の範囲
【請求項1】
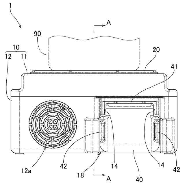
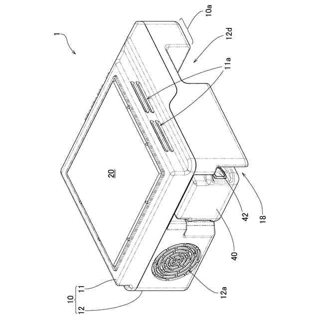
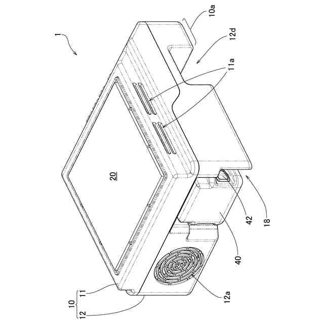
所定の被加熱物を収容した金属容器を誘導加熱により温度上昇させ、前記被加熱物を加熱する、誘導加熱調理装置において、
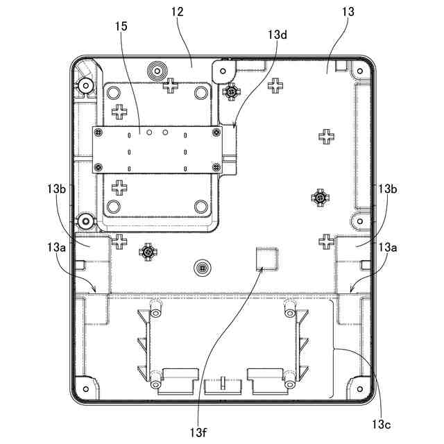
前記金属容器を支持可能な箱状の筐体と、
当該筐体に内蔵され、前記金属容器に対し誘導加熱を実行する誘導加熱コイルと、
前記筐体に内蔵され、前記誘導加熱コイルの電流を制御する制御部と、
当該制御部を通じて前記誘導加熱コイルに電力供給を行うバッテリーとを備え、
当該バッテリーが、前記筐体の周側部に、筐体に対し着脱可能として配設されることを
特徴とする誘導加熱調理装置。
続きを表示(約 1,400 文字)
【請求項2】
前記請求項1に記載の誘導加熱調理装置において、
前記バッテリーが、前記筐体に対し、平面視において筐体を取り囲む最小の矩形又は方形の仮想領域にバッテリー全体が含まれる配置として配設されることを
特徴とする誘導加熱調理装置。
【請求項3】
前記請求項1に記載の誘導加熱調理装置において、
前記バッテリーが、前記筐体内の制御部と少なくとも電気的に接続可能に配置される接点部を有し、筐体に対し、平面視において筐体の存在する領域に前記接点部が重なることを
特徴とする誘導加熱調理装置。
【請求項4】
前記請求項1に記載の誘導加熱調理装置において、
前記筐体内部への通風用として筐体の周側部寄りの内部に配設される冷却ファンを備え、
前記筐体が、筐体周側部のうち前記バッテリーのある面と同じ面に、外部の空気を流入させて冷却ファンに向かわせる吸気孔を設けられ、
前記冷却ファンが、前記筐体の周側部のうち前記吸気孔のある面の近傍に配設されることを
特徴とする誘導加熱調理装置。
【請求項5】
前記請求項1に記載の誘導加熱調理装置において、
前記筐体が、平面視で矩形状又は方形状とされ、
前記バッテリーが、前記筐体に対し、平面視において筐体の四つの角部のいずれか一つに寄った配置として配設されることを
特徴とする誘導加熱調理装置。
【請求項6】
前記請求項1に記載の誘導加熱調理装置において、
前記筐体が、前記バッテリーから離れた箇所に、握持可能なグリップ部を設けられることを
特徴とする誘導加熱調理装置。
【請求項7】
前記請求項6に記載の誘導加熱調理装置において、
前記グリップ部が、前記筐体の周側部から筐体内方に向けて設けられたグリップ用凹部の内面と、当該内面に対向する筐体の外面の一部と、を少なくとも含んだ部位として形成されることを
特徴とする誘導加熱調理装置。
【請求項8】
前記請求項6に記載の誘導加熱調理装置において、
前記グリップ部が、前記筐体の周側部から突出する凸部として形成されることを
特徴とする誘導加熱調理装置。
【請求項9】
前記請求項6に記載の誘導加熱調理装置において、
前記バッテリーが、前記筐体に対し、筐体外方から筐体寄りに押し入れて取り付け可能且つ当該取り付けの向きとは逆向きに引き出して取り外し可能として配設され、
前記グリップ部が、前記筐体のバッテリー配設位置に対し、バッテリーを取り付ける向きにおける前方側に存在する配置として、筐体に設けられることを
特徴とする誘導加熱調理装置。
【請求項10】
前記請求項7に記載の誘導加熱調理装置において、
前記バッテリーが、前記筐体に対し、筐体周側部のうち前記グリップ用凹部のある面寄りに配設され、
前記グリップ用凹部が、前記筐体周側部のグリップ用凹部入口から最奥部までの奥行き長さを、筐体に取り付けられた状態のバッテリーにおける、前記グリップ用凹部のある面からの最遠部までの距離と同じになるようにして配設されることを
特徴とする誘導加熱調理装置。
(【請求項11】以降は省略されています)
発明の詳細な説明
【技術分野】
【0001】
本発明は、金属容器を電磁誘導加熱により温めることで、金属容器に入れていた加熱対象物を加熱する誘導加熱調理装置に関し、特に商用電源等のない箇所での使用に適した、誘導加熱調理装置に関する。
続きを表示(約 1,100 文字)
【0002】
なお、本発明で装置筐体の特定部位を示す「周側部」の語は、箱状の筐体における側方(横方向)の外周に存在する部位全体、具体的には、筐体中心から見た前後左右の面を指すものとして扱っている。
【背景技術】
【0003】
電力に基づく発熱を利用する調理装置は、比較的大きな電力を必要とすることから、電池ではなく、商用電源からの電力で作動させることが一般的である。このため、屋外等の商用電源がない場所ではこうした調理装置を使用できなかった。
【0004】
一方、持ち運びやすさ(可搬性)や取り扱いやすさのためにコードレス式のものが望まれる電動工具の分野では、電源として、近年、比較的大きな電力を供給可能なリチウムイオンバッテリーが広く用いられるようになっている。こうした電源としてのリチウムイオンバッテリーは、電動工具のほか、調理装置への応用も提案されている。
こうしたバッテリーを電源として用いる調理装置の例として、鍋を載せて加熱するタイプの電気器具が、国際公開第2018/074355号に開示されている。
【先行技術文献】
【特許文献】
【0005】
国際公開第2018/074355号
【発明の概要】
【発明が解決しようとする課題】
【0006】
従来の調理用の電気器具は、前記特許文献に示される構成とされており、加熱を行う電気器具の本体部に対し、バッテリーを取り付けるための取り付け部が電源コードを介して分離状態とされる構造が主に採用されている。
【0007】
このような構造の場合、本体部に対し鍋を載せたり降ろしたりする作業や、調理中における本体部の操作、及び、鍋内の被加熱物(食品)に対する調理に係る諸作業等、を行う際に、本体部の周辺に常に存在している電源コードとバッテリー取り付け部が作業の支障になるおそれがあった。
【0008】
また、本体部の近くに、取り付け部に取り付けられたバッテリーが存在するため、本体部上での調理内容によっては、本体部上で発生した油煙がバッテリーに付着し、バッテリーの汚損に繋がるおそれがあった。
【0009】
一方、本体部と取り付け部が分かれているため、使用時にはそれぞれの設置スペースを要することとなり、商用電源に依存せず持ち運べる割に、様々な場所に持ち運んで使用するのに適した十分なコンパクト性を有するとはいえなかった。
【0010】
さらに、本体部とバッテリーとを接続する電源コードには、本体部やバッテリーを動かすごとに力が加わり、電源コードに負担がかかるため、電源コードの劣化が比較的生じやすいという問題があった。
(【0011】以降は省略されています)
この特許をJ-PlatPat(特許庁公式サイト)で参照する
関連特許
個人
電子部品の実装方法
1か月前
個人
非衝突型ガウス加速器
3か月前
個人
電気式バーナー
1か月前
愛知電機株式会社
装柱金具
1か月前
日本精機株式会社
回路基板
2か月前
日星電気株式会社
面状ヒータ
2日前
アイホン株式会社
電気機器
3か月前
イビデン株式会社
配線基板
1か月前
キヤノン株式会社
電子機器
2か月前
アイホン株式会社
電気機器
2か月前
日本放送協会
基板固定装置
2か月前
メクテック株式会社
配線基板
2か月前
東レ株式会社
霧化状活性液体供給装置
2か月前
個人
静電気中和除去装置
17日前
イビデン株式会社
プリント配線板
2か月前
シャープ株式会社
加熱機器
23日前
株式会社デンソー
電子装置
10日前
イビデン株式会社
配線基板
3か月前
株式会社デンソー
電子装置
1か月前
サクサ株式会社
筐体の壁掛け構造
2か月前
イビデン株式会社
配線基板
2か月前
サクサ株式会社
開き角度規制構造
1か月前
FDK株式会社
基板
1か月前
株式会社レクザム
剥離装置
1か月前
オムロン株式会社
端子折り曲げ治具
1か月前
富士フイルム株式会社
積層体
1か月前
新電元工業株式会社
電子装置
2か月前
株式会社レゾナック
冷却装置
1か月前
日産自動車株式会社
電子部品
1か月前
日本無線株式会社
電子機器用密閉構造
2か月前
富士電子工業株式会社
誘導加熱コイル
1か月前
富士電子工業株式会社
誘導加熱コイル
1か月前
タイガー魔法瓶株式会社
加熱器
1か月前
株式会社デンソー
電子制御装置
9日前
新光電気工業株式会社
配線基板
1か月前
日本特殊陶業株式会社
配線基板
2か月前
続きを見る
他の特許を見る