TOP
|
特許
|
意匠
|
商標
特許ウォッチ
Twitter
他の特許を見る
公開番号
2025157699
公報種別
公開特許公報(A)
公開日
2025-10-16
出願番号
2024058737
出願日
2024-04-01
発明の名称
バスバ配置構造
出願人
矢崎総業株式会社
代理人
個人
,
個人
,
個人
主分類
H05K
7/06 20060101AFI20251006BHJP(他に分類されない電気技術)
要約
【課題】配置部材に対するバスバの配置を安定化することができ、バスバの冷却性を向上することができるバスバ配置構造を提供する。
【解決手段】配置部材5に配置されるバスバ3と、バスバ3を保持し、配置部材5に固定される保持部材7とを備えたバスバ配置構造1において、保持部材7が、バスバ3と接触しバスバ3からの熱が伝達される伝熱部15と、配置部材5と接触し伝熱部15に伝達された熱を配置部材5に放出する放熱部19とを有した。
【選択図】図1
特許請求の範囲
【請求項1】
配置部材に配置されるバスバと、
前記バスバを保持し、前記配置部材に固定される保持部材と、
を備え、
前記保持部材は、前記バスバと接触し前記バスバからの熱が伝達される伝熱部と、前記配置部材と接触し前記伝熱部に伝達された熱を前記配置部材に放出する放熱部とを有するバスバ配置構造。
続きを表示(約 220 文字)
【請求項2】
前記保持部材は、前記配置部材に対して、締結部材を締結することによって固定され、
前記バスバと前記保持部材との間には、前記締結部材の締結により前記バスバを前記伝熱部に向けて押圧する押圧部材が配置されている請求項1に記載のバスバ配置構造。
【請求項3】
前記バスバと前記伝熱部との間及び前記配置部材と前記放熱部との間には、熱の伝達を促進させる伝熱部材が配置されている請求項1又は2に記載のバスバ配置構造。
発明の詳細な説明
【技術分野】
【0001】
本発明は、バスバ配置構造に関する。
続きを表示(約 1,700 文字)
【背景技術】
【0002】
従来、バスバ配置構造としては、配置部材としてのPCUの筐体の外面に配置されるバスバを備えたものが知られている(特許文献1参照)。このバスバ配置構造では、PUCの筐体の外面において、バスバの両端部が、それぞれ筐体の外面に設けられた中継器に電気的に接続されて固定されている。バスバには、他の部分に比較して断面積が小さくされた狭窄部が設けられている。狭窄部は、バスバに振動が生じたときに、狭窄部における振動を抑制し、バスバが周辺部材と接触する可能性を低くしている。
【先行技術文献】
【特許文献】
【0003】
特開2014-15059号公報
【発明の概要】
【発明が解決しようとする課題】
【0004】
ところで、上記特許文献1のようなバスバ配置構造では、バスバに狭窄部を設けて、バスバの振動を抑制しているが、配置部材に対するバスバの配置において、バスバは何ら支持されておらず、バスバの配置が不安定であった。また、バスバは、大きな電流が流れる導電部材であり、発熱量が多く、発熱によって電気的な接続信頼性に影響を与える可能性があり、バスバの冷却性を高める必要があった。
【0005】
本発明は、このような従来技術が有する課題に鑑みてなされたものである。そして本発明の目的は、配置部材に対するバスバの配置を安定化することができ、バスバの冷却性を向上することができるバスバ配置構造を提供することにある。
【課題を解決するための手段】
【0006】
本実施形態に係るバスバ配置構造は、配置部材に配置されるバスバと、前記バスバを保持し、前記配置部材に固定される保持部材と、を備え、前記保持部材は、前記バスバと接触し前記バスバからの熱が伝達される伝熱部と、前記配置部材と接触し前記伝熱部に伝達された熱を前記配置部材に放出する放熱部とを有する。
【発明の効果】
【0007】
本発明によれば、配置部材に対するバスバの配置を安定化することができ、バスバの冷却性を向上することができるバスバ配置構造を提供することができる。
【図面の簡単な説明】
【0008】
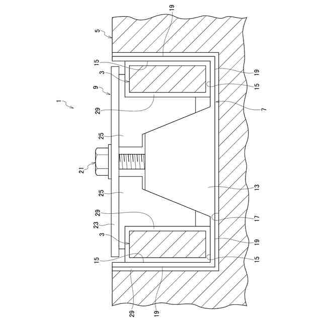
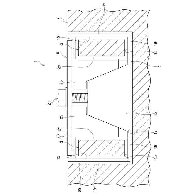
本実施形態に係るバスバ配置構造の正面図である。
本実施形態に係るバスバ配置構造の斜視図である。
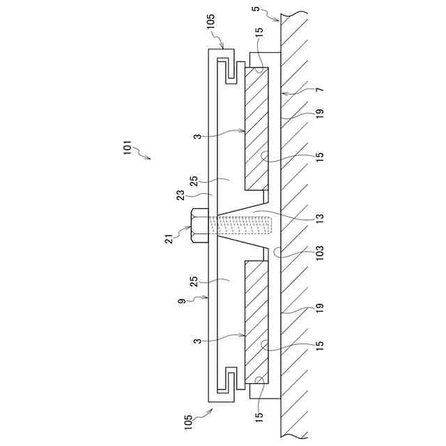
本実施形態に係るバスバ配置構造の分解斜視図である。
本実施形態に係るバスバ配置構造の他例を示す正面図である。
【発明を実施するための形態】
【0009】
以下、図面を用いて本実施形態に係るバスバ配置構造について詳細に説明する。なお、図面の寸法比率は説明の都合上誇張されており、実際の比率と異なる場合がある。
【0010】
図1に示すように、本実施形態に係るバスバ配置構造1は、例えば、電気自動車やハイブリッド自動車などの充電設備の充電コネクタが嵌合される車両側充電部と、充電池やバッテリなどの電源との間に適用される。車両に搭載される電源は、航続距離を向上させるために、近年、大容量であるものが増えている。大容量の電源は、充電時間が長く、充電時間を短縮するために、バスバ3を用いて、大きな電流を流すことが考えられている。バスバ3は、車両側充電部と電源との間において、所定の形状で、例えば、車両ボディなどの配置部材5に配置される。バスバ3は、両端部が車両側充電部と電源とに電気的に接続されて固定されているので、配置部材5に配置された部分が、車両の振動などによって振動し易く、配置部材5に対する配置が不安定となってしまう。また、バスバ3は、大きな電流が流れるので、発熱量が多く、発熱によって電気的な接続信頼性に影響を与える可能性があり、バスバ3の冷却性を高める必要があった。そこで、本実施形態に係るバスバ配置構造1は、配置部材5に対するバスバ3の配置を安定化することができ、バスバ3の冷却性を向上することができるようにしている。
(【0011】以降は省略されています)
この特許をJ-PlatPat(特許庁公式サイト)で参照する
関連特許
矢崎総業株式会社
照明灯
1か月前
矢崎総業株式会社
箱状体
8日前
矢崎総業株式会社
箱状体
8日前
矢崎総業株式会社
コネクタ
21日前
矢崎総業株式会社
照明構造
13日前
矢崎総業株式会社
コネクタ
13日前
矢崎総業株式会社
コネクタ
13日前
矢崎総業株式会社
コネクタ
9日前
矢崎総業株式会社
コネクタ
9日前
矢崎総業株式会社
コネクタ
17日前
矢崎総業株式会社
コネクタ
9日前
矢崎総業株式会社
コネクタ
8日前
矢崎総業株式会社
コネクタ
8日前
矢崎総業株式会社
コネクタ
27日前
矢崎総業株式会社
コネクタ
15日前
矢崎総業株式会社
止水部材
13日前
矢崎総業株式会社
コネクタ
29日前
矢崎総業株式会社
コネクタ
20日前
矢崎総業株式会社
コネクタ
6日前
矢崎総業株式会社
コネクタ
15日前
矢崎総業株式会社
コネクタ
29日前
矢崎総業株式会社
コネクタ
7日前
矢崎総業株式会社
コネクタ
2日前
矢崎総業株式会社
カバー構造
1か月前
矢崎総業株式会社
プロテクタ
13日前
矢崎総業株式会社
ゴムブーツ
13日前
矢崎総業株式会社
電気接続箱
8日前
矢崎総業株式会社
電気接続箱
20日前
矢崎総業株式会社
電気接続箱
8日前
矢崎総業株式会社
電気接続箱
8日前
矢崎総業株式会社
電流検出装置
15日前
矢崎総業株式会社
ドアハーネス
21日前
矢崎総業株式会社
端子付き電線
今日
矢崎総業株式会社
フラット導体
8日前
矢崎総業株式会社
ワイヤハーネス
20日前
矢崎総業株式会社
ワイヤハーネス
17日前
続きを見る
他の特許を見る