TOP
|
特許
|
意匠
|
商標
特許ウォッチ
Twitter
他の特許を見る
10個以上の画像は省略されています。
公開番号
2025167772
公報種別
公開特許公報(A)
公開日
2025-11-07
出願番号
2024072676
出願日
2024-04-26
発明の名称
デバイス装置、エネルギー貯蔵システム
出願人
株式会社GSユアサ
代理人
弁理士法人暁合同特許事務所
主分類
G01R
31/367 20190101AFI20251030BHJP(測定;試験)
要約
【課題】マスターデバイスとスレーブデバイスがデイジーチェーン接続された通信形態において、スレーブデバイスの直列数を検出して設定値と比較することにより、スレーブデバイスの接続の異常や通信回路の異常を検出する。
【解決手段】デバイス装置は、1つのマスターデバイス65と複数のスレーブデバイス70と、を含み、1つの前記マスターデバイス65と複数の前記スレーブデバイス70は、通信線Lによりデイジーチェーン接続されている。前記マスターデバイス65は、全デバイスに連続したデバイスアドレスを付与後、前記通信線Lを介した通信により、複数の前記スレーブデバイス70に対してそれぞれ応答確認を行う。前記マスターデバイス65は、応答確認に成功したスレーブデバイス70のデバイスアドレスに基づいて前記スレーブデバイス70の直列数Qを検出し、検出した直列数を設定値Qと比較する。
【選択図】図7
特許請求の範囲
【請求項1】
デバイス装置であって、
1つのマスターデバイスと複数のスレーブデバイスと、を含み、
1つの前記マスターデバイスと複数の前記スレーブデバイスは、通信線によりデイジーチェーン接続されており、
前記マスターデバイスは、全デバイスに連続したデバイスアドレスを付与後、前記通信線を介した通信により、複数の前記スレーブデバイスに対してそれぞれ応答確認を行い、
前記マスターデバイスは、応答確認に成功したスレーブデバイスのデバイスアドレスに基づいて前記スレーブデバイスの直列数を検出し、検出した直列数を設定値と比較する、デバイス装置。
続きを表示(約 1,200 文字)
【請求項2】
請求項1に記載のデバイス装置であって、
前記マスターデバイスは、前記スレーブデバイスの最大直列数に基づいて、デイジーチェーン接続された全デバイスの総デバイス数を設定し、
前記マスターデバイスは、デイジーチェーン接続された全デバイスに対して、前記総デバイス数から1ずつ減算したデバイスアドレスを、前記マスターデバイスから前記スレーブデバイスのトップデバイスまで順番に付与し、
前記マスターデバイスは、デイジーチェーン接続された前記スレーブデバイスに対してデバイスアドレスの小さい順に応答確認を行い、
前記マスターデバイスは、前記総デバイス数から最初に応答確認に成功したスレーブデバイスのデバイスアドレスを減算することにより、前記スレーブデバイスの直列数を算出する、デバイス装置。
【請求項3】
請求項2に記載のデバイス装置であって、
前記総デバイス数は、前記スレーブデバイスの最大直列数に2を加えた数値である、デバイス装置。
【請求項4】
請求項1又は請求項2に記載の蓄電バンク監視用のデバイス装置であって、
前記蓄電バンクは、複数の蓄電モジュールを含み、
前記スレーブデバイスは、前記蓄電モジュール用の監視装置であり、
前記マスターデバイスは、前記蓄電バンク用の監視装置である、デバイス装置。
【請求項5】
エネルギー貯蔵システムであって、
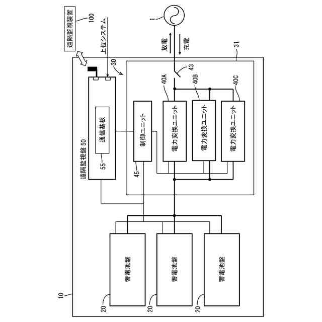
電力変換ユニットを収容するPCS盤と、
前記電力変換ユニットに対してパワーラインを介して接続された蓄電バンクを収容する蓄電池盤と、を含み、
前記蓄電バンクは、
直列に接続された複数の蓄電モジュールと、
前記蓄電モジュールを監視するモジュール監視装置と、
バンク監視装置と、を含み、
前記バンク監視装置と複数の前記モジュール監視装置は、通信線によりデイジーチェーン接続されており、
前記バンク監視装置は、全監視装置に連続したデバイスアドレスを付与後、前記通信線を介した通信により、複数の前記モジュール監視装置に対してそれぞれ応答確認を行い、
前記バンク監視装置は、応答確認に成功したモジュール監視装置のデバイスアドレスに基づいて前記モジュール監視装置の直列数を検出し、検出した直列数を設定値と比較する、エネルギー貯蔵システム。
【請求項6】
請求項5に記載のエネルギー貯蔵システムであって、
前記バンク監視装置は、エネルギー貯蔵システムの初回起動時に、前記モジュール監視装置の直列数を検出して設定値と比較する、エネルギー貯蔵システム。
【請求項7】
請求項5又は請求項6に記載のエネルギー貯蔵システムであって、
電池種が異なる、複数の前記蓄電池盤を有する、エネルギー貯蔵システム。
発明の詳細な説明
【技術分野】
【0001】
本発明は、デイジーチェーン接続された機器に関する。
続きを表示(約 1,300 文字)
【背景技術】
【0002】
エネルギーの効率的な運用を図るため、エネルギー貯蔵システムの導入が進められている。エネルギー貯蔵システムは、電力の需要が供給を下回っている場合、電力の余剰分で蓄電バンクに充電し、電力の需要が供給を上回っている場合、蓄電バンクを放電することで、電力不足を補う。エネルギー貯蔵システムに関連する技術を開示する文献として、特許文献1がある。
【先行技術文献】
【特許文献】
【0003】
特開2023-65595号公報
【発明の概要】
【発明が解決しようとする課題】
【0004】
蓄電バンクは、複数の蓄電モジュール(複数の蓄電セルをユニット化したもの)を、直列に接続した構成が一般的であり、モジュール監視装置により蓄電モジュールの状態を監視し、バンク監視装置により蓄電バンク全体を監視する形態がある。
【0005】
バンク監視装置(マスターデバイス)とモジュール監視装置(スレーブデバイス)をデイジーチェーン接続した通信形態において、モジュール監視装置の接続異常や通信異常を検出する技術が確立されていなかった。蓄電バンク用の監視装置に限らず、デイジーチェーン接続された機器(デバイス)は、同様の課題があった。
【0006】
本発明の課題は、マスターデバイスとスレーブデバイスがデイジーチェーン接続された通信形態において、スレーブデバイスの直列数を検出して設定値と比較することにより、スレーブデバイスの接続異常や通信異常を検出することである。
【課題を解決するための手段】
【0007】
本発明の一実施形態に係るデバイス装置は、1つのマスターデバイスと複数のスレーブデバイスと、を含み、1つの前記マスターデバイスと複数の前記スレーブデバイスは、通信線によりデイジーチェーン接続されている。
【0008】
前記マスターデバイスは、全デバイスに連続したデバイスアドレスを付与後、前記通信線を介した通信により、複数の前記スレーブデバイスに対してそれぞれ応答確認を行う。前記マスターデバイスは、応答確認に成功したスレーブデバイスのデバイスアドレスに基づいて前記スレーブデバイスの直列数を検出し、検出した直列数を設定値と比較する。
【発明の効果】
【0009】
本技術は、マスターデバイスとスレーブデバイスがデイジーチェーン接続された通信形態において、スレーブデバイスの直列数を検出して設定値と比較することにより、スレーブデバイスの接続異常や通信異常を検出することが可能となる。
【図面の簡単な説明】
【0010】
エネルギー貯蔵システムのブロック図
蓄電池盤のブロック図
蓄電モジュールの斜視図
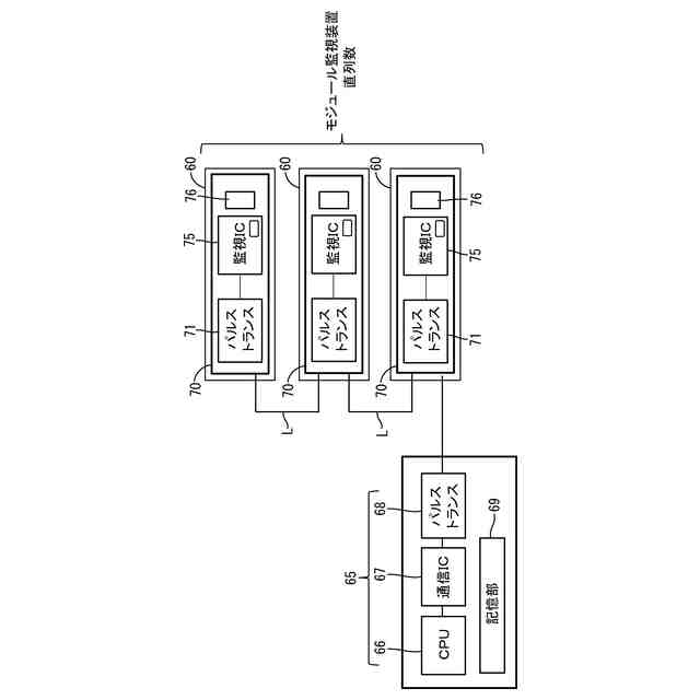
バンク監視装置とモジュール監視装置の通信方式を示す図
ICの起動シーケンスを示す図
各デバイスのデバイスアドレスを示す図
異常判定シーケンス
各デバイスのデバイスアドレスを示す図
各デバイスのデバイスアドレスを示す図
【発明を実施するための形態】
(【0011】以降は省略されています)
この特許をJ-PlatPat(特許庁公式サイト)で参照する
関連特許
株式会社GSユアサ
蓄電装置
1か月前
株式会社GSユアサ
蓄電装置
1日前
株式会社GSユアサ
蓄電装置
1か月前
株式会社GSユアサ
蓄電装置
1か月前
株式会社GSユアサ
蓄電設備
1か月前
株式会社GSユアサ
蓄電装置
23日前
株式会社GSユアサ
蓄電装置
17日前
株式会社GSユアサ
蓄電装置
9日前
株式会社GSユアサ
PCS盤
1か月前
株式会社GSユアサ
蓄電設備
1か月前
株式会社GSユアサ
蓄電バンクの監視システム
22日前
株式会社GSユアサ
電力変換器、充電装置及び車両
1か月前
株式会社GSユアサ
非水電解質蓄電素子及びその使用方法
10日前
株式会社GSユアサ
非水電解質蓄電素子及びその製造方法
24日前
株式会社GSユアサ
デバイス装置、エネルギー貯蔵システム
22日前
株式会社GSユアサ
電力変換器、多脚トランス、充電装置及び車両
1か月前
株式会社GSユアサ
エネルギー貯蔵システム、蓄電バンクの初期充電方法
1か月前
株式会社GSユアサ
非水電解質蓄電素子、その使用方法及びその製造方法
1か月前
株式会社GSユアサ
電力変換器、電力変換器の制御方法、充電装置及び車両
1か月前
株式会社GSユアサ
蓄電素子用の正極活物質、蓄電素子用の正極及び蓄電素子
1か月前
株式会社GSユアサ
蓄電素子
1か月前
株式会社GSユアサ
鉛蓄電池用正極集電体、および鉛蓄電池用集電体の製造方法
1か月前
株式会社GSユアサ
エネルギー貯蔵システム、蓄電池盤の満充電容量計測方法。
1か月前
株式会社GSユアサ
蓄電システム
11日前
株式会社GSユアサ
蓄電情報処理方法、コンピュータプログラム及び蓄電情報処理装置
1か月前
株式会社GSユアサ
充放電ステーション
1か月前
株式会社GSユアサ
情報処理装置及び端末装置
1か月前
株式会社GSユアサ
硫化物固体電解質及び全固体電池
1か月前
株式会社GSユアサ
硫化物固体電解質及び全固体電池
3日前
株式会社GSユアサ
蓄電装置、組電池の異常検出方法
1か月前
株式会社GSユアサ
蓄電装置、電流遮断装置の制御方法
9日前
株式会社GSユアサ
制御方法、制御装置、及びコンピュータプログラム
1か月前
株式会社GSユアサ
回収支援装置、回収支援システム及び回収支援方法
1か月前
株式会社GSユアサ
情報処理方法、情報処理装置、及びコンピュータプログラム
1日前
株式会社GSユアサ
情報処理装置、情報処理システム、情報処理方法及びコンピュータプログラム
1か月前
株式会社GSユアサ
硫化物固体電解質の製造方法、硫化物固体電解質、全固体電池、及び硫化物固体電解質の製造に用いる原料化合物の選択方法
17日前
続きを見る
他の特許を見る