TOP
|
特許
|
意匠
|
商標
特許ウォッチ
Twitter
他の特許を見る
10個以上の画像は省略されています。
公開番号
2025175185
公報種別
公開特許公報(A)
公開日
2025-11-28
出願番号
2025159455,2021096044
出願日
2025-09-25,2021-06-08
発明の名称
情報処理方法、情報処理装置、及びコンピュータプログラム
出願人
株式会社GSユアサ
代理人
個人
,
個人
主分類
G06Q
30/00 20230101AFI20251120BHJP(計算;計数)
要約
【課題】電子商取引で購入された車両部品についての情報処理方法、情報処理装置、及びコンピュータプログラムを提供する。
【解決手段】電子商取引で購入された車両部品の情報処理方法は、バッテリ識別データは、製造事業者によって第1梱包材に梱包済みのバッテリが電子商取引を通じた販売事業者からユーザへ発送される際に同梱された媒体に付されており、情報処理装置は、受け付けたバッテリ識別データに基づき、バッテリの回収をサービス事業者向けに通知する。
【選択図】図1
特許請求の範囲
【請求項1】
電子商取引を通じて販売されるバッテリに対応付けられるバッテリ識別データを、前記バッテリのユーザが使用する端末装置を介し、前記端末装置と通信接続される情報処理装置が受け付け、
前記バッテリ識別データは、製造事業者によって第1梱包材に梱包済みの前記バッテリが電子商取引を通じた販売事業者から前記ユーザへ発送される際に同梱された媒体に付されており、
前記情報処理装置は、受け付けた前記バッテリ識別データに基づき、バッテリの回収をサービス事業者向けに通知する
情報処理方法。
続きを表示(約 580 文字)
【請求項2】
前記端末装置は、
前記媒体に印字されている前記バッテリ識別データを含むデータをエンコードした二次元コードを読み取り、前記二次元コードにエンコードされた制御データに基づき、前記通知用の画面を表示する
請求項1に記載の情報処理方法。
【請求項3】
前記端末装置は、表示中の画面にて、前記バッテリ識別データの登録操作を受け付ける
請求項1に記載の情報処理方法。
【請求項4】
電子商取引を通じて販売され、製造事業者によって梱包材に梱包済みのバッテリに対応するバッテリ識別データを、前記梱包材に同梱された媒体から、前記バッテリのユーザの端末装置を介して受け付け、
受け付けた前記バッテリ識別データに基づき、バッテリの回収をサービス事業者向けに通知する
処理を実行する処理部を備える情報処理装置。
【請求項5】
電子商取引を通じて販売され、製造事業者によって梱包材に梱包済みのバッテリに対応するバッテリ識別データを、前記梱包材に同梱された媒体から、前記バッテリのユーザの端末装置を介して受け付け、
受け付けた前記バッテリ識別データに基づき、バッテリの回収をサービス事業者向けに通知する
処理をコンピュータに実行させるコンピュータプログラム。
発明の詳細な説明
【技術分野】
【0001】
本発明は、電子商取引で購入されたバッテリ等の車両部品についての情報処理方法、情報処理装置、及びコンピュータプログラムに関する。
続きを表示(約 1,800 文字)
【背景技術】
【0002】
車両に搭載されるバッテリ、タイヤ等の車両部品について、ユーザは電子商取引を介して購入可能である。車両部品の中でもバッテリは、保管方法等の取り扱い知識が販売業者にも必要である。しかしながら、電子商取引を含め車両部品の販路が増加するに従い、取り扱い知識に乏しい取引事業者、配送事業者によって管理されたバッテリが、ユーザの手元に届いた時点で液漏れしているといったトラブルが増加している。
【0003】
バッテリ等の蓄電池に対して発生したトラブルについては、蓄電池の経年劣化の特徴を鑑みて、蓄電池の製造年月日、使用開始日等に基づいた保証がなされることが多い。特許文献1には、大規模な蓄電システムにおいて蓄電池のデータを逐次取得し、取得できたデータに基づいて運用開始条件を満たしたと判断された場合、条件を満たした日時を運用開始日として正確に記憶し、運用中に遠隔から参照できるシステムが開示されている。
【先行技術文献】
【特許文献】
【0004】
特開2020-149362号公報
【発明の概要】
【発明が解決しようとする課題】
【0005】
電子商取引等を介して購入されたバッテリは、ユーザと販売事業者とが地理的に離れているケースが多く、運用開始日が記録されていて保証期間であっても点検やトラブル対応が困難な場合がある。電子商取引を介して購入可能なバッテリ等の車両部品は、製造事業者、販売事業者、購入時の配送事業者、及び車両トラブル対応サービス事業者等と、関係事業者が個々に独立しており、トラブルの原因の特定、ユーザへの保証及び対応が不十分な場合がある。
【0006】
本発明は、斯かる事情を鑑みてなされたものであり、電子商取引で購入された車両部品の情報処理方法、情報処理装置、及びコンピュータプログラムを提供することを目的とする。
【課題を解決するための手段】
【0007】
本開示の一実施形態の情報処理方法は、電子商取引を通じて販売されるバッテリに対応付けられるバッテリ識別データを、前記バッテリのユーザが使用する端末装置を介し、前記端末装置と通信接続される情報処理装置が受け付け、前記バッテリ識別データは、製造事業者によって第1梱包材に梱包済みの前記バッテリが電子商取引を通じた販売事業者から前記ユーザへ発送される際に同梱された媒体に付されており、前記情報処理装置は、受け付けた前記バッテリ識別データに基づき、バッテリの回収をサービス事業者向けに通知する。
【図面の簡単な説明】
【0008】
バッテリ情報処理システムの概要図である。
情報処理装置の内部構成を示すブロック図である。
事業者端末装置及びユーザ端末装置の内部構成を示すブロック図である。
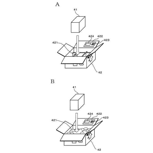
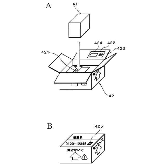
第2梱包材の模式斜視図である。
第2梱包材の他の例の模式斜視図である。
バッテリ情報処理システムにおけるバッテリ識別データの登録受付手順の一例を示すフローチャートである。
ユーザ端末装置で表示される入力画面の内容例を示す図である。
バッテリ情報処理システムにおけるバッテリデータの参照手順の一例を示すフローチャートである。
受付画面の内容例を示す図である。
通知画面の概要図である。
バッテリ情報処理システムにおける発送済みバッテリのデータ登録手順の一例を示すフローチャートである。
販売事業者用の入力画面の内容例を示す。
【発明を実施するための形態】
【0009】
情報処理方法は、電子商取引を通じて販売されるバッテリに対応付けられるバッテリ識別データを受け付け、前記バッテリの購入日及び/又は発送日を含むバッテリのトレーサビリティに関するデータを、前記バッテリ識別データに対応付けて記憶し、バッテリ識別データを指定する参照要求を受け付けた場合に、前記バッテリ識別データに対応付けて記憶されている前記データを要求元へ送信する。
【0010】
上記構成により、電子商取引を通じて販売されたバッテリについても、バッテリ識別データに対応付けて、購入日及び/又は発送日を含むトレーサビリティに関するデータが記憶される。
(【0011】以降は省略されています)
この特許をJ-PlatPat(特許庁公式サイト)で参照する
関連特許
株式会社GSユアサ
蓄電装置
1か月前
株式会社GSユアサ
蓄電装置
1日前
株式会社GSユアサ
蓄電装置
1か月前
株式会社GSユアサ
蓄電装置
1か月前
株式会社GSユアサ
蓄電設備
1か月前
株式会社GSユアサ
蓄電装置
23日前
株式会社GSユアサ
蓄電装置
17日前
株式会社GSユアサ
蓄電装置
9日前
株式会社GSユアサ
PCS盤
1か月前
株式会社GSユアサ
蓄電設備
1か月前
株式会社GSユアサ
蓄電バンクの監視システム
22日前
株式会社GSユアサ
電力変換器、充電装置及び車両
1か月前
株式会社GSユアサ
非水電解質蓄電素子及びその使用方法
10日前
株式会社GSユアサ
非水電解質蓄電素子及びその製造方法
24日前
株式会社GSユアサ
デバイス装置、エネルギー貯蔵システム
22日前
株式会社GSユアサ
電力変換器、多脚トランス、充電装置及び車両
1か月前
株式会社GSユアサ
エネルギー貯蔵システム、蓄電バンクの初期充電方法
1か月前
株式会社GSユアサ
非水電解質蓄電素子、その使用方法及びその製造方法
1か月前
株式会社GSユアサ
電力変換器、電力変換器の制御方法、充電装置及び車両
1か月前
株式会社GSユアサ
蓄電素子用の正極活物質、蓄電素子用の正極及び蓄電素子
1か月前
株式会社GSユアサ
蓄電素子
1か月前
株式会社GSユアサ
鉛蓄電池用正極集電体、および鉛蓄電池用集電体の製造方法
1か月前
株式会社GSユアサ
エネルギー貯蔵システム、蓄電池盤の満充電容量計測方法。
1か月前
株式会社GSユアサ
蓄電システム
11日前
株式会社GSユアサ
蓄電情報処理方法、コンピュータプログラム及び蓄電情報処理装置
1か月前
株式会社GSユアサ
充放電ステーション
1か月前
株式会社GSユアサ
情報処理装置及び端末装置
1か月前
株式会社GSユアサ
硫化物固体電解質及び全固体電池
1か月前
株式会社GSユアサ
硫化物固体電解質及び全固体電池
3日前
株式会社GSユアサ
蓄電装置、組電池の異常検出方法
1か月前
株式会社GSユアサ
蓄電装置、電流遮断装置の制御方法
9日前
株式会社GSユアサ
制御方法、制御装置、及びコンピュータプログラム
1か月前
株式会社GSユアサ
回収支援装置、回収支援システム及び回収支援方法
1か月前
株式会社GSユアサ
情報処理方法、情報処理装置、及びコンピュータプログラム
1日前
株式会社GSユアサ
情報処理装置、情報処理システム、情報処理方法及びコンピュータプログラム
1か月前
株式会社GSユアサ
硫化物固体電解質の製造方法、硫化物固体電解質、全固体電池、及び硫化物固体電解質の製造に用いる原料化合物の選択方法
17日前
続きを見る
他の特許を見る