TOP
|
特許
|
意匠
|
商標
特許ウォッチ
Twitter
他の特許を見る
10個以上の画像は省略されています。
公開番号
2025167037
公報種別
公開特許公報(A)
公開日
2025-11-07
出願番号
2024071305
出願日
2024-04-25
発明の名称
弾性波デバイス
出願人
三安ジャパンテクノロジー株式会社
代理人
個人
主分類
H03H
9/25 20060101AFI20251030BHJP(基本電子回路)
要約
【課題】WLP構造の弾性波デバイスに対し、熱に起因したデバイスチップとウォール体との固着界面における剥がれなどを抑止する構造を、付与する。
【解決手段】封止体5は、デバイスチップ2の機能面2aの長さ方向xに沿った2つの辺2ca間に亘る仮想の線分Lに倣って長さ方向xにおいて分割された2以上の封止部分5aの集合体となっている。封止部分5aはそれぞれ、共振器3の形成領域を取り囲むウォール体5bとウォール体5b上に支持されたルーフ体5cと機能面2aとの三者から構成されて内部を共振器3の封止空間8としている。隣り合う封止部分5aのウォール体5b間に溝状隙間7を形成させて隣り合う封止部分5aのウォール体5b同士を非接触とさせている。
【選択図】図1
特許請求の範囲
【請求項1】
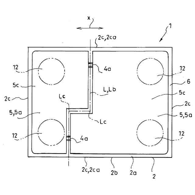
一つのデバイスチップの機能面における前記機能面と前記デバイスチップの側面とが接する辺近傍以外の領域を封止体で覆うように構成させてなる弾性波デバイスであって、
前記デバイスチップは、前記機能面に直交する向きから見た状態において、前記機能面の輪郭を長方形状としており、
前記封止体は、前記機能面の長さ方向に沿った2つの辺間に亘る仮想の線分に基づくようにして前記長さ方向において分割された2以上の封止部分の集合体となっていると共に、
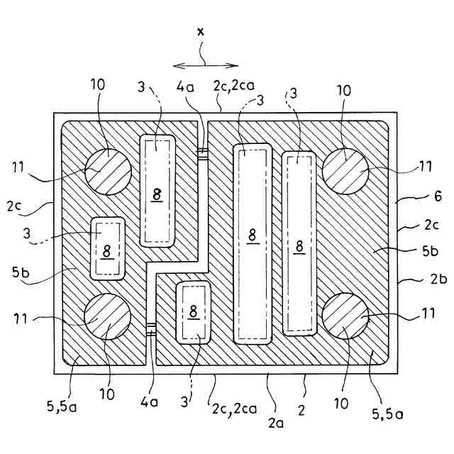
前記封止部分はそれぞれ、前記機能面におけるIDT電極を含んで構成される共振器の形成領域を取り囲むように形成されたウォール体と前記機能面との間に隙間をあけて前記ウォール体上に支持されたルーフ体と前記機能面との三者から構成されて内部を前記共振器の封止空間としており、
前記仮想の線分を挟んで隣り合う前記封止部分の前記ウォール体間に前記仮想の線分に倣った溝状隙間を形成させて隣り合う前記封止部分の前記ウォール体同士を非接触とさせてなる、弾性波デバイス。
続きを表示(約 540 文字)
【請求項2】
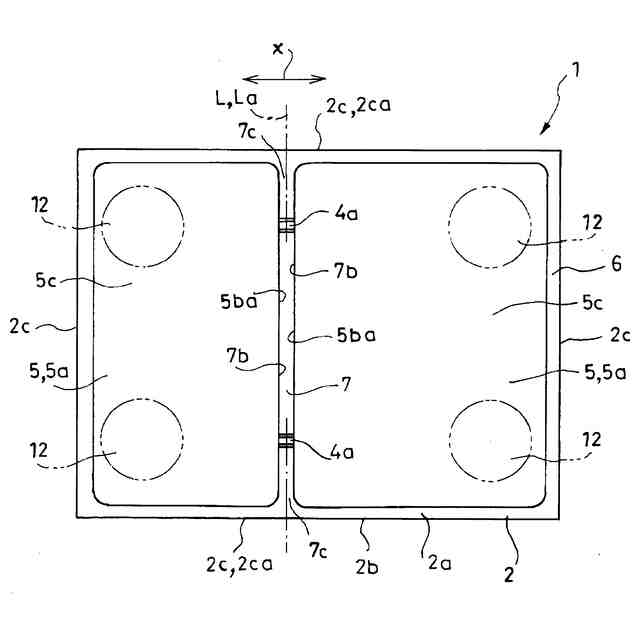
前記溝状隙間を、前記機能面の長さ方向に沿った2つの辺間に亘る前記仮想の線分としての直線に倣うように形成させてなる、請求項1に記載の弾性波デバイス。
【請求項3】
前記溝状隙間を、前記機能面の長さ方向に沿った2つの辺間に亘る前記仮想の線分としての線分であって屈曲箇所を持った線分に倣うように形成させてなる、請求項1に記載の弾性波デバイス。
【請求項4】
前記封止部分にそれぞれ、前記ルーフ体及び前記ウォール体を貫通するビア内において一端を前記機能面上に形成された配線に接続させると共に他端を前記ルーフ体上に形成されるバンプに接続させるビア内配線を形成させてなる、請求項1に記載の弾性波デバイス。
【請求項5】
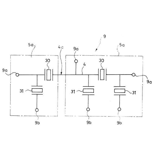
前記溝状隙間における前記機能面上に、前記溝状隙間を挟んで隣り合う一方の前記封止部分の前記封止空間内に形成された配線と、他方の前記封止部分の前記封止空間内に形成された配線とを連絡する連絡配線を位置させるようにしてあると共に、
この連絡配線における前記溝状隙間の連続方向に沿った断面輪郭形状を、前記機能面に近づくに連れて前記連絡配線の幅を漸増させる台形状とさせてなる、請求項1に記載の弾性波デバイス。
発明の詳細な説明
【技術分野】
【0001】
この発明は、モバイル通信機器などにおいて周波数フィルタなどとして使用するのに適した弾性波デバイスの改良に関する。
続きを表示(約 2,000 文字)
【背景技術】
【0002】
WLP(Wafer Level Package)構造の弾性波デバイスは、図10ないし図12に示される構造を持つ。図中、符号100は少なくともその一面を圧電体から構成させたデバイスチップを、符号101はデバイスチップ100の前記一面上に形成された金属膜からなる共振器を、符号102は共振器101の形成領域を囲繞する樹脂製のウォール体を、符号103はウォール体102上に形成される樹脂製のルーフ体を、符号104はビア内配線を、符号105はバンプをそれぞれ示す。
【0003】
デバイスチップ100とウォール体102とルーフ体103との三者によって弾性波デバイス内に共振器101の封止空間106が形成される。
ここで、弾性波デバイスの製造プロセスにおいては、前記ウォール体102の形成ステップ、前記ルーフ体103の形成ステップ、前記バンプ105の形成ステップなどにおいて、熱処理が実施される場合が少なくない。
また、弾性波デバイスは作動状態において熱を生じる。
一方で、デバイスチップ100を構成する無機材料とウォール体102を構成する有機材料とは熱膨張率が大きく異なる。
【0004】
このため、前記製造プロセスや、前記作動状態において、デバイスチップ100とウォール体102との固着界面107(図11参照)において熱に起因した剥がれ(両者の部分的な分離)を生じさせる傾向がある。また、弾性波デバイスにかかる熱に起因した反りを生じさせる傾向がある。
近年は、多くの機能を一つのデバイスチップ100に持たせることが増え、デバイスチップ100は大型化してきているところ、この大型化によって前記熱に起因した剥がれや反りが生じる傾向は強まる。
【発明の概要】
【発明が解決しようとする課題】
【0005】
この発明が解決しようとする主たる問題点は、このようなWLP構造の弾性波デバイスに対し、熱に起因したデバイスチップとウォール体との固着界面における剥がれや弾性波デバイスの反りを可及的に抑止する構造を、合理的に付与する点にある。
【課題を解決するための手段】
【0006】
前記課題を達成するために、この発明にあっては、弾性波デバイスを、一つのデバイスチップの機能面における前記機能面と前記デバイスチップの側面とが接する辺近傍以外の領域を封止体で覆うように構成させてなる弾性波デバイスであって、
前記デバイスチップは、前記機能面に直交する向きから見た状態において、前記機能面の輪郭を長方形状としており、
前記封止体は、前記機能面の長さ方向に沿った2つの辺間に亘る仮想の線分に基づくようにして前記長さ方向において分割された2以上の封止部分の集合体となっていると共に、
前記封止部分はそれぞれ、前記機能面におけるIDT電極を含んで構成される共振器の形成領域を取り囲むように形成されたウォール体と前記機能面との間に隙間をあけて前記ウォール体上に支持されたルーフ体と前記機能面との三者から構成されて内部を前記共振器の封止空間としており、
前記仮想の線分を挟んで隣り合う前記封止部分の前記ウォール体間に前記仮想の線分に倣った溝状隙間を形成させて隣り合う前記封止部分の前記ウォール体同士を非接触とさせてなる、ものとした。
【0007】
前記溝状隙間を、前記機能面の長さ方向に沿った2つの辺間に亘る前記仮想の線分としての直線に倣うように形成させることが、この発明の態様の一つとされる。
【0008】
また、前記溝状隙間を、前記機能面の長さ方向に沿った2つの辺間に亘る前記仮想の線分としての線分であって屈曲箇所を持った線分に倣うように形成させることが、この発明の態様の一つとされる。
【0009】
また、前記封止部分にそれぞれ、前記ルーフ体及び前記ウォール体を貫通するビア内において一端を前記機能面上に形成された配線に接続させると共に他端を前記ルーフ体上に形成されるバンプに接続させるビア内配線を形成させることが、この発明の態様の一つとされる。
【0010】
また、前記溝状隙間における前記機能面上に、前記溝状隙間を挟んで隣り合う一方の前記封止部分の前記封止空間内に形成された配線と、他方の前記封止部分の前記封止空間内に形成された配線とを連絡する連絡配線を位置させるようにしてあると共に、
この連絡配線における前記溝状隙間の連続方向に沿った断面輪郭形状を、前記機能面に近づくに連れて前記連絡配線の幅を漸増させる台形状とさせることが、この発明の態様の一つとされる。
【発明の効果】
(【0011】以降は省略されています)
この特許をJ-PlatPat(特許庁公式サイト)で参照する
関連特許
エイブリック株式会社
増幅器
1か月前
エイブリック株式会社
増幅器
1か月前
エイブリック株式会社
増幅回路
1か月前
日本電波工業株式会社
圧電振動片
1か月前
日本電波工業株式会社
水晶振動子
8日前
株式会社半導体エネルギー研究所
駆動回路
1か月前
台灣晶技股ふん有限公司
水晶発振器
16日前
TDK株式会社
電子部品
1か月前
TDK株式会社
電子部品
1か月前
台灣晶技股ふん有限公司
水晶発振素子
16日前
ローム株式会社
自己診断システム
25日前
国立大学法人東北大学
弾性表面波デバイス
8日前
三菱電機株式会社
高周波増幅器モジュール
19日前
住友電気工業株式会社
高周波増幅器
1か月前
日清紡マイクロデバイス株式会社
演算増幅器
1か月前
エイブリック株式会社
出力制御回路及び電圧出力回路
1か月前
日本電波工業株式会社
温度センサ内蔵型の水晶振動子
8日前
アルプスアルパイン株式会社
センサ装置
1か月前
台灣晶技股ふん有限公司
発振装置
18日前
太陽誘電株式会社
フィルタ及びマルチプレクサ
1か月前
エイブリック株式会社
電流制限回路及び電流制限装置
1か月前
株式会社NTTドコモ
リニアライザ
1か月前
セイコーエプソン株式会社
振動素子
1か月前
ローム株式会社
発振回路
1か月前
TDK株式会社
フィルタ及び電子部品
1か月前
三安ジャパンテクノロジー株式会社
弾性波デバイス
8日前
ローム株式会社
発振回路
1か月前
ローム株式会社
差動アンプおよび半導体装置
1か月前
セイコーエプソン株式会社
振動デバイス
10日前
ローム株式会社
信号出力回路
1か月前
ローム株式会社
信号出力回路
1か月前
台灣晶技股ふん有限公司
共振装置
1日前
株式会社村田製作所
高周波回路および通信装置
1か月前
ローム株式会社
信号伝達装置
3日前
ローム株式会社
半導体装置
1か月前
ローム株式会社
半導体装置
1か月前
続きを見る
他の特許を見る