TOP
|
特許
|
意匠
|
商標
特許ウォッチ
Twitter
他の特許を見る
10個以上の画像は省略されています。
公開番号
2025151379
公報種別
公開特許公報(A)
公開日
2025-10-09
出願番号
2024052774
出願日
2024-03-28
発明の名称
時計
出願人
セイコーウオッチ株式会社
代理人
個人
,
個人
,
個人
主分類
G04B
25/02 20060101AFI20251002BHJP(時計)
要約
【課題】使用者が指で触れることにより時間表示を確認する際に表示時刻が狂うのを抑えることができる時計を提供する。
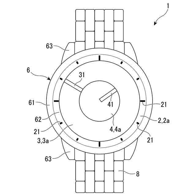
【解決手段】時計1は、外部に露出可能な表示領域2aを有し、表示領域2aに触覚で確認可能な複数の指標21が形成された文字板2と、表示領域2aと直交する回転軸5の周りに回転する1または複数の表示板3,4と、を備える。表示板3,4の表面3a,4aに、指触確認可能な凹凸によって、時刻を表す表示31,41が形成されている。
【選択図】図1
特許請求の範囲
【請求項1】
外部に露出可能な表示領域を有し、前記表示領域に触覚で確認可能な複数の指標が形成された文字板と、
前記表示領域と直交する回転軸の周りに回転する1または複数の表示板と、を備え、
前記表示板の表面に、指触確認可能な凹凸によって、時刻を表す表示が形成されている、
時計。
続きを表示(約 740 文字)
【請求項2】
前記表示板は、複数設けられ、
複数の前記表示板は、
前記時刻の時を示す時表示を前記表示として有する時表示板と、
前記時刻の分を示す分表示を前記表示として有する分表示板と、
を含む、
請求項1に記載の時計。
【請求項3】
前記時表示および前記分表示は、一つの指で同時に指触確認できる範囲に形成されている、
請求項2に記載の時計。
【請求項4】
前記文字板と前記表示板のうち少なくとも一つに、これに隣り合う前記表示板の傾動を規制する突起が形成されている、
請求項1記載の時計。
【請求項5】
前記文字板と前記表示板のうち少なくとも一つは、これに隣り合う前記表示板に近接してこの表示板の傾動を規制する規制部位を有する、
請求項1記載の時計。
【請求項6】
前記表示の一対の側面の少なくとも一部は、突出高さを増すほど互いに近づくように傾斜する、
請求項1記載の時計。
【請求項7】
前記表示は、複数のドット状の突起によって形成されている、
請求項1記載の時計。
【請求項8】
前記表示板に、前記回転軸が挿通する軸受け筒部が突出して形成されている、
請求項1記載の時計。
【請求項9】
前記回転軸は、長さ方向に直交する断面が非円形状であり、
前記表示板は、前記回転軸が圧入により嵌合する嵌合孔を有する、
請求項1記載の時計。
【請求項10】
前記表示板は、前記回転軸と同心の円板状に形成されている、
請求項1記載の時計。
発明の詳細な説明
【技術分野】
【0001】
本発明は、時計に関する。
続きを表示(約 1,000 文字)
【背景技術】
【0002】
視覚障がい者(例えば、弱視者、全盲者等)用の時計は、例えば、時間表示(時針および分針)を備えた時計機構と、時間表示を開閉可能に覆う開閉蓋とを備える(例えば、特許文献1を参照)。この時計では、使用者が開閉蓋を開いて時針および分針を露出させ、指で時針および分針に触ることで、表示された時刻を確認することができる。
【先行技術文献】
【特許文献】
【0003】
特開平9-264967号公報
【発明の概要】
【発明が解決しようとする課題】
【0004】
前記時計では、時刻の確認のために使用者が指で触れることで、時針または分針が回転方向に大きな力を受けることがある。この場合、回転軸に過大なトルクが加わり、表示時刻の正確性が低くなる可能性がある。
【0005】
本発明の一態様は、使用者が指で触れることにより時間表示を確認する際に表示時刻が狂うのを抑えることができる時計を提供することを目的とする。
【課題を解決するための手段】
【0006】
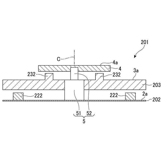
[1]外部に露出可能な表示領域を有し、前記表示領域に触覚で確認可能な複数の指標が形成された文字板と、前記表示領域と直交する回転軸の周りに回転する1または複数の表示板と、を備え、前記表示板の表面に、指触確認可能な凹凸によって、時刻を表す表示が形成されている、時計。
【0007】
前記時計によれば、表示は表示板の表面に形成されているため、使用者が表示を指で触って確認する際に、表示板に加えられる周方向の力を小さくできる。したがって、表示板に過大なトルクが加えられることを原因として表示時刻が不正確となる(すなわち、表示時刻が狂う)のを抑えることができる。
【0008】
[2]前記表示板は、複数設けられ、複数の前記表示板は、前記時刻の時を示す時表示を前記表示として有する時表示板と、前記時刻の分を示す分表示を前記表示として有する分表示板と、を含む、[1]記載の時計。
【0009】
前記時計では、時刻の時および分を確認することができる。よって、詳しい時刻を確認できる。
【0010】
[3]前記時表示および前記分表示は、一つの指で同時に指触確認できる範囲に形成されている、[2]記載の時計。
(【0011】以降は省略されています)
この特許をJ-PlatPat(特許庁公式サイト)で参照する
関連特許
個人
砂時計
1か月前
個人
時刻同期システム
1か月前
セイコーウオッチ株式会社
時計
29日前
セイコーエプソン株式会社
電子時計
3か月前
セイコーエプソン株式会社
電子時計
今日
個人
ワイヤレス給電を使用した針が光るアナログ式時計
3日前
セイコーエプソン株式会社
電子時計
29日前
ローム株式会社
時間測定回路
1か月前
シチズン時計株式会社
腕時計
28日前
株式会社村田製作所
光学的パターン表示物品
1か月前
日本電気株式会社
時刻維持装置および時刻維持方法
1日前
日本電波株式会社
電波時計レピータ
3日前
シチズン時計株式会社
電子時計
2か月前
セイコーエプソン株式会社
電子制御式機械時計
1か月前
シチズン時計株式会社
機械式時計
2か月前
カシオ計算機株式会社
装飾板及び時計
1か月前
セイコーエプソン株式会社
機械式時計
1か月前
カシオ計算機株式会社
制御装置、制御方法、及びプログラム
1か月前
セイコータイムクリエーション株式会社
からくり時計
1か月前
カシオ計算機株式会社
機器ケース及び時計
1か月前
セイコーエプソン株式会社
時計および風防部材の製造方法
1か月前
セイコーエプソン株式会社
インデックス、文字板、及び時計
2か月前
カシオ計算機株式会社
外装部品ユニット及び時計
1か月前
カシオ計算機株式会社
電子時計及び電子時計本体
1か月前
セイコーウオッチ株式会社
時計、音声再生方法およびプログラム
2か月前
コマデュール ソシエテ アノニム
エナメル彫刻及び模様付け方法
2日前
カシオ計算機株式会社
電子時計、外装部材及びバンド
1か月前
セイコーエプソン株式会社
時計用部品、および、時計
2か月前
カシオ計算機株式会社
指針、時計、及び指針の製造方法
2か月前
カシオ計算機株式会社
時計、表示制御方法及びプログラム
1か月前
東邦瓦斯株式会社
ウェアラブル機器用防熱カバー
3か月前
カシオ計算機株式会社
外装部品、外装部品ユニット及び時計
1か月前
セイコーウオッチ株式会社
スイッチ機構、時計用ムーブメントおよび時計
29日前
セイコーエプソン株式会社
時計用部品、時計および時計用部品の製造方法
2か月前
カシオ計算機株式会社
電子時計、針位置検出方法及びプログラム
1か月前
ロレックス・ソシエテ・アノニム
時計制御装置
2か月前
続きを見る
他の特許を見る