TOP
|
特許
|
意匠
|
商標
特許ウォッチ
Twitter
他の特許を見る
10個以上の画像は省略されています。
公開番号
2025144635
公報種別
公開特許公報(A)
公開日
2025-10-03
出願番号
2024044378
出願日
2024-03-21
発明の名称
外装部品、外装部品ユニット及び時計
出願人
カシオ計算機株式会社
代理人
弁理士法人光陽国際特許事務所
主分類
G04B
43/00 20060101AFI20250926BHJP(時計)
要約
【課題】脆性材料からなる外装部品により時計ケースを好適に外装する。
【解決手段】外装部品30は、脆性材料からなり、剛体である時計ケース2の周囲に配置された状態で、内側面における平面の領域が時計ケース2の外側面における平面の領域に当接する。外装部品30のうち、フロントベゼル4は、時計ケース2の周囲に配置された状態で、第1当接面41aが時計ケース2の第1ケース側平面26aに当接する。サイドベゼル5は、時計ケース2の周囲に配置された状態で、第2当接面51aが時計ケース2の第2ケース側平面26bに当接する。
【選択図】図2
特許請求の範囲
【請求項1】
脆性材料からなり、
剛体である時計ケースの周囲に配置された状態で、内側面における平面の領域が前記時計ケースの外側面における平面の領域に当接する、
外装部品。
続きを表示(約 860 文字)
【請求項2】
前記時計ケースの周囲に配置された状態で、内側面における曲面の領域が前記時計ケースの外側面における曲面の領域と離間している、
請求項1に記載の外装部品。
【請求項3】
請求項1又は2に記載の外装部品を複数備え、
前記複数の外装部品が互いに接触しないように前記時計ケースの周囲に配置された、
外装部品ユニット。
【請求項4】
前記複数の外装部品の間に介在する金属製のスペーサをさらに備える、
請求項3に記載の外装部品ユニット。
【請求項5】
前記スペーサは、前記時計ケースと一体的に形成されている、
請求項4に記載の外装部品ユニット。
【請求項6】
前記スペーサは、前記時計ケースの上方に配置される第1部品と、前記時計ケースの側方に配置される第2部品と、の間に配置される、
請求項4に記載の外装部品ユニット。
【請求項7】
前記複数の外装部品は、前記時計ケースの上方に配置される1つの第1部品と、前記時計ケースの側方に配置される複数の第2部品と、を含む、
請求項3に記載の外装部品ユニット。
【請求項8】
前記時計ケースは、上面視において、複数の辺を含む略多角形状に形成され、
前記複数の第2部品は、前記複数の辺に対応して配置される、
請求項7に記載の外装部品ユニット。
【請求項9】
前記複数の外装部品は、前記複数の第2部品のうち隣り合う2つの間に配置される第3部品を含む、
請求項8に記載の外装部品ユニット。
【請求項10】
時計モジュールと、
前記時計モジュールを収容する剛体の時計ケースと、
脆性材料からなり、前記時計ケースの周囲に配置された状態で、内側面における平面の領域が前記時計ケースの外側面における平面の領域に当接する外装部品と、
を備える時計。
発明の詳細な説明
【技術分野】
【0001】
本発明は、外装部品、外装部品ユニット及び時計に関する。
続きを表示(約 1,800 文字)
【背景技術】
【0002】
特許文献1には、リューズ用の保護部材を備える腕時計が開示されている。保護部材は外装ケースの側面にボルトで固定されている。この保護部材のような外装部品に、例えばサファイア等の脆性材料を適用しようとすると、破損させないように配置することが難しい。
【先行技術文献】
【特許文献】
【0003】
特開2021-169968号公報
【発明の概要】
【発明が解決しようとする課題】
【0004】
本発明は、上記事情に鑑みてなされたもので、脆性材料からなる外装部品により時計ケースを好適に外装することを目的とする。
【課題を解決するための手段】
【0005】
前記目的を達成するために、本発明の外装部品は、
脆性材料からなり、
剛体である時計ケースの周囲に配置された状態で、内側面における平面の領域が前記時計ケースの外側面における平面の領域に当接する。
【発明の効果】
【0006】
本発明によれば、脆性材料からなる外装部品により時計ケースを好適に外装することができる。
【図面の簡単な説明】
【0007】
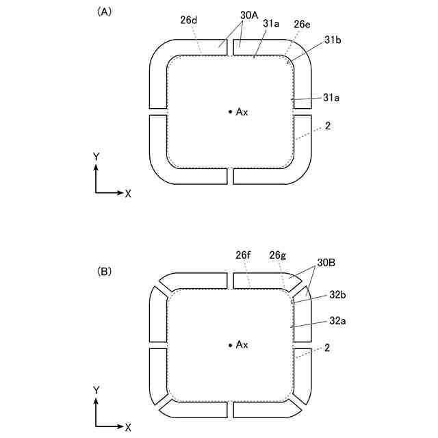
実施形態に係る時計の要部の正面図である。
実施形態に係る時計の要部の分解斜視図である。
図1のIII線での時計の部分断面図である。
図1のIV線での時計の部分断面図である。
実施形態に係るサイドベゼルと時計ケースの当接面を示す図である。
図1のVI線での時計の部分断面図である。
実施形態に係る角ベゼルの分解斜視図である。
図1のVIII線での時計の部分断面図である。
実施形態に係る外装部品の分割態様の変形例を説明するための図である。
【発明を実施するための形態】
【0008】
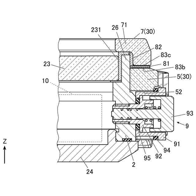
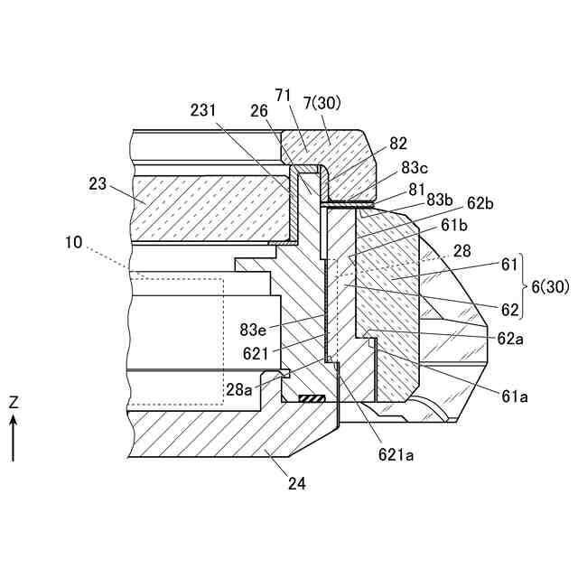
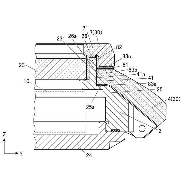
以下、本発明の実施形態について、図面を参照して説明する。図1及び図2に示すように、本実施形態に係る時計100は、ユーザの手首に装着される腕時計である。具体的に、時計100は、時計ケース2とベゼルユニット3を備えている。なお、以下の説明において、時計100におけるXYZの各方向は、各図に示した向きをいう。つまり、X方向はアナログ式の時計における3時-9時方向をいい、Y方向は12時-6時方向をいい、Z方向は時計100(時計ケース2)の正面-背面方向をいう。Z方向のうち、視認側である正面側を「上側(上方)」、背面側を「下側(下方)」という。また、Z方向に沿った時計ケース2の中心軸Axに垂直な方向を「径方向」、中心軸Axを中心とする回転方向を「周方向」といい、中心軸Axに直交する面内において中心軸Axに近い側を「内側(内径側)」、遠い側を「外側(外径側)」という。
【0009】
時計ケース2は、正面視(上面視)で略四角筒状に形成され、正面側(上側)の開口部が可視光を透過する透明の風防部材23で、背面側(下側)の開口部が裏蓋24(図3等参照)で、それぞれ閉塞されている。時計ケース2の材料(素材)は、例えばチタンやステンレス等の金属、又はカーボン等の硬質樹脂である。ただし、時計ケース2は剛体であればよく、その素材は脆性材料以外であれば特に限定されない。本実施形態において、物体が「剛体である」には、例えば当該物体の剛性が接触中の脆性材料よりも大きいのが好ましいが、当該物体が少なくとも弾性材料でなければよい。時計ケース2の内部には、時計モジュール10(図3等参照)が収容される。時計モジュール10には、例えば、時刻を表示する時刻表示部、電源である電池、制御回路が実装された回路基板等が含まれる。なお、時計ケース2の上面視形状は四角筒状に限定されず、例えば四角形以外の多角形状であってもよいし、円形等であってよい。
【0010】
図2及び図3に示すように、時計ケース2の外側面には、上側から下側に向かって段階的に外径側に位置する段付き部25が、略全周に亘って形成されている。段付き部25は、Z方向に略直交して上側を向いた段面25aを有する。時計ケース2のうち段付き部25よりも上側の部分は、上面視で角丸四角筒状の筒状部26となっている。筒状部26の内径側には、第1パッキン231を介して風防部材23が嵌合されている。
(【0011】以降は省略されています)
この特許をJ-PlatPat(特許庁公式サイト)で参照する
関連特許
カシオ計算機株式会社
支持台
5日前
カシオ計算機株式会社
減音器具
7日前
カシオ計算機株式会社
減音器具
7日前
カシオ計算機株式会社
電子鍵盤楽器
5日前
カシオ計算機株式会社
装飾板及び時計
6日前
カシオ計算機株式会社
光源装置及び投影装置
7日前
カシオ計算機株式会社
光源装置及び投影装置
7日前
カシオ計算機株式会社
端末装置及びプログラム
7日前
カシオ計算機株式会社
外装部品ユニット及び時計
5日前
カシオ計算機株式会社
電子機器、及び表示制御方法
9日前
カシオ計算機株式会社
カッターユニット及び切断装置
5日前
カシオ計算機株式会社
制御装置、方法およびプログラム
9日前
カシオ計算機株式会社
補助バスマスタ回路及び電子機器
9日前
カシオ計算機株式会社
演奏装置、方法およびプログラム
7日前
カシオ計算機株式会社
制御装置、方法およびプログラム
9日前
カシオ計算機株式会社
機器、制御方法およびプログラム
1日前
カシオ計算機株式会社
演奏装置、方法およびプログラム
6日前
カシオ計算機株式会社
給電装置、及び、電力伝送システム
1日前
カシオ計算機株式会社
電子機器、及び、電力伝送システム
1日前
カシオ計算機株式会社
ロボット、及びロボットの製造方法
5日前
カシオ計算機株式会社
情報処理装置、方法およびプログラム
5日前
カシオ計算機株式会社
外装部品、外装部品ユニット及び時計
5日前
カシオ計算機株式会社
制御装置、制御方法、及びプログラム
6日前
カシオ計算機株式会社
プログラム、電子機器及び登録処理方法
5日前
カシオ計算機株式会社
電子機器、登録処理方法及びプログラム
5日前
カシオ計算機株式会社
情報処理装置、表示方法、及びプログラム
9日前
カシオ計算機株式会社
活動支援方法、プログラム及び活動支援装置
1日前
カシオ計算機株式会社
情報提供装置、情報提供方法及びプログラム
7日前
カシオ計算機株式会社
情報処理方法、プログラム及び情報処理装置
1日前
カシオ計算機株式会社
音声提供装置、音声提供方法及びプログラム
5日前
カシオ計算機株式会社
情報出力方法、情報出力装置及びプログラム
1日前
カシオ計算機株式会社
情報処理装置、プログラム及び情報処理方法
5日前
カシオ計算機株式会社
情報処理装置、表示制御方法、及びプログラム
5日前
カシオ計算機株式会社
電子時計、電子時計の制御方法及びプログラム
9日前
カシオ計算機株式会社
投影装置、投影装置の調整方法及びプログラム
6日前
カシオ計算機株式会社
印刷装置、印刷装置の制御方法及びプログラム
5日前
続きを見る
他の特許を見る