TOP
|
特許
|
意匠
|
商標
特許ウォッチ
Twitter
他の特許を見る
10個以上の画像は省略されています。
公開番号
2025163923
公報種別
公開特許公報(A)
公開日
2025-10-30
出願番号
2024067568
出願日
2024-04-18
発明の名称
売上データ処理システム、売上データ処理方法、及びプログラム
出願人
カシオ計算機株式会社
代理人
個人
,
個人
主分類
G06Q
20/20 20120101AFI20251023BHJP(計算;計数)
要約
【課題】会計処理における作業を軽減して利便性を向上させる。
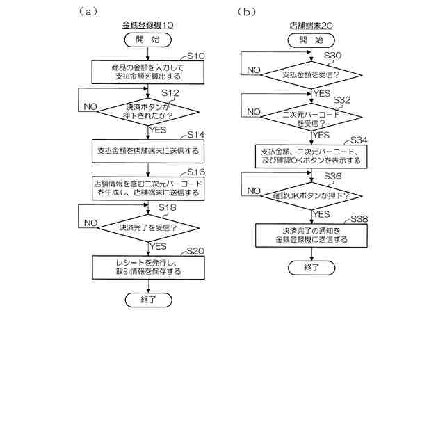
【解決手段】金銭登録機10は、顧客が購入した商品(サービス)の販売金額(支払金額)を計算し、支払金額と店舗情報等を含む二次元バーコードを生成して店舗端末20に送信する。店舗端末20は、支払金額、二次元バーコード、及び「確認OK」ボタンを表示部に表示する。顧客は、店舗端末20の二次元バーコードを自身の携帯端末で読み込んで決済する。店員は、決済が完了したことを確認すると、店舗端末20の表示部に表示されている「確認OK」ボタンを押下する。店舗端末20は、「確認OK」ボタンが押下されると、決済完了の通知を金銭登録機10に送信する。金銭登録機10は、現金決済による取引情報と、二次元バーコードによる電子決済の取引情報とを一つの帳簿で管理する。
【選択図】図1
特許請求の範囲
【請求項1】
商品の売り上げを登録する金銭登録機と、店舗端末とを含む売上データ処理システムであって、
前記商品の支払いに関する決済用コードと、入力操作を受け付けると前記決済用コードによる決済が終了したことを示す決済終了通知を前記店舗端末から前記金銭登録機に送信するための確認ボタンとを前記店舗端末の表示部に表示させる表示制御手段を備え、
前記確認ボタンが押下されると、前記決済用コードによる会計処理を終了する、
ことを特徴とする売上データ処理システム。
続きを表示(約 1,300 文字)
【請求項2】
前記店舗端末は、前記決済終了通知とともに前記決済用コードによる取引情報を前記金銭登録機に送信し、
前記金銭登録機は、前記決済終了通知を受信すると、前記決済用コードによる取引情報と、前記決済用コード以外の決済方法による取引情報とを、同一の帳簿として前記金銭登録機に保存する、
ことを特徴とする請求項1に記載の売上データ処理システム。
【請求項3】
前記商品の支払金額を含む決済用コードを生成するコード生成手段を更に備え、
前記表示制御手段は、前記店舗端末の表示部に前記支払金額を含む決済用コードを表示させる、
ことを特徴とする請求項1又は2に記載の売上データ処理システム。
【請求項4】
前記表示制御手段は、前記決済用コードによる決済が終了した際に前記確認ボタンを前記店舗端末の表示部に表示させる、
ことを特徴とする請求項1又は2に記載の売上データ処理システム。
【請求項5】
前記店舗端末は、
前記商品の支払いに関する会計情報の入力を受け付ける入力受付手段と、
前記会計情報が対応付けられた決済用コードを生成するコード生成手段と、
前記決済用コードを表示部に表示させる前記表示制御手段と、
を備えることを特徴とする請求項1又は2に記載の売上データ処理システム。
【請求項6】
前記売上データ処理システムは、複数の前記店舗端末を備えており、
前記金銭登録機は、少なくとも支払金額を含む第1の会計処理に関する情報を、前記複数の店舗端末のうちいずれか1つの前記店舗端末に送信した後、当該情報を送信した前記いずれか1つの店舗端末からの前記決済終了通知を待たずに、第2の会計処理を開始する、
ことを特徴とする請求項3に記載の売上データ処理システム。
【請求項7】
商品の売り上げを登録する金銭登録機と、店舗端末とを含む売上データ処理システムによる売上データ処理方法であって、
前記商品の支払いに関する決済用コードと、入力操作を受け付けると前記決済用コードによる決済が終了したことを示す決済終了通知を前記店舗端末から前記金銭登録機に送信するための確認ボタンとを、前記店舗端末の表示部に表示させるステップと、
前記確認ボタンが押下されると、前記決済用コードによる会計処理を終了するステップと、
を含むことを特徴とする売上データ処理方法。
【請求項8】
商品の売り上げを登録する金銭登録機と、店舗端末とを含む売上データ処理システムが備えるコンピュータに、
前記商品の支払いに関する決済用コードと、入力操作を受け付けると前記決済用コードによる決済が終了したことを示す決済終了通知を前記店舗端末から前記金銭登録機に送信するための確認ボタンとを、前記店舗端末の表示部に表示させる表示制御機能、
前記確認ボタンが押下されると、前記決済用コードによる会計処理を終了する会計処理終了機能、
を実現させることを特徴とするプログラム。
発明の詳細な説明
【技術分野】
【0001】
本発明は、売上データ処理システム、売上データ処理方法、及びプログラムに関する。
続きを表示(約 2,200 文字)
【背景技術】
【0002】
近年、商品又はサービスの代金の決済を、電子決済で行う技術が普及している。ユーザスキャン型の電子決済では、顧客が自分のスマートフォンで、店舗に設置されている二次元バーコード(例えば、QRコード(登録商標))を読み込んだ後、支払金額を顧客が自身で入力することで決済を完了する(例えば、特許文献1参照)。
【先行技術文献】
【特許文献】
【0003】
特開2022-147655号公報
【発明の概要】
【発明が解決しようとする課題】
【0004】
上述した特許文献1によるユーザスキャン型の電子決済方法では、顧客による決済完了を目視で確認した後、会計処理を終了するために金銭登録機で操作を行う必要があり、利便性に劣るという問題があった。
そこで本発明は、会計処理における作業を軽減して利便性を向上させることを目的とする。
【課題を解決するための手段】
【0005】
この発明に係る売上データ処理システムは、商品の売り上げを登録する金銭登録機と、店舗端末とを含む売上データ処理システムであって、前記商品の支払いに関する決済用コードと、入力操作を受け付けると前記決済用コードによる決済が終了したことを示す決済終了通知を前記店舗端末から前記金銭登録機に送信するための確認ボタンとを、前記店舗端末の表示部に表示させる表示制御手段を備え、前記確認ボタンが押下されると、前記決済用コードによる会計処理を終了する、ことを特徴とする。
【0006】
この発明に係る売上データ処理方法は、商品の売り上げを登録する金銭登録機と、店舗端末とを含む売上データ処理システムによる売上データ処理方法であって、前記商品の支払いに関する決済用コードと、入力操作を受け付けると前記決済用コードによる決済が終了したことを示す決済終了通知を前記店舗端末から前記金銭登録機に送信するための確認ボタンとを、前記店舗端末の表示部に表示させるステップと、前記確認ボタンが押下されると、前記決済用コードによる会計処理を終了するステップと、を含むことを特徴とする。
【0007】
この発明に係るプログラムは、商品の売り上げを登録する金銭登録機と、店舗端末とを含む売上データ処理システムが備えるコンピュータに、前記商品の支払いに関する決済用コードと、入力操作を受け付けると前記決済用コードによる決済が終了したことを示す決済終了通知を前記店舗端末から前記金銭登録機に送信するための確認ボタンとを、前記店舗端末の表示部に表示させる表示制御機能、前記確認ボタンが押下されると、前記決済用コードによる会計処理を終了する会計処理終了機能、を実現させることを特徴とする。
【発明の効果】
【0008】
この発明によれば、会計処理における作業を軽減して利便性を向上させることができる。
【図面の簡単な説明】
【0009】
本発明の第1実施形態による売上データ処理システムの構成を示す摸式図である。
本第1実施形態による金銭登録機と店舗端末の構成を示すブロック図である。
本第1実施形態による売上データ処理システムの動作を説明するためのフローチャートである。
本第2実施形態による売上データ処理システムの動作を説明するためのフローチャートである。
本発明の第3実施形態による売上データ処理システムの構成を示す摸式図である。
本第3実施形態による売上データ処理システムの動作を説明するためのフローチャートである。
本第3実施形態による売上データ処理システムの動作を説明するためのフローチャートである。
本第4実施形態による売上データ処理システムの構成を示す摸式図である。
本第4実施形態による売上データ処理システムの動作を説明するためのフローチャートである。
【発明を実施するための形態】
【0010】
本発明における機器の制御装置を図1に示す売上データ処理システム1に適用した第1実施形態について、図面を参照して説明する。売上データ処理システム1は、図1に示すように、金銭登録機10、及び店舗端末20からなる。金銭登録機10は、顧客が購入した商品やサービスの販売金額(支払金額)を計算するキャッシュレジスターであり、現金決済及び二次元バーコード(決済用コード)による電子決済の双方を行う。金銭登録機10は、二次元バーコードによる電子決済の取引情報と、二次元バーコードによる電子決済の取引情報とを一つの帳簿で管理する。店舗端末20は、店舗決済用のアプリケーションがインストールされたスマートフォン、あるいは専用端末からなる。店舗端末20は、店舗が用意した端末であり、金銭登録機10の近傍に置かれたり、店員に携帯されたりする。金銭登録機10と店舗端末20は、近距離無線通信(例えば、Bluetooth(登録商標))や、Wi-Fi(登録商標)などでデータを送受信することが可能となっており、金銭登録機10から店舗端末20には、支払金額と店舗情報等を含む二次元バーコードとが送信され、店舗端末20から金銭登録機10には、決済完了通知が送信される。
(【0011】以降は省略されています)
この特許をJ-PlatPat(特許庁公式サイト)で参照する
関連特許
個人
詐欺保険
23日前
個人
縁伊達ポイン
23日前
個人
RFタグシート
10日前
個人
ペルソナ認証方式
7日前
個人
QRコードの彩色
27日前
個人
地球保全システム
1か月前
個人
情報処理装置
2日前
個人
自動調理装置
9日前
個人
残土処理システム
29日前
個人
農作物用途分配システム
22日前
個人
インターネットの利用構造
6日前
個人
タッチパネル操作指代替具
16日前
個人
知的財産出願支援システム
1か月前
個人
携帯端末障害問合せシステム
15日前
個人
スケジュール調整プログラム
15日前
個人
エリアガイドナビAIシステム
7日前
個人
海外支援型農作物活用システム
1か月前
個人
食品レシピ生成システム
1か月前
株式会社キーエンス
受発注システム
1か月前
株式会社キーエンス
受発注システム
1か月前
株式会社キーエンス
受発注システム
1か月前
トヨタ自動車株式会社
通知装置
13日前
キヤノン株式会社
情報処理装置
今日
個人
未来型家系図構築システム
1か月前
大同特殊鋼株式会社
疵判定方法
1か月前
エッグス株式会社
情報処理装置
16日前
キヤノン株式会社
印刷システム
15日前
株式会社ワコム
電子ペン
1日前
個人
音声・通知・再配達UX制御構造
1か月前
個人
帳票自動生成型SaaSシステム
1か月前
キヤノン株式会社
表示システム
1か月前
株式会社ワコム
電子ペン
1日前
株式会社ケアコム
項目選択装置
2日前
株式会社ケアコム
項目選択装置
2日前
大同特殊鋼株式会社
棒材計数方法
28日前
株式会社竹中工務店
管理システム
1か月前
続きを見る
他の特許を見る