TOP
|
特許
|
意匠
|
商標
特許ウォッチ
Twitter
他の特許を見る
10個以上の画像は省略されています。
公開番号
2025168494
公報種別
公開特許公報(A)
公開日
2025-11-07
出願番号
2025146153,2023100919
出願日
2025-09-03,2023-06-20
発明の名称
時計
出願人
カシオ計算機株式会社
代理人
弁理士法人鈴榮特許綜合事務所
主分類
G04B
19/04 20060101AFI20251030BHJP(時計)
要約
【課題】衝撃による支持構造の破損や指針の位置ずれを防止できる時計を提供する。
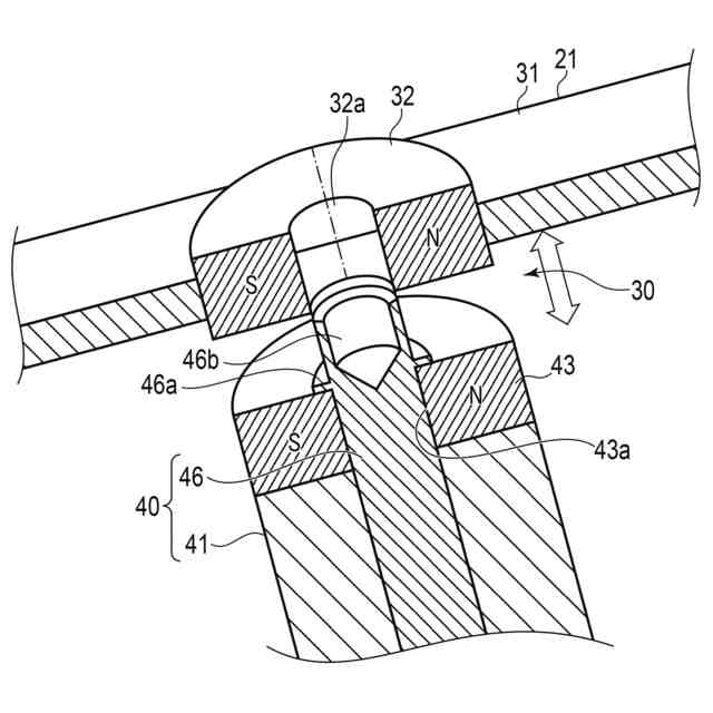
【解決手段】一形態にかかる時計(10)は、第1の指針(分針21)と、前記第1の指針(分針21)に固定される第1の磁性体(従動磁石32)と、前記第1の磁性体(従動磁石32)に対向配置される第2の磁性体(駆動磁石43)と、前記第2の磁性体(駆動磁石43)に固定される第1軸(40)と、前記第1軸(40)と連動する第1の回転車(分針用歯車42)を含む輪列機構(23)と、前記第1の磁性体(従動磁石32)を介して前記第2の磁性体(駆動磁石43)と対向配置される規制部材(24)と、を備える。
【選択図】図3
特許請求の範囲
【請求項1】
第1の指針と、
前記第1の指針に固定される第1の磁性体と、
前記第1の磁性体に対向配置される第2の磁性体と、
前記第2の磁性体に固定される第1軸と、
前記第1軸と連動する第1の回転車を含む輪列機構と、
前記第1の磁性体を介して前記第2の磁性体と対向配置される規制部材と、
を備える、時計。
続きを表示(約 1,000 文字)
【請求項2】
前記規制部材は、前記第1軸に固定される、請求項1に記載の時計。
【請求項3】
前記第2の磁性体は、磁性により前記第1の磁性体を保持し、
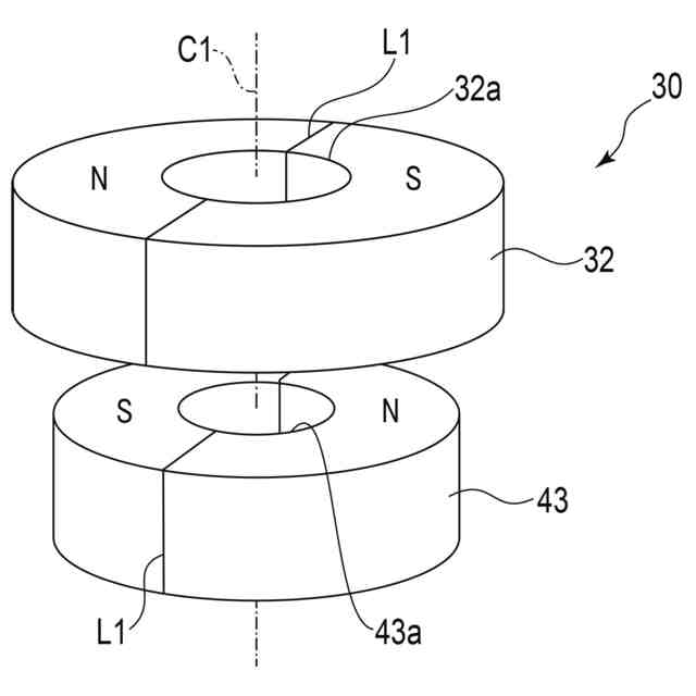
前記第1の磁性体及び前記第2の磁性体は、円形状に構成されるとともに、回転の周方向に分極される磁石である、請求項1に記載の時計。
【請求項4】
前記第1の磁性体及び前記第2の磁性体は軸方向において対向配置される、請求項1または2に記載の時計。
【請求項5】
前記第1の磁性体及び前記第2の磁性体は、中心に孔部を有する円環状に構成され、 前記第1軸は、軸体と、軸体の先端部に設けられるとともに、前記孔部に配され、前記第1の磁性体を、前記軸体に回転可能に支持し、前記第1の磁性体の回転の径方向の移動を規制する支持部材と、を備え、
前記規制部材は前記支持部材の先端部に固定される、請求項1に記載の時計。
【請求項6】
前記規制部材は、前記第1の磁性体の一方の面側に配置されるカバー部と、前記カバー部の他方の面側に接続され前記支持部材の先端部に固定されるピンと、を備える、請求項5に記載の時計。
【請求項7】
前記規制部材は、非磁性材料で形成され、前記第1軸に固定され、前記第1の磁性体の一方の面側に配置される規制部を有し、
前記規制部材と前記規制部材の表側に対向配置される対向部材との隙間の軸方向の寸法は、前記第1の磁性体の基端部から前記第1軸の先端部までの軸方向の寸法よりも小さい、請求項1に記載の時計。
【請求項8】
第2の指針を備え、
前記輪列機構は、前記第2の指針が固定される第2軸を有する第2の回転車を含み、 前記第1軸と前記第2軸は同軸に配置される、
請求項1に記載の時計。
【請求項9】
第3の指針を備え、
前記輪列機構は、前記第3の指針が固定される第3軸を有する第3の回転車を含み、 前記第1軸と前記第2軸と前記第3軸は同軸に配置される、
請求項8に記載の時計。
【請求項10】
前記第1の指針は分針であり、
前記第2の指針または前記第3の指針は時針または秒針であり、
前記第1の指針、前記第1軸、前記第2の指針、前記第2軸、前記第3の指針、及び前記第3軸の少なくともいずれかが非磁性材料で構成される、請求項9に記載の時計。
発明の詳細な説明
【技術分野】
【0001】
本発明は、時計に関する。
続きを表示(約 1,500 文字)
【背景技術】
【0002】
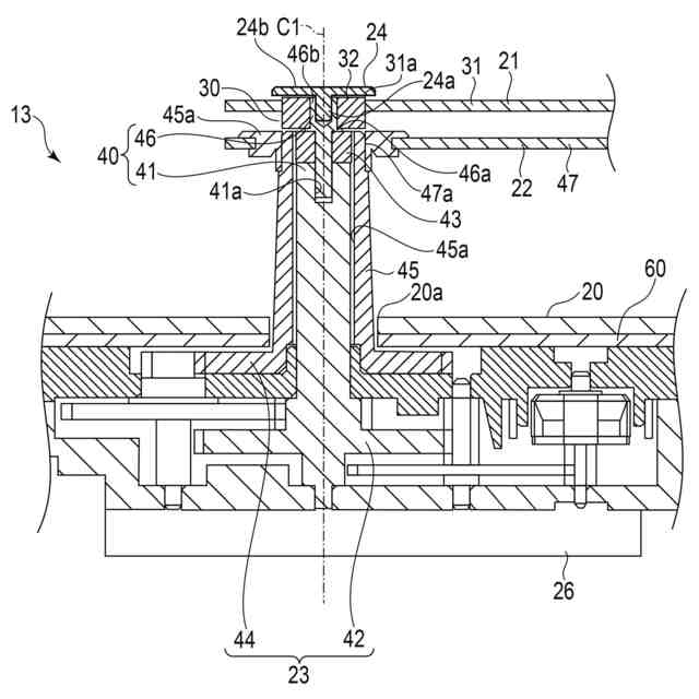
腕時計などの時計は、ケースの内部に、各種部品を備える時計モジュールが収容される。時計モジュールは、文字盤、分針や時針等の指針、輪列機構、駆動源等を備える。
【0003】
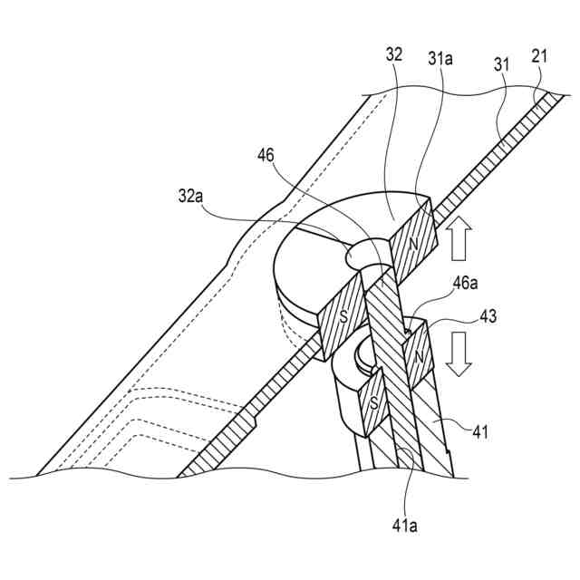
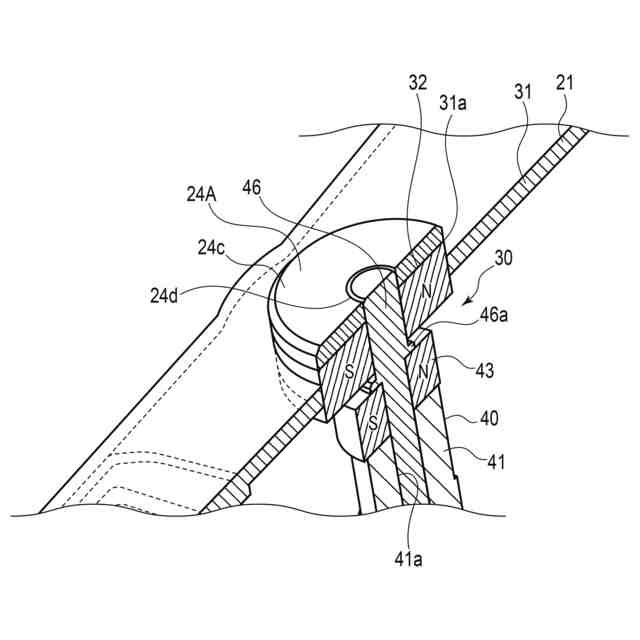
このような指針の支持構造において、4番車軸の先端部に固定された駆動磁石と、秒針軸の下部に取り付けられた従動磁石と、を備え、磁石の磁力を用いた機構が開示されている(例えば、特許文献1参照)。指針の支持構造に磁石の磁力を用いた機構において、時計が落下などによる衝撃を受けると、磁石の位置がずれ、あるいは磁石の反発力が生じる等により、支持構造の破損や指針の位置ずれが発生する場合がある。
【先行技術文献】
【特許文献】
【0004】
特開昭50-46162号公報
【発明の概要】
【発明が解決しようとする課題】
【0005】
本発明は、このような課題に鑑みなされたもので、衝撃による支持構造の破損や指針の位置ずれを防止できる時計を提供することを目的とする。
【課題を解決するための手段】
【0006】
本発明の一形態にかかる時計は、第1の指針と、前記第1の指針に固定される第1の磁性体と、前記第1の磁性体に対向配置される第2の磁性体と、前記第2の磁性体に固定される第1軸と、前記第1軸と連動する第1の回転車を含む輪列機構と、前記第1の磁性体を介して前記第2の磁性体と対向配置される規制部材と、を備える。
【発明の効果】
【0007】
本発明によれば、衝撃による支持構造の破損や指針の位置ずれを防止できる。
【図面の簡単な説明】
【0008】
第1実施形態に係る時計の構成を示す平面図である。
同時計の構成を示す断面図である。
同時計の指針及び輪列機構の構成を示す断面図である。
同時計の指針及び輪列機構の一部の構成を示す説明図である。
同時計の磁性体の構成を示す説明図である。
同時計の指針及び輪列機構の一部の保持構造の説明図である。
第2実施形態にかかる時計の指針及び輪列機構の一部の構成を示す説明図である。
同時計の保持構造の説明図である。
同時計の保持構造の説明図である。
第3実施形態にかかる時計の指針及び輪列機構の一部の構成を示す説明図である。
第3実施形態にかかる時計の指針及び輪列機構の一部の保持構造の説明図である。
第4実施形態にかかる時計の指針及び輪列機構の一部の構成を示す説明図である。
【発明を実施するための形態】
【0009】
[第1実施形態]
以下、本発明の第1実施形態にかかる時計10の構成について、図1乃至図6を参照して説明する。図1は、第1実施形態に係る時計の構成を示す平面図であり、図2は時計の構成を示す断面図である。図3は時計の指針及び輪列機構の構成を示す断面図である。図4は輪列機構の一部の構成を示す説明図であり、図5は時計の磁性体の構成を示す説明図である。図6は保持構造の説明図である。各図において、適宜構成を拡大、縮小、省略して概略的に示す。
【0010】
図1及び図2に示すように、時計10は、例えば腕時計であり、外郭を構成するケース11と、ケース11内に設けられた時計モジュール13と、時計モジュール13の表側を覆う時計ガラス15と、時計モジュール13の裏側を覆う裏蓋16と、ケース11の外周に配された1または複数のスイッチ17と、を備える。
(【0011】以降は省略されています)
この特許をJ-PlatPat(特許庁公式サイト)で参照する
関連特許
カシオ計算機株式会社
光源装置及び投影装置
1か月前
カシオ計算機株式会社
プログラム及びデータ処理方法
16日前
カシオ計算機株式会社
イヤホンデバイス、電子システム
23日前
カシオ計算機株式会社
電子機器、入力制御方法、及びプログラム
1か月前
カシオ計算機株式会社
学習支援装置、学習支援方法及びプログラム
2日前
カシオ計算機株式会社
情報処理装置、情報処理方法、及びプログラム
26日前
カシオ計算機株式会社
ウェアラブル機器、装着判定方法及びプログラム
26日前
カシオ計算機株式会社
電子機器、報知方法、プログラム及び報知システム
2日前
カシオ計算機株式会社
時計
23日前
カシオ計算機株式会社
電子鍵盤楽器
25日前
カシオ計算機株式会社
売上データ処理システム、売上データ処理方法、及びプログラム
1か月前
カシオ計算機株式会社
バンド駒の製造方法
23日前
カシオ計算機株式会社
電子楽器、方法およびプログラム
16日前
カシオ計算機株式会社
ロボット、制御方法及びプログラム
16日前
カシオ計算機株式会社
ロボット、制御方法及びプログラム
16日前
カシオ計算機株式会社
表示形式変更方法、電子機器及びプログラム
10日前
カシオ計算機株式会社
情報処理装置、情報制御方法、及び、プログラム
1か月前
カシオ計算機株式会社
プログラム、サーバ及びウェブアプリケーションの認証情報生成方法
4日前
個人
砂時計
2か月前
個人
時刻同期システム
2か月前
セイコーウオッチ株式会社
時計
1か月前
セイコーエプソン株式会社
電子時計
1か月前
個人
ワイヤレス給電を使用した針が光るアナログ式時計
26日前
セイコーエプソン株式会社
電子時計
10日前
セイコーエプソン株式会社
電子時計
23日前
ローム株式会社
時間測定回路
1か月前
オメガ・エス アー
交換可能なベゼルを備える計時器
18日前
セイコーエプソン株式会社
文字板及び時計
10日前
日本電波株式会社
電波時計レピータ
26日前
日本電気株式会社
時刻維持装置および時刻維持方法
24日前
シチズン時計株式会社
腕時計
1か月前
株式会社村田製作所
光学的パターン表示物品
1か月前
シチズン時計株式会社
電子時計
2か月前
セイコーエプソン株式会社
電子制御式機械時計
2か月前
シチズン時計株式会社
機械式時計
3か月前
カシオ計算機株式会社
装飾板及び時計
1か月前
続きを見る
他の特許を見る