TOP
|
特許
|
意匠
|
商標
特許ウォッチ
Twitter
他の特許を見る
10個以上の画像は省略されています。
公開番号
2025159235
公報種別
公開特許公報(A)
公開日
2025-10-17
出願番号
2025138799,2024100961
出願日
2025-08-22,2022-04-14
発明の名称
スタンド、鍵盤楽器セット
出願人
カシオ計算機株式会社
代理人
弁理士法人コスモ国際特許事務所
主分類
G10G
5/00 20060101AFI20251009BHJP(楽器;音響)
要約
【課題】良好なスタンド、鍵盤楽器セットを提供する。
【解決手段】スタンド100は、横架部材150と、多角形状部161を含み横架部材150に設けられる連結部材160と、多角形状部161の第1面161aに固定される、水平方向の断面Saが長方形状の第1脚本体111を含む第1脚部材と、を含む。
【選択図】図4
特許請求の範囲
【請求項1】
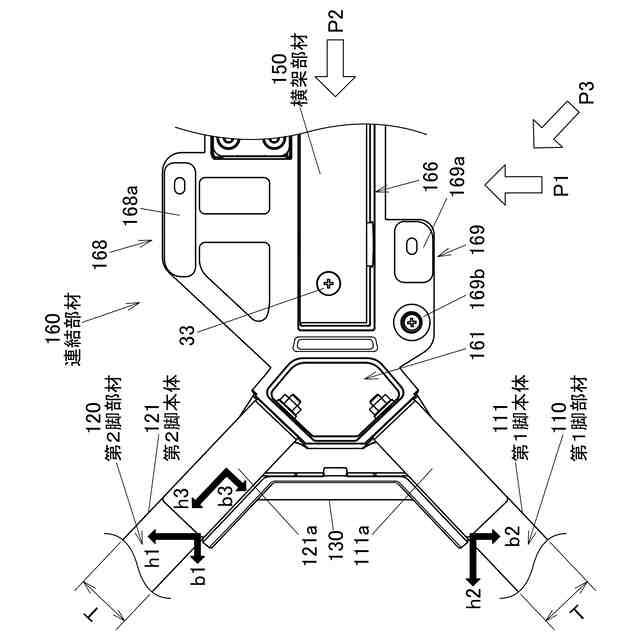
左右方向に長い横架部材と、
前記横架部材の端部に設けられ、前記横架部材が固定される連結部材と、
夫々前記連結部材に固定される第1脚部材と第2脚部材を含む脚部材と、
を含み、
前記第1脚部材と前記第2脚部材との間の角が略直角に設けられる、
スタンド。
続きを表示(約 550 文字)
【請求項2】
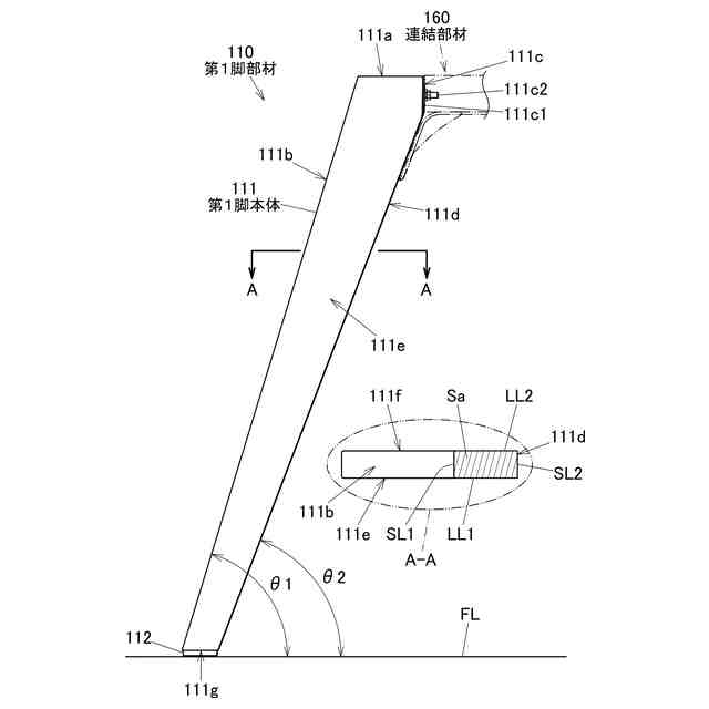
前記第1脚部材と前記第2脚部材は、夫々水平方向の断面が長方形状の脚本体を含む、
請求項1に記載のスタンド。
【請求項3】
前記連結部材は、前記横架部材の下側に延設され、前記脚部材を支持する延設部を含む、
請求項1に記載のスタンド。
【請求項4】
前記連結部材は、鍵盤楽器を固定する鍵盤楽器固定部を有し、
前記連結部材は、前記鍵盤楽器の固定位置を決める位置決めピンが配置される、
請求項1に記載のスタンド。
【請求項5】
前記連結部材は、ペダルフレームを固定するペダルフレーム固定部を有する、
請求項1に記載のスタンド。
【請求項6】
前記連結部材は、前記脚部材を固定する多角形状部を有する、
請求項1に記載のスタンド。
【請求項7】
前記連結部材は、前記脚部材を支持する延設部と、前記脚部材を固定する多角形状部の下面と、の間に補強リブを有する、
請求項1に記載のスタンド。
【請求項8】
請求項1乃至7の何れかに記載のスタンドと、
前記スタンドの上側に配置される鍵盤楽器と、
を備える鍵盤楽器セット。
発明の詳細な説明
【技術分野】
【0001】
本発明は、スタンド、鍵盤楽器セットに関する。
続きを表示(約 1,600 文字)
【背景技術】
【0002】
従来から、種々の装置に取り付けられる脚部としてのスタンドが開示されている。例えば、特許文献1には、電子鍵盤楽器の下面に設けられる雌ねじ部に螺合して取り付ける4本の脚を備えるスタンドが開示されている。このスタンドの脚は、互いに拡開するように設けられている。
【先行技術文献】
【特許文献】
【0003】
実用新案登録第3182648公報
【発明の概要】
【発明が解決しようとする課題】
【0004】
このようなスタンドは、例えば脚の下端を壁面等に押し当てて設置することがある。このとき、壁面等に強く押し当ててしまうことがあり、このため所定の剛性が要求されることがある。上記従来のスタンドのように、棒状の脚が螺合接続で筐体に取り付けられている場合には、雄ねじ部の直径を大きくしたり、筐体と脚の接続面を大きくしたりすることが考えられるが、そうすると、スタンド自体の大型化を招き、意匠性が低下してしまうことがある。
【0005】
本発明は、良好なスタンド、鍵盤楽器セットを提供することを目的とする。
【課題を解決するための手段】
【0006】
本発明に係るスタンドは、左右方向に長い横架部材と、前記横架部材の端部に設けられ、前記横架部材が固定される連結部材と、夫々前記連結部材に固定される第1脚部材と第2脚部材を含む脚部材と、を含み、前記第1脚部材と前記第2脚部材との間の角が略直角に設けられる。
【0007】
本発明に係る鍵盤楽器セットは、上述のスタンドと、該スタンドの上側に配置される鍵盤楽器と、を備える。
【発明の効果】
【0008】
本発明によれば、良好なスタンド、鍵盤楽器セットを提供することができる。
【図面の簡単な説明】
【0009】
本発明の実施形態に係るスタンドを示す斜視図である。
本発明の実施形態に係るスタンドの平面図である。
本発明の実施形態に係るスタンドの第1脚部材を示す正面図である。
本発明の実施形態に係るスタンドの左側の連結部材周辺を上方前側から見た斜視図である。
本発明の実施形態に係るスタンドの左側の連結部材周辺を上方後側から見た斜視図である。
本発明の実施形態に係るスタンドの左側の連結部材周辺を下方右側から見た斜視図である。
本発明の実施形態に係るスタンドの左側の連結部材周辺を上方左側から見た斜視図である。
本発明の実施形態に係るスタンドの左側の連結部材を示す左側面図である。
本発明の実施形態に係るスタンドの左側の連結部材と第1脚部材、第2脚部材との接続部周辺を示す平面図である。
【発明を実施するための形態】
【0010】
以下、本発明の実施形態を図に基づいて説明する。図1には、二点鎖線で示す略直方体形状の鍵盤楽器10を支持するスタンド100が示されている。鍵盤楽器セット1は、スタンド100と、スタンド100の上側に配置される鍵盤楽器10と、を備える。スタンド100には、3つのペダル210を備えるペダル装置200が設けられている。なお、以下の説明においては、ペダル210の前後方向(鍵盤楽器10の図示しない鍵の前後方向)を前後方向FBとして、前を前側F(演奏者側)、後を後側Bとし、ペダル210が配列する方向(鍵盤楽器10の図示しない鍵の配列方向)を左右方向LRとしてペダル装置200に向かって左を左側L、右を右側Rとする。また、ペダル装置200の上下方向ULにおいて上を上側Up、下を下側Loとする。なお、スタンド100が支持する対象は、本実施形態においては鍵盤楽器10としたが、他の楽器や、各種の装置等であってもよい。
(【0011】以降は省略されています)
この特許をJ-PlatPat(特許庁公式サイト)で参照する
関連特許
個人
遮音材
11日前
個人
木管楽器
1か月前
個人
管楽器用リガチャ-
28日前
個人
歌唱補助器具
20日前
個人
音声出力装置
11日前
横浜ゴム株式会社
音響材
4日前
大和ハウス工業株式会社
音低減設備
21日前
DIC株式会社
吸音材及び吸音部品
22日前
NOK株式会社
吸音構造体
13日前
株式会社SinasSP
自動騒音低減装置
1か月前
横浜ゴム株式会社
多層空洞音響材
11日前
矢崎総業株式会社
車両用対話システム
12日前
トヨタ自動車株式会社
判定装置
1か月前
株式会社第一興商
カラオケ装置
12日前
株式会社第一興商
カラオケ装置
1か月前
日本軽金属株式会社
遮音壁
1か月前
カシオ計算機株式会社
発音装置、発音方法及びプログラム
1か月前
日本電気株式会社
放送用システムおよび字幕作成方法
1か月前
シャープ株式会社
電子機器および電子機器の制御方法
1か月前
ブラザー工業株式会社
カラオケ装置及びカラオケプログラム
1か月前
株式会社JVCケンウッド
収音装置、収音方法、およびプログラム
1か月前
ブラザー工業株式会社
カラオケ用プログラム、及び、カラオケ装置
1か月前
ブラザー工業株式会社
音声録音装置、及び、音声録音用プログラム
1か月前
大建工業株式会社
吸音体及び音環境調整構造
1か月前
有限会社ツバサ
エレキギターおよび保護フィルム付きの樹脂プレート
1か月前
株式会社河合楽器製作所
鍵盤楽器の鍵盤装置
1か月前
有限会社 宮脇工房
モーター挙動音発生装置
20日前
株式会社河合楽器製作所
鍵盤楽器の鍵盤装置
1か月前
株式会社リコー
対話装置、対話システム、対話方法及びプログラム
1か月前
株式会社NTTドコモ
情報処理装置及び情報処理方法
1か月前
株式会社SUBARU
乗物用遮音構造体、及び車両
1か月前
株式会社デンソー
制御装置、制御方法、及び制御プログラム
4日前
株式会社河合楽器製作所
鍵盤楽器の楽音制御装置
1か月前
株式会社河合楽器製作所
鍵盤楽器の楽音制御方法
1か月前
株式会社河合楽器製作所
鍵盤楽器の楽音制御方法
1か月前
本田技研工業株式会社
能動型振動騒音低減装置
1か月前
続きを見る
他の特許を見る