TOP
|
特許
|
意匠
|
商標
特許ウォッチ
Twitter
他の特許を見る
10個以上の画像は省略されています。
公開番号
2025165151
公報種別
公開特許公報(A)
公開日
2025-11-04
出願番号
2024069083
出願日
2024-04-22
発明の名称
電波時計レピータ
出願人
日本電波株式会社
代理人
弁理士法人広和特許事務所
主分類
G04G
5/00 20130101AFI20251027BHJP(時計)
要約
【課題】 部品を紛失することなく、片手で取り付けることが可能な電波時計レピータを提供する。
【解決手段】 疑似標準電波を出力する子機本体21と、子機本体21が収容された子機ケーシング12と、子機ケーシング12に設けられ、壁面取付具Fに子機ケーシング12を掛止めする掛止め具13と、子機ケーシング12の正面に電波時計Cを固定する取付具16Dと、を備えている。掛止め具13は、壁面取付具Fの先端部Ftが挿入される壁掛け穴14Aが形成された板体14と、壁掛け穴14Aよりも下側に位置して先端部Ftを抜け止めするロック部材15と、を備え、ロック部材15は、板体14に固定された板バネ部材15Aと、板バネ部材15Aに取り付けられ、壁掛け穴14Aに対して接近と離反が可能な非固定部15Bと、を備え、非固定部15Bは、壁掛け穴14Aに対して接近した状態に付勢されている。
【選択図】 図7
特許請求の範囲
【請求項1】
疑似標準電波を出力する本体と、
前記本体が収容されたケーシングと、
前記ケーシングに設けられ、壁面に固定された壁面取付具に前記ケーシングを掛止めする掛止め具と、
壁掛け式の電波時計に前記ケーシングが重なるように、前記ケーシングのうち前記壁面と反対側となる正面に前記電波時計を固定する取付具と、を備え、
前記掛止め具は、
前記壁面取付具の先端部が挿入される壁掛け穴が形成された板体と、
前記壁掛け穴よりも下側に位置して、前記壁面取付具の前記先端部を抜け止めするロック部材と、を備え、
前記ロック部材は、
前記板体に固定された固定部と、
前記固定部に取り付けられ、前記壁掛け穴に対して接近と離反が可能な非固定部と、を備え、
前記非固定部は、前記壁掛け穴に対して接近した状態に付勢されていることを特徴とする電波時計レピータ。
続きを表示(約 540 文字)
【請求項2】
前記板体には、前記壁掛け穴の下側に位置して前記壁掛け穴に連続した取付穴が形成されており、
前記非固定部は、前記壁掛け穴と前記取付穴とを区切る位置に向けて付勢されていることを特徴とする請求項1に記載の電波時計レピータ。
【請求項3】
前記取付穴は、前記壁掛け穴に比べて大きな開口面積を有し、
前記板体は、前記取付穴から前記壁掛け穴に向けて前記壁面取付具の前記先端部を案内する案内部を備え、
前記非固定部は、前記壁面取付具の前記先端部が前記取付穴から前記壁掛け穴に向けて移動するときに前記先端部に押されて変位し、前記壁面取付具の前記先端部が前記壁掛け穴に挿入されたときに前記壁掛け穴と前記取付穴とを区切る位置に戻ることを特徴とする請求項2に記載の電波時計レピータ。
【請求項4】
前記固定部は、撓み変形可能な板バネ部材であり、
前記板バネ部材の基端側は、前記板体に取り付けられて固定端となり、
前記板バネ部材の先端側は、前記非固定部が取り付けられており、前記板バネ部材の撓み変形方向に対して前記非固定部が変位可能な自由端となっていることを特徴とする請求項1に記載の電波時計レピータ。
発明の詳細な説明
【技術分野】
【0001】
本開示は、電波時計に向けて疑似標準電波を出力可能な電波時計レピータに関する。
続きを表示(約 1,900 文字)
【背景技術】
【0002】
特許文献1,2には、電波時計に向けて標準電波と同じ仕様の疑似的な標準電波(以下、疑似標準電波という)を出力する電波時計レピータが開示されている。この電波時計レピータは、例えばインターネット等を経由して時刻情報を取得し、この時刻情報に基づく疑似標準電波を、標準電波を受信し難い場所に設置された電波時計に向けて送信する。
【0003】
電波時計レピータは、疑似標準電波を出力する本体が収容されたケーシングに掛止め具を備えている。掛止め具は、壁面に固定された壁面取付具の先端部に掛止めされる。また、電波時計レピータは、壁面取付具の先端部が壁掛け穴から抜けるのを抑制する閂部材を備えている。この閂部材は、壁掛け穴に掛けられた壁面取付具の先端部よりも下側に位置し、壁掛け穴を水平方向に跨いでケーシングに取り付けられる。
【先行技術文献】
【特許文献】
【0004】
特開2023-135817号公報
特開2024-7708号公報
【発明の概要】
【発明が解決しようとする課題】
【0005】
ところで、壁掛け式の電波時計は、離れた場所からも目視できるように壁面の高い位置に配置するのが一般的である。従って、電波時計レピータを壁面に取り付ける場合には、電波時計レピータを手で持って梯子や脚立に上り、壁掛け穴を壁面取付具の先端部に掛ける作業を行うことになる。
【0006】
ここで、特許文献1,2に開示された電波時計レピータは、壁面取付具の先端部が壁掛け穴から抜けるのを抑制する閂部材を備えている。閂部材は、ケーシングと別部材として形成されているから、一方の手でケーシングを持ち、他方の手で閂部材を持って作業を行う必要がある。このため、安定しない梯子や脚立の上では、電波時計レピータの取付作業の作業性が悪い上に、閂部材を落として紛失する虞がある。
【0007】
本発明の一実施形態の目的は、部品を紛失することなく、片手で容易に取り付けることが可能な電波時計レピータを提供することにある。
【課題を解決するための手段】
【0008】
本発明の一実施形態は、疑似標準電波を出力する本体と、前記本体が収容されたケーシングと、前記ケーシングに設けられ、壁面に固定された壁面取付具に前記ケーシングを掛止めする掛止め具と、壁掛け式の電波時計に前記ケーシングが重なるように、前記ケーシングのうち前記壁面と反対側となる正面に前記電波時計を固定する取付具と、を備え、前記掛止め具は、前記壁面取付具の先端部が挿入される壁掛け穴が形成された板体と、前記壁掛け穴よりも下側に位置して、前記壁面取付具の前記先端部を抜け止めするロック部材と、を備え、前記ロック部材は、前記板体に固定された固定部と、前記固定部に取り付けられ、前記壁掛け穴に対して接近と離反が可能な非固定部と、を備え、前記非固定部は、前記壁掛け穴に対して接近した状態に付勢されていることを特徴としている。
【発明の効果】
【0009】
本発明の一実施形態によれば、ケーシングを片手で持った状態で指先により非固定部を壁掛け穴に対して離反させることにより、壁掛け穴に壁面取付具の先端部を挿入することができる。また、非固定部から指先を離すことにより、非固定部を付勢して壁掛け穴に対して接近させることができる。これにより、電波時計レピータは、壁面取付具に対して抜け止めしつつ、壁面に片手で容易に取り付けることができる。さらに、非固定部は、固定部を介して板体に設けられているから、紛失を抑止することができる。
【図面の簡単な説明】
【0010】
本発明の実施形態による電波時計レピータを示す全体構成図である。
親機の構成を示すブロック図である。
図1中の子機を示す正面図である。
壁に取り付けた子機と電波時計を示す斜視図である。
子機の構成を示すブロック図である。
子機の右側面図である。
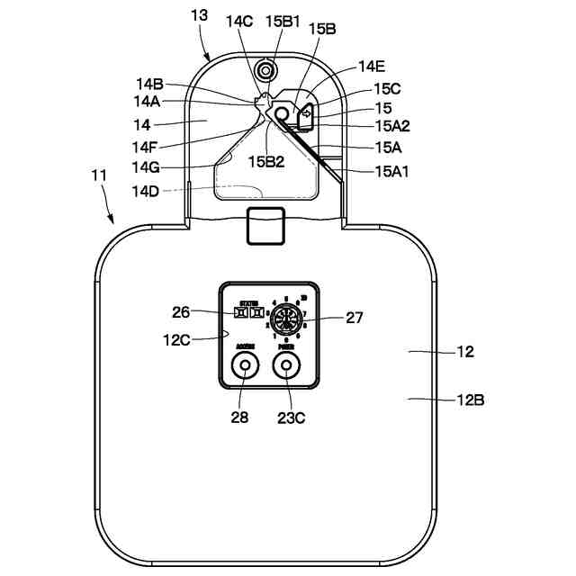
ロック部材を露出させた状態の子機を示す正面図である。
図7の板体、ロック部材、取付穴等示す斜視図である。
板体の取付穴に壁面取付具の先端部を配置した状態を示す説明図である。
板体の壁掛け穴に壁面取付具の先端部を配置した状態を示す説明図である。
【発明を実施するための形態】
(【0011】以降は省略されています)
この特許をJ-PlatPat(特許庁公式サイト)で参照する
関連特許
日本電波株式会社
電波時計レピータ
26日前
個人
砂時計
2か月前
個人
目覚し時計
4か月前
個人
時刻同期システム
2か月前
セイコーウオッチ株式会社
時計
1か月前
個人
自照式の針により認視性を高めたアナログ式時計
4か月前
セイコーエプソン株式会社
電子時計
23日前
セイコーエプソン株式会社
電子時計
3か月前
セイコーエプソン株式会社
電子時計
1か月前
個人
ワイヤレス給電を使用した針が光るアナログ式時計
26日前
セイコーエプソン株式会社
電子時計
10日前
オメガ・エス アー
交換可能なベゼルを備える計時器
18日前
ローム株式会社
時間測定回路
1か月前
セイコーエプソン株式会社
文字板及び時計
10日前
シチズン時計株式会社
腕時計
1か月前
株式会社村田製作所
光学的パターン表示物品
1か月前
日本電気株式会社
時刻維持装置および時刻維持方法
24日前
日本電波株式会社
電波時計レピータ
26日前
セイコーエプソン株式会社
電子制御式機械時計
2か月前
シチズン時計株式会社
電子時計
2か月前
シチズン時計株式会社
機械式時計
4か月前
シチズン時計株式会社
機械式時計
3か月前
シチズン時計株式会社
機械式時計
4か月前
カシオ計算機株式会社
装飾板及び時計
1か月前
セイコータイムクリエーション株式会社
からくり時計
1か月前
セイコーエプソン株式会社
機械式時計
2か月前
カシオ計算機株式会社
制御装置、制御方法、及びプログラム
1か月前
カシオ計算機株式会社
機器ケース及び時計
2か月前
カシオ計算機株式会社
機器ケース及び時計
3か月前
セイコーエプソン株式会社
時計および風防部材の製造方法
1か月前
セイコーエプソン株式会社
インデックス、文字板、及び時計
2か月前
カシオ計算機株式会社
電子時計及び電子時計本体
2か月前
カシオ計算機株式会社
外装部品ユニット及び時計
1か月前
セイコーウオッチ株式会社
時計、音声再生方法およびプログラム
3か月前
カシオ計算機株式会社
電子時計、外装部材及びバンド
2か月前
コマデュール ソシエテ アノニム
エナメル彫刻及び模様付け方法
25日前
続きを見る
他の特許を見る