TOP
|
特許
|
意匠
|
商標
特許ウォッチ
Twitter
他の特許を見る
10個以上の画像は省略されています。
公開番号
2025150728
公報種別
公開特許公報(A)
公開日
2025-10-09
出願番号
2024051774
出願日
2024-03-27
発明の名称
スイッチ機構、時計用ムーブメントおよび時計
出願人
セイコーウオッチ株式会社
代理人
個人
,
個人
,
個人
主分類
G04G
21/00 20100101AFI20251002BHJP(時計)
要約
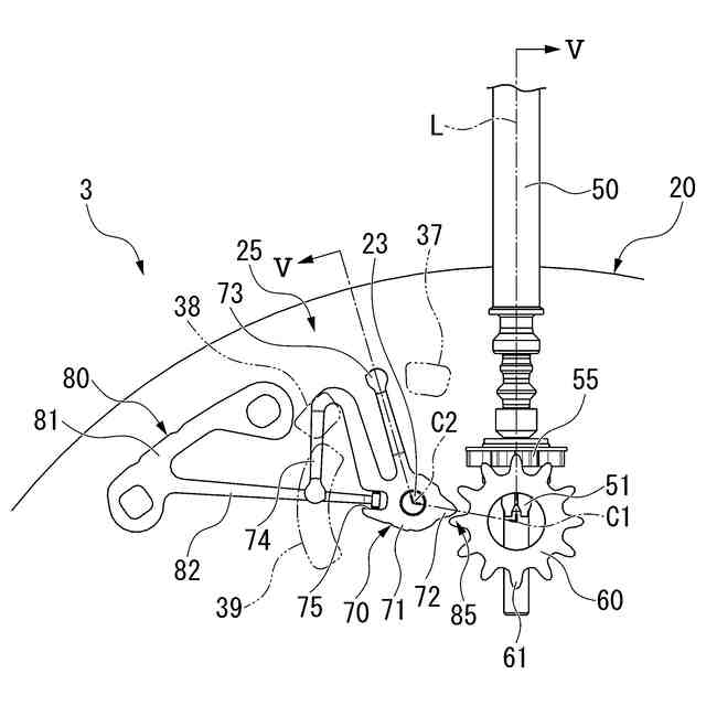
【課題】時計用ムーブメントが厚くなることを抑制しつつ、巻真付近の部品レイアウトの自由度を向上させることができるスイッチ機構を提供する。
【解決手段】スイッチ機構25は、地板20に支持された巻真50と、地板20に対して回転可能に設けられ、上下方向に延びる第1回転軸線C1を有し、巻真50の回転に連動して回転するレバー側歯車60と、第1接点37および第2接点38を持つ回路ブロックと、レバー側歯車60の歯61に離脱可能に係合してレバー側歯車60の回転に伴って揺動可能に形成され、所定の揺動中心位置から第1側に揺動して第1接点37に接触するとともに、揺動中心位置から第2側に揺動して第2接点38に接触するスイッチレバー70と、スイッチレバー70を揺動中心位置に向けて付勢する戻しバネ80と、を備える。
【選択図】図4
特許請求の範囲
【請求項1】
地板に支持された巻真と、
前記地板に対して回転可能に設けられ、時計表裏方向に延びる回転軸線を有し、前記巻真の回転に連動して回転する第1歯車と、
第1接点および第2接点を持つ回路ブロックと、
前記第1歯車の歯に離脱可能に係合して前記第1歯車の回転に伴って揺動可能に形成され、所定の中心位置から第1側に揺動して前記第1接点に接触するとともに、前記中心位置から第2側に揺動して前記第2接点に接触するレバーと、
前記レバーを前記中心位置に向けて付勢する戻しバネと、
を備えるスイッチ機構。
続きを表示(約 630 文字)
【請求項2】
前記巻真と同軸に配置され、前記第1歯車と噛み合った状態で前記巻真と一体回転可能に形成された第2歯車をさらに備える請求項1に記載のスイッチ機構。
【請求項3】
前記歯および前記レバーが互いに係合した係合部を備え、
前記レバーは、前記時計表裏方向に延びる揺動軸線を中心に揺動可能に形成され、
前記回転軸線と前記係合部との距離は、前記揺動軸線と前記係合部との距離よりも大きい、
請求項1または請求項2に記載のスイッチ機構。
【請求項4】
前記第1歯車を挟んで前記地板の反対側に配置された車受けをさらに備え、
前記回路ブロックは、前記レバーを挟んで前記地板の反対側で、前記時計表裏方向において前記車受けよりも前記地板の反対側に突出しないように配置されている、
請求項1または請求項2に記載のスイッチ機構。
【請求項5】
前記レバーおよび前記戻しバネは、互いに別体に形成されている、
請求項1または請求項2に記載のスイッチ機構。
【請求項6】
前記レバーおよび前記戻しバネは、互いに一体に形成されている、
請求項1または請求項2に記載のスイッチ機構。
【請求項7】
請求項1または請求項2に記載の前記スイッチ機構を備えた時計用ムーブメント。
【請求項8】
請求項7に記載の時計用ムーブメントを備えた時計。
発明の詳細な説明
【技術分野】
【0001】
本発明は、スイッチ機構、時計用ムーブメントおよび時計に関するものである。
続きを表示(約 1,800 文字)
【背景技術】
【0002】
従来の電子時計において、機械式時計と同様にりゅうずを回転させることにより時刻修正等を行うものがある。この種の電子時計は、巻真に設けられたカムによりスイッチレバーを揺動させて回路ブロック上の接点にレバーを接触および離間させることでりゅうずおよび巻真の回転方向や回転速度を判別し、時計針などを駆動させるモータを制御する(例えば、特許文献1および特許文献2参照)。また、巻真の回転に連動して回転する回転体に光センサの光を照射することで巻真の回転を検出する方式も開発されている(例えば、特許文献3参照)。
【先行技術文献】
【特許文献】
【0003】
実公昭58-038504号公報
実公昭60-025595号公報
特許第7096383号公報
【発明の概要】
【発明が解決しようとする課題】
【0004】
しかしながら、従来のカムによりスイッチレバーを揺動させる機構では、スイッチレバーをカムに係合する位置に配置する必要があり、スイッチレバーの配置に制限がある。このため、巻真付近の部品レイアウトの自由度に向上の余地がある。また、光センサにより巻真の回転を検出する方式では、平面視で回転体に重なる位置に光センサを配置する必要があり、ムーブメントが厚くなりやすい。
【0005】
そこで本発明は、時計用ムーブメントが厚くなることを抑制しつつ、巻真付近の部品レイアウトの自由度を向上させることができるスイッチ機構、並びにそのスイッチ機構を備えた時計用ムーブメントおよび時計を提供するものである。
【課題を解決するための手段】
【0006】
本発明の第1の態様に係るスイッチ機構は、地板に支持された巻真と、前記地板に対して回転可能に設けられ、時計表裏方向に延びる回転軸線を有し、前記巻真の回転に連動して回転する第1歯車と、第1接点および第2接点を持つ回路ブロックと、前記第1歯車の歯に離脱可能に係合して前記第1歯車の回転に伴って揺動可能に形成され、所定の中心位置から第1側に揺動して前記第1接点に接触するとともに、前記中心位置から第2側に揺動して前記第2接点に接触するレバーと、前記レバーを前記中心位置に向けて付勢する戻しバネと、を備える。
【0007】
第1の態様によれば、レバーを第1歯車の回転に伴って揺動させるようにスイッチ機構を形成するにあたりレバーを第1歯車の歯に係合させればよいので、レバーの形状を変えることなく、第1歯車の周囲における回転軸線回りの任意の位置にレバーを配置することが可能となる。よって、巻真付近の部品レイアウトの自由度を向上させることができる。しかも、レバーを第1歯車の歯に離脱可能に係合させるために、レバーが第1歯車に対して時計表裏方向に直交する方向にずれて配置されるので、スイッチ機構を設けることにより時計用ムーブメントの厚さが増すことを抑制できる。以上により、時計用ムーブメントが厚くなることを抑制しつつ、巻真付近の部品レイアウトの自由度を向上させることができるスイッチ機構を提供できる。また、スイッチ機構が巻真付近の複数パターンの部品レイアウトに対応するので、スイッチ機構を多機種の時計用ムーブメントに搭載できる。これにより、複数の機種の時計用ムーブメントでスイッチ機構の部品を共通化して、時計用ムーブメントの製造コストを下げることが可能となる。
【0008】
本発明の第2の態様に係るスイッチ機構は、上記第1の態様に係るスイッチ機構において、前記巻真と同軸に配置され、前記第1歯車と噛み合った状態で前記巻真と一体回転可能に形成された第2歯車をさらに備えていてもよい。
【0009】
第2の態様によれば、巻真の回転に連動して第1歯車を回転させることができる。したがって、上記の作用効果を奏するスイッチ機構が得られる。
【0010】
本発明の第3の態様に係るスイッチ機構は、上記第1の態様または第2の態様に係るスイッチ機構において、前記歯および前記レバーが互いに係合した係合部を備え、前記レバーは、前記時計表裏方向に延びる揺動軸線を中心に揺動可能に形成され、前記回転軸線と前記係合部との距離は、前記揺動軸線と前記係合部との距離よりも大きくてもよい。
(【0011】以降は省略されています)
この特許をJ-PlatPat(特許庁公式サイト)で参照する
関連特許
個人
砂時計
1か月前
個人
目覚し時計
3か月前
個人
時刻同期システム
1か月前
セイコーウオッチ株式会社
時計
27日前
個人
自照式の針により認視性を高めたアナログ式時計
4か月前
個人
ワイヤレス給電を使用した針が光るアナログ式時計
1日前
セイコーエプソン株式会社
電子時計
3か月前
セイコーエプソン株式会社
電子時計
27日前
ローム株式会社
時間測定回路
28日前
日本電波株式会社
電波時計レピータ
1日前
株式会社村田製作所
光学的パターン表示物品
1か月前
シチズン時計株式会社
腕時計
26日前
シチズン時計株式会社
電子時計
2か月前
セイコーエプソン株式会社
電子制御式機械時計
1か月前
シチズン時計株式会社
機械式時計
3か月前
シチズン時計株式会社
機械式時計
3か月前
シチズン時計株式会社
機械式時計
2か月前
カシオ計算機株式会社
装飾板及び時計
1か月前
カシオ計算機株式会社
制御装置、制御方法、及びプログラム
1か月前
セイコータイムクリエーション株式会社
からくり時計
1か月前
セイコーエプソン株式会社
機械式時計
1か月前
カシオ計算機株式会社
機器ケース及び時計
3か月前
カシオ計算機株式会社
機器ケース及び時計
1か月前
セイコーエプソン株式会社
時計および風防部材の製造方法
28日前
セイコーエプソン株式会社
インデックス、文字板、及び時計
2か月前
カシオ計算機株式会社
電子時計及び電子時計本体
1か月前
カシオ計算機株式会社
外装部品ユニット及び時計
1か月前
モントレー ブレゲ・エス アー
プレート上のディスプレイモジュールの配置
4か月前
セイコーウオッチ株式会社
時計、音声再生方法およびプログラム
2か月前
コマデュール ソシエテ アノニム
エナメル彫刻及び模様付け方法
今日
カシオ計算機株式会社
電子時計、外装部材及びバンド
1か月前
セイコーエプソン株式会社
時計用部品、および、時計
2か月前
セイコーエプソン株式会社
機械式時計及び機械式時計の組み立て方法
3か月前
カシオ計算機株式会社
指針、時計、及び指針の製造方法
2か月前
東邦瓦斯株式会社
ウェアラブル機器用防熱カバー
3か月前
カシオ計算機株式会社
時計、表示制御方法及びプログラム
1か月前
続きを見る
他の特許を見る