TOP
|
特許
|
意匠
|
商標
特許ウォッチ
Twitter
他の特許を見る
10個以上の画像は省略されています。
公開番号
2025115415
公報種別
公開特許公報(A)
公開日
2025-08-07
出願番号
2024009857
出願日
2024-01-26
発明の名称
ウェアラブル機器用防熱カバー
出願人
東邦瓦斯株式会社
代理人
弁理士法人コスモス国際特許商標事務所
主分類
G04B
43/00 20060101AFI20250731BHJP(時計)
要約
【課題】ウェアラブル機器の種類を問わず、ウェアラブル機器に防熱機能を付加すること。
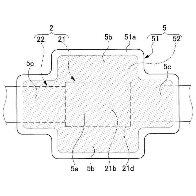
【解決手段】人体に装着して使用するウェアラブル機器2に防熱カバー1を着脱可能に装着する。ウェアラブル機器2は、動作保証温度帯域が設定された機器本体21を備える。防熱カバー1は、カバー本体3と蓄熱パック5とを備える。カバー本体3は、機器本体21を被覆するようにウェアラブル機器2に装着される。蓄熱パック5は、動作保証温度帯域内で融点が設定され、カバー本体3に収容される。
【選択図】図1
特許請求の範囲
【請求項1】
人体に装着して使用するウェアラブル機器に着脱可能に装着され、
前記ウェアラブル機器への伝熱を抑制する伝熱抑制部を有する、
ように構成されているウェアラブル機器用防熱カバー。
続きを表示(約 1,200 文字)
【請求項2】
請求項1に記載するウェアラブル機器用防熱カバーにおいて、
前記ウェアラブル機器に設けられた生体情報取得部であって、前記人体に接触して生体情報を取得する前記生体情報取得部を露出させる露出部を有する、
ように構成されているウェアラブル機器用防熱カバー。
【請求項3】
請求項1に記載するウェアラブル機器用防熱カバーにおいて、
内部機構を備える前記ウェアラブル機器の機器本体を被覆する位置に、前記伝熱抑制部を有する、
ように構成されているウェアラブル機器用防熱カバー。
【請求項4】
請求項1に記載するウェアラブル機器用防熱カバーにおいて、
前記伝熱抑制部は、蓄熱材を有する、
ように構成されているウェアラブル機器用防熱カバー。
【請求項5】
請求項4に記載するウェアラブル機器用防熱カバーにおいて、
前記伝熱抑制部は、前記蓄熱材を容器に封入した蓄熱部材を分離可能に収容している、
ように構成されているウェアラブル機器用防熱カバー。
【請求項6】
請求項5に記載するウェアラブル機器用防熱カバーにおいて、
前記蓄熱部材を収容する収容部と、
前記収容部を挟んで対向する位置に設けられ、前記蓄熱部材を前記収容部に挿入する挿入口と、
を有する、
ように構成されているウェアラブル機器用防熱カバー。
【請求項7】
請求項4に記載するウェアラブル機器用防熱カバーにおいて、
前記伝熱抑制部にて、前記蓄熱材を容器に封入された蓄熱部材が一体に設けられている、
ように構成されているウェアラブル機器用防熱カバー。
【請求項8】
請求項4に記載するウェアラブル機器用防熱カバーにおいて、
前記伝熱抑制部は、
前記ウェアラブル機器用防熱カバーに設けられたキャビティと、
前記キャビティに充填された前記蓄熱材と、
を有する、
ように構成されているウェアラブル機器用防熱カバー。
【請求項9】
請求項1に記載するウェアラブル機器用防熱カバーにおいて、
前記伝熱抑制部を有し、内部機構を備える前記ウェアラブル機器の機器本体を被覆可能なカバー本体と、
前記カバー本体に接続し、前記機器本体を前記人体に装着する装着ベルトと、
を有する、
ように構成されているウェアラブル機器用防熱カバー。
【請求項10】
請求項9に記載するウェアラブル機器用防熱カバーにおいて、
前記装着ベルトは、前記カバー本体に着脱可能に接続する、
ように構成されているウェアラブル機器用防熱カバー。
(【請求項11】以降は省略されています)
発明の詳細な説明
【技術分野】
【0001】
本明細書に開示される技術分野は、ウェアラブル機器に装着されるウェアラブル機器用防熱カバーに関する。
続きを表示(約 1,700 文字)
【背景技術】
【0002】
時計、スマートウォッチ、心拍計測機能つきリストバンドなど、人体に装着して使用するウェアラブル機器が、日常生活で使用されている。ウェアラブル機器の動作保証温度は、一般的に、日常生活の環境温度範囲に設定されている。動作保証温度帯域は、例えば、-10℃~50℃であり、上限温度は高くても60℃程度である。一方、ウェアラブル機器の使用態様は、多様化し、動作保証温度帯域外で使用したいというニーズがある。例えば、昨今のサウナブームにより、心拍数や血圧などの生体情報を計測可能なウェアラブル機器をサウナ室に持ち込み、自分の状態を確認したいというニーズである。
【0003】
これに対して、例えば、特許文献1には、外装ケースに動作可能に支持される時計本体部に耐熱部を設けることで、時計本体部内への入熱を抑制するウェアラブル機器が開示されている。また、特許文献2には、内部機構を収容する内ケースと、内ケースを覆う外ケースとの間に、線状のシール材を配置し、内ケースとシール材との間に密閉空間を有することで、内部機構への伝熱を抑制する携帯時計が開示されている。
【先行技術文献】
【特許文献】
【0004】
特開2022-149317号公報
特開2009-236531号公報
【発明の概要】
【発明が解決しようとする課題】
【0005】
特許文献1および特許文献2に記載のウェアラブル機器は、機器本体自体に防熱構造が備えられている。一方、防熱構造を備えていないウェアラブル機器の防熱対策に関する技術については、発見されなかった。よって、現状では、例えば、サウナなどの動作保証温度帯域外の温度環境で使用できるウェアラブル機器は、特許文献1および特許文献2記載のウェアラブル機器のように機器本体に防熱構造を備えるものに制約されていた。今後、ウェアラブル機器は用途に応じて様々なニーズが考えられることから、ウェアラブル機器の種類を問わず、ウェアラブル機器に防熱機能を付加できる技術が、求められている。
【課題を解決するための手段】
【0006】
上記課題を解決するために、本明細書において開示するウェアラブル機器用防熱カバーは、(1)人体に装着して使用するウェアラブル機器に着脱可能に装着され、前記ウェアラブル機器への伝熱を抑制する伝熱抑制部を有する、ように構成されている。
【0007】
上記構成を有するウェアラブル機器用防熱カバーは、伝熱抑制部によってウェアラブル機器への伝熱速度を遅らせる。そのため、ウェアラブル機器は、機器自体が防熱構造を備えていなくても、ウェアラブル機器用防熱カバーが装着されることによって防熱機能が付加され、例えば、サウナや夏場の炎天下における工事作業などのように、非日常的な温度環境で使用される場合でも、熱による動作不良が抑制される。ウェアラブル機器用防熱カバーは、ウェアラブル機器に着脱可能に装着できるので、機種や形態など、種類が異なるウェアラブル機器に装着して防熱機能を付加できる。よって、上記構成のウェアラブル機器用防熱カバーによれば、ウェアラブル機器の種類を問わず、ウェアラブル機器に防熱機能を付加できる。
【0008】
(2)(1)に記載するウェアラブル機器用防熱カバーにおいて、前記ウェアラブル機器に設けられた生体情報取得部であって、前記人体に接触して生体情報を取得する前記生体情報取得部を露出させる露出部を有する、ことが好ましい。
【0009】
上記構成を有するウェアラブル機器用防熱カバーは、生体情報取得部を露出部から露出させて人体に接触させることができるので、ウェアラブル機器の生体情報取得機能を損なわないように、ウェアラブル機器に防熱機能を付加できる。
【0010】
(3)(1)または(2)に記載するウェアラブル機器用防熱カバーにおいて、内部機構を備える前記ウェアラブル機器の機器本体を被覆する位置に、前記伝熱抑制部を有する、ことが好ましい。
(【0011】以降は省略されています)
この特許をJ-PlatPat(特許庁公式サイト)で参照する
関連特許
東邦瓦斯株式会社
二酸化炭素回収装置および二酸化炭素回収方法
1か月前
東洋ガスメーター株式会社
ガスメーター
2か月前
三菱重工エンジン&ターボチャージャ株式会社
制御装置、エンジンシステム、制御方法及びプログラム
1か月前
個人
砂時計
1か月前
個人
目覚し時計
3か月前
個人
時刻同期システム
1か月前
セイコーウオッチ株式会社
時計
28日前
個人
自照式の針により認視性を高めたアナログ式時計
4か月前
個人
ワイヤレス給電を使用した針が光るアナログ式時計
2日前
セイコーエプソン株式会社
電子時計
28日前
セイコーエプソン株式会社
電子時計
3か月前
ローム株式会社
時間測定回路
29日前
日本電気株式会社
時刻維持装置および時刻維持方法
今日
シチズン時計株式会社
腕時計
27日前
株式会社村田製作所
光学的パターン表示物品
1か月前
日本電波株式会社
電波時計レピータ
2日前
セイコーエプソン株式会社
電子制御式機械時計
1か月前
シチズン時計株式会社
電子時計
2か月前
シチズン時計株式会社
機械式時計
2か月前
シチズン時計株式会社
機械式時計
3か月前
シチズン時計株式会社
機械式時計
4か月前
カシオ計算機株式会社
装飾板及び時計
1か月前
セイコータイムクリエーション株式会社
からくり時計
1か月前
セイコーエプソン株式会社
機械式時計
1か月前
カシオ計算機株式会社
制御装置、制御方法、及びプログラム
1か月前
カシオ計算機株式会社
機器ケース及び時計
3か月前
カシオ計算機株式会社
機器ケース及び時計
1か月前
セイコーエプソン株式会社
時計および風防部材の製造方法
29日前
セイコーエプソン株式会社
インデックス、文字板、及び時計
2か月前
カシオ計算機株式会社
外装部品ユニット及び時計
1か月前
カシオ計算機株式会社
電子時計及び電子時計本体
1か月前
セイコーウオッチ株式会社
時計、音声再生方法およびプログラム
2か月前
モントレー ブレゲ・エス アー
プレート上のディスプレイモジュールの配置
4か月前
コマデュール ソシエテ アノニム
エナメル彫刻及び模様付け方法
1日前
カシオ計算機株式会社
電子時計、外装部材及びバンド
1か月前
カシオ計算機株式会社
指針、時計、及び指針の製造方法
2か月前
続きを見る
他の特許を見る