TOP
|
特許
|
意匠
|
商標
特許ウォッチ
Twitter
他の特許を見る
公開番号
2025139859
公報種別
公開特許公報(A)
公開日
2025-09-29
出願番号
2024038924
出願日
2024-03-13
発明の名称
制御装置、エンジンシステム、制御方法及びプログラム
出願人
三菱重工エンジン&ターボチャージャ株式会社
,
東邦瓦斯株式会社
代理人
個人
,
個人
,
個人
,
個人
,
個人
主分類
F02D
19/08 20060101AFI20250919BHJP(燃焼機関;熱ガスまたは燃焼生成物を利用する機関設備)
要約
【課題】安定したエンジンの運転を継続しつつ、エンジンの運転中に燃料の混合の有無を切り替える制御を提供する。
【解決手段】制御装置は、エンジンの制御装置であって、前記エンジンの運転中に複数の燃料を混合した混合燃料を使用する混焼制御を行うかどうかを判定する手段と、前記エンジンの点火時期を制御する手段と、前記エンジンの燃焼室の空燃比制御を行う手段と、を備え、前記判定する手段が前記混焼制御を行うと判定した場合、前記点火時期を制御する手段は、前記混合燃料の供給が開始される前に前記点火時期の遅角制御を開始して、前記混合燃料の供給が開始される前に当該遅角制御を完了し、前記空燃比制御を行う手段は、前記混合燃料の供給が開始されると、前記混合燃料における前記複数の燃料の各々が占める割合を示す混合率に応じた空燃比を目標として前記空燃比制御を行う。
【選択図】図1
特許請求の範囲
【請求項1】
エンジンの制御装置であって、
前記エンジンの運転中に複数の燃料を混合した混合燃料を使用する混焼制御を行うかどうかを判定する手段と、
前記エンジンの点火時期を制御する手段と、
前記エンジンの燃焼室の空燃比制御を行う手段と、
を備え、
前記判定する手段が前記混焼制御を行うと判定した場合、
前記点火時期を制御する手段は、前記混合燃料の供給が開始される前に前記点火時期の遅角制御を開始して、前記混合燃料の供給が開始される前に当該遅角制御を完了し、
前記空燃比制御を行う手段は、前記混合燃料の供給が開始されると、前記混合燃料における前記複数の燃料の各々が占める割合を示す混合率に応じた空燃比を目標として前記空燃比制御を行う、
を備える制御装置。
続きを表示(約 2,100 文字)
【請求項2】
前記混焼制御を停止する場合、前記エンジンへ前記混合燃料を供給する燃料混合装置は、前記混合燃料における前記複数の燃料のうちの1つ以外の前記燃料の前記混合率が減少させ、
前記空燃比制御を行う手段は、前記1つ以外の前記燃料すべての前記混合率が0%になるまで、前記混合率に応じた空燃比を目標とする空燃比制御を継続し、
前記混合率が0%になった後に、前記点火時期を制御する手段は、前記点火時期を前記遅角制御の前の状態に戻す、
請求項1に記載の制御装置。
【請求項3】
前記判定する手段は、前記エンジンの負荷、潤滑油温度、冷却水温度の何れかが所定の範囲内となると、前記エンジンの運転状態が安定しているとみなし、前記混焼制御を行うと判定し、前記範囲を外れると、前記混焼制御を停止すると判定する、
請求項1または請求項2に記載の制御装置。
【請求項4】
エンジンと、
複数の燃料を混合して混合燃料を生成し、前記エンジンに供給する燃料混合装置と、
請求項1又は請求項2に記載の制御装置と、
を備えるエンジンシステム。
【請求項5】
前記判定する手段は、前記混焼制御を行うと判定すると、前記混焼制御が可能であることを前記燃料混合装置へ通知し、
前記燃料混合装置は、前記通知を受け取った後に、前記混焼制御の開始を前記制御装置に指示し、
前記指示に基づいて、前記点火時期を制御する手段は、前記遅角制御を開始する、
請求項4に記載のエンジンシステム。
【請求項6】
前記点火時期を制御する手段は、前記遅角制御が完了すると、前記遅角制御の完了を前記燃料混合装置へ通知し、
前記燃料混合装置は、前記通知を受け取った後に、前記混合燃料の生成と前記エンジンへの供給を開始するとともに、前記混合率を前記制御装置へ通知し、
前記空燃比制御を行う手段は、通知された前記混合率に応じた空燃比を算出し、算出した前記空燃比を目標として前記空燃比制御を行う、
請求項4に記載のエンジンシステム。
【請求項7】
前記混焼制御を停止する場合、
前記燃料混合装置は、前記混合率を0%まで低下させ、
前記点火時期を制御する手段は、前記混合率が0%になった後に、前記点火時期を前記遅角制御の前の状態に戻す、
請求項4に記載のエンジンシステム。
【請求項8】
前記判定する手段は、所定の判断基準によって、前記エンジンに生じる異常を、前記混焼制御の継続が可能な軽故障、前記混焼制御の継続が不可能な軽故障、前記エンジンの運転を停止しなければならない重故障の何れかに分類し、
前記燃料混合装置は、前記混焼制御の継続が可能な軽故障と判定されると、前記混合燃料の生成を継続し、前記混焼制御の継続が不可能な軽故障と判定されると、所定の時間をかけて前記混合率が0%になるまで前記混合率を低下させ、前記重故障と判定されると、直ちに前記混合率を0%に低下させる、
請求項4に記載のエンジンシステム。
【請求項9】
エンジンの制御方法であって、
前記エンジンの運転中に複数の燃料を混合した混合燃料を使用する混焼制御を行うかどうかを判定するステップと、
前記エンジンの点火時期を制御するステップと、
前記エンジンの燃焼室の空燃比制御を行うステップと、
を有し、
前記判定するステップにて、前記混焼制御を行うと判定した場合、
前記点火時期を制御するステップでは、前記混合燃料の供給が開始される前に前記点火時期の遅角制御を開始して、前記混合燃料の供給が開始される前に当該遅角制御を完了し、
前記空燃比制御を行うステップでは、前記混合燃料の供給が開始されると、前記混合燃料における前記複数の燃料の各々が占める割合を示す混合率に応じた空燃比を目標として前記空燃比制御を行う、
制御方法。
【請求項10】
エンジンの制御装置のコンピュータに、
前記エンジンの運転中に複数の燃料を混合した混合燃料を使用する混焼制御を行うかどうかを判定するステップと、
前記エンジンの点火時期を制御するステップと、
前記エンジンの燃焼室の空燃比制御を行うステップと、
を有し、
前記判定するステップにて、前記混焼制御を行うと判定した場合、
前記点火時期を制御するステップでは、前記混合燃料の供給が開始される前に前記点火時期の遅角制御を開始して、前記混合燃料の供給が開始される前に当該遅角制御を完了し、
前記空燃比制御を行うステップでは、前記混合燃料の供給が開始されると、前記混合燃料における前記複数の燃料の各々が占める割合を示す混合率に応じた空燃比を目標として前記空燃比制御を行う処理、
を実行させるプログラム。
発明の詳細な説明
【技術分野】
【0001】
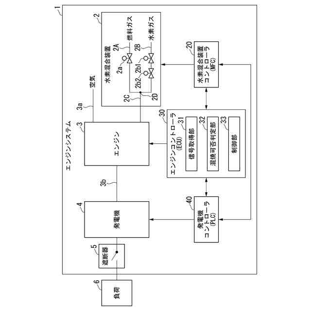
本開示は、制御装置、エンジンシステム、制御方法及びプログラムに関する。
続きを表示(約 1,800 文字)
【背景技術】
【0002】
CO
2
削減の一環として、都市ガス(天然ガス)等の燃料ガスに水素を混合した燃料によってガスエンジンを駆動し、発電するシステムが提案されている。従来のガスエンジンでは、運転中に同じ燃料を使い続ける場合が多く、燃料のガス性状が切り替わる場合であっても、その変化の大きさは限定的であった。これに対し、水素は、密度やカロリーが都市ガスと大幅に異なるため、都市ガスのみを使用する運転状態と、水素を混合した燃料を使用する運転状態とでは、これまでに想定していないような変化が生じる。これに対応するためには、水素の混合率に応じてエンジンの点火時期や空燃比を切り替える必要がある。また、燃料の混合の有無を切り替える際に、適切な速度で空燃比のパラメータを変化させる必要がある。
【0003】
特許文献1には、燃焼速度の異なる燃料を混合した混合気を用いるエンジンで空燃比を切り替える際に、要求トルクが得られるように混合気の点火時期を変化させる制御方法が開示されている。しかし、空燃比と点火時期を同時に変化させると、途中の状態が不安定になり易い。
【先行技術文献】
【特許文献】
【0004】
特開2009-209903号公報
【発明の概要】
【発明が解決しようとする課題】
【0005】
安定したエンジンの運転を継続しつつ、エンジンの運転中に燃料の混合の有無を切り替える技術が求められている。
【0006】
本開示は、上記課題を解決することができる制御装置、エンジンシステム、制御方法及びプログラムを提供する。
【課題を解決するための手段】
【0007】
本開示の制御装置は、エンジンの制御装置であって、前記エンジンの運転中に複数の燃料を混合した混合燃料を使用する混焼制御を行うかどうかを判定する手段と、前記エンジンの点火時期を制御する手段と、前記エンジンの燃焼室の空燃比制御を行う手段と、を備え、前記判定する手段が前記混焼制御を行うと判定した場合、前記点火時期を制御する手段は、前記混合燃料が供給される前に前記点火時期の遅角制御を開始して、前記混合燃料が供給される前に当該遅角制御を完了し、前記空燃比制御を行う手段は、前記混合燃料の供給が開始されると、前記混合燃料における前記複数の燃料の各々が占める割合を示す混合率に応じた空燃比を目標として前記空燃比制御を行う。
【0008】
本開示のエンジンシステムは、エンジンと、複数の燃料を混合して混合燃料を生成し、前記エンジンに供給する燃料混合装置と、上記の制御装置と、を備える。
【0009】
本開示の制御方法は、エンジンの制御方法であって、前記エンジンの運転中に複数の燃料を混合した混合燃料を使用する混焼制御を行うかどうかを判定するステップと、前記エンジンの点火時期を制御するステップと、前記エンジンの燃焼室の空燃比制御を行うステップと、を有し、前記判定するステップにて、前記混焼制御を行うと判定した場合、前記点火時期を制御するステップでは、前記混合燃料が供給される前に前記点火時期の遅角制御を開始して、前記混合燃料が供給される前に当該遅角制御を完了し、前記空燃比制御を行うステップでは、前記混合燃料の供給が開始されると、前記混合燃料における前記複数の燃料の各々が占める割合を示す混合率に応じた空燃比を目標として前記空燃比制御を行う。
【0010】
本開示のプログラムは、エンジンの制御装置のコンピュータに、前記エンジンの運転中に複数の燃料を混合した混合燃料を使用する混焼制御を行うかどうかを判定するステップと、前記エンジンの点火時期を制御するステップと、前記エンジンの燃焼室の空燃比制御を行うステップと、を有し、前記判定するステップにて、前記混焼制御を行うと判定した場合、前記点火時期を制御するステップでは、前記混合燃料が供給される前に前記点火時期の遅角制御を開始して、前記混合燃料が供給される前に当該遅角制御を完了し、前記空燃比制御を行うステップでは、前記混合燃料の供給が開始されると、前記混合燃料における前記複数の燃料の各々が占める割合を示す混合率に応じた空燃比を目標として前記空燃比制御を行う処理を実行させる。
【発明の効果】
(【0011】以降は省略されています)
この特許をJ-PlatPat(特許庁公式サイト)で参照する
関連特許
個人
バンケル型内燃機関の改良
1か月前
個人
擬似オイル発電装置
16日前
個人
ガバナー
3日前
スズキ株式会社
車両の制御装置
1か月前
ダイハツ工業株式会社
発電装置
11日前
スズキ株式会社
車両の制御装置
1か月前
本田技研工業株式会社
車両
1か月前
本田技研工業株式会社
車両
1か月前
株式会社クボタ
作業車
1か月前
トヨタ自動車株式会社
電磁弁
1か月前
株式会社クボタ
作業車両
1か月前
本田技研工業株式会社
内燃機関
1か月前
本田技研工業株式会社
始動制御装置
1か月前
トヨタ自動車株式会社
車両制御装置
1か月前
本田技研工業株式会社
始動制御装置
1か月前
トヨタ自動車株式会社
制御装置
10日前
国立大学法人 名古屋工業大学
小型化無振動機構機器
2日前
トヨタ自動車株式会社
エンジン制御装置
1か月前
トヨタ自動車株式会社
電磁弁の制御装置
1か月前
トヨタ自動車株式会社
燃料噴射制御装置
4日前
トヨタ自動車株式会社
内燃機関の制御装置
10日前
Astemo株式会社
内燃機関の制御装置
10日前
日産自動車株式会社
吸気装置
4日前
トヨタ自動車株式会社
フレックス燃料車両
23日前
トヨタ自動車株式会社
V型8気筒エンジン
1か月前
大阪瓦斯株式会社
エンジンシステム
1か月前
トヨタ自動車株式会社
内燃機関の制御装置
23日前
川崎重工業株式会社
ガスタービンエンジン
1か月前
本田技研工業株式会社
可変ファンネル装置
1か月前
ダイハツ工業株式会社
副燃焼室付きエンジン
2日前
トヨタ自動車株式会社
水素エンジンの制御装置
1か月前
富士電機株式会社
駆動回路
1か月前
三菱重工業株式会社
燃焼筒の取付方法
1か月前
株式会社SUBARU
車両
1か月前
三菱重工業株式会社
動力装置
1か月前
スズキ株式会社
多気筒エンジンの制御装置
25日前
続きを見る
他の特許を見る