TOP
|
特許
|
意匠
|
商標
特許ウォッチ
Twitter
他の特許を見る
10個以上の画像は省略されています。
公開番号
2025141193
公報種別
公開特許公報(A)
公開日
2025-09-29
出願番号
2024041015
出願日
2024-03-15
発明の名称
二酸化炭素回収装置および二酸化炭素回収方法
出願人
東邦瓦斯株式会社
代理人
弁理士法人コスモス国際特許商標事務所
主分類
B01D
53/26 20060101AFI20250919BHJP(物理的または化学的方法または装置一般)
要約
【課題】より省エネルギーに、被分離ガスの除湿を行うことが可能な二酸化炭素回収装置を提供すること。
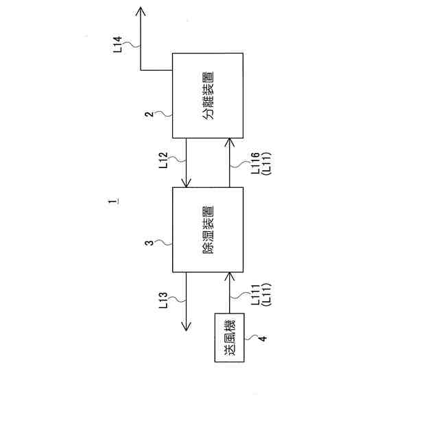
【解決手段】大気から二酸化炭素の分離を行う分離装置2と、大気を分離装置2に供給するための第1供給ラインL11と、を備える二酸化炭素回収装置1において、第1供給ラインL11上に、除湿剤により大気の除湿を行う除湿装置3を備えること、分離装置2から除湿装置2に、大気から二酸化炭素を分離した後の分離後ガスを供給する第2供給ラインL12を備えること、除湿装置3は、第2供給ラインL12から供給される分離後ガスにより、除湿剤の再生を行うこと。
【選択図】図1
特許請求の範囲
【請求項1】
被分離ガスから二酸化炭素の分離を行う分離装置と、前記被分離ガスを前記分離装置に供給するための第1供給ラインと、を備える二酸化炭素回収装置において、
前記第1供給ライン上に、除湿剤により前記被分離ガスの除湿を行う除湿装置を備えること、
前記分離装置から前記除湿装置に、前記被分離ガスから二酸化炭素を分離した後の分離後ガスを供給する第2供給ラインを備えること、
前記除湿装置は、前記第2供給ラインから供給される前記分離後ガスにより、前記除湿剤の再生を行うこと、
を特徴とする二酸化炭素回収装置。
続きを表示(約 1,300 文字)
【請求項2】
請求項1に記載の二酸化炭素回収装置において、
第2供給ラインにおける前記分離後ガスの相対湿度は、前記除湿装置よりも下流側の前記第1供給ラインにおける前記被分離ガスの相対湿度よりも低いこと、
を特徴とする二酸化炭素回収装置。
【請求項3】
請求項1または2に記載の二酸化炭素回収装置において、
前記除湿剤は、前記被分離ガスの水分を吸着する吸着式の除湿剤であること、
を特徴とする二酸化炭素回収装置。
【請求項4】
請求項3に記載の二酸化炭素回収装置において、
前記除湿装置は、
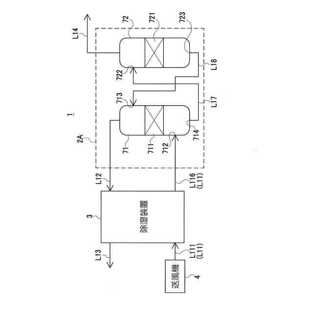
前記第1供給ライン上の、前記被分離ガスが通る第1風路と、
前記第2供給ラインに接続され、前記分離後ガスが通る第2風路と、
前記第1風路と前記第2風路とにまたがって配置される、前記除湿剤としてのデシカントロータと、
を備えること、
を特徴とする二酸化炭素回収装置。
【請求項5】
請求項3に記載の二酸化炭素回収装置において、
前記除湿装置は、
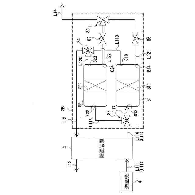
前記除湿を行うための第1除湿部および第2除湿部が、並列して設けられ、
前記第1除湿部で前記除湿を行い、かつ、前記第2除湿部で前記再生を行う第1状態と、前記第1除湿部で前記再生を行い、かつ、前記第2除湿部で前記除湿を行う第2状態と、を切替可能なこと、
を特徴とする二酸化炭素回収装置。
【請求項6】
請求項1または2に記載の二酸化炭素回収装置において、
前記除湿剤は、前記被分離ガスの水分を吸収する吸収液であること、
を特徴とする二酸化炭素回収装置。
【請求項7】
請求項6に記載の二酸化炭素回収装置において、
前記除湿装置は、
前記第1供給ラインから供給される前記被分離ガスと、前記除湿剤と、を気液接触させて、前記除湿剤に水分を吸収させる吸収塔と、
前記第2供給ラインから供給される前記分離後ガスにより、前記再生を行う再生塔と、
を備えること、
を特徴とする二酸化炭素回収装置。
【請求項8】
請求項1または2に記載の二酸化炭素回収装置において、
前記分離装置は、
前記被分離ガスと、二酸化炭素を吸収する二酸化炭素吸収液と、を気液接触させて、前記二酸化炭素吸収液に二酸化炭素を吸収させる二酸化炭素吸収塔と、
二酸化炭素を吸収した前記二酸化炭素吸収液を再生して二酸化炭素を放散する吸収液再生塔と、
を備えること、
を特徴とする二酸化炭素回収装置。
【請求項9】
請求項8に記載の二酸化炭素回収装置において、
前記二酸化炭素吸収液の含水率が、二酸化炭素吸収前よりも、二酸化炭素吸収後の方が高いこと、
を特徴とする二酸化炭素回収装置。
【請求項10】
請求項8または9に記載の二酸化炭素回収装置において、
前記二酸化炭素吸収液は、非水系の吸収液であること、
を特徴とする二酸化炭素回収装置。
(【請求項11】以降は省略されています)
発明の詳細な説明
【技術分野】
【0001】
本発明は、被分離ガスから二酸化炭素の分離を行う分離装置と、前記被分離ガスを前記分離装置に供給するための第1供給ラインと、を備える二酸化炭素回収装置、および被分離ガスから二酸化炭素の分離を行うことで二酸化炭素を回収する二酸化炭素回収方法に関するものである。
続きを表示(約 1,800 文字)
【背景技術】
【0002】
近年、地球温暖化に及ぼす影響が大きい温室効果ガスとして二酸化炭素が問題になっている。また、物流に用いるドライアイス等、二酸化炭素の需要が増加している。これらを背景として、燃焼排ガス等の二酸化炭素を含有するガスや大気(以下、被分離ガスという)から、二酸化炭素を分離し、回収する技術が求められている。
【0003】
被分離ガスから二酸化炭素の分離を行う分離装置としては、例えば、特許文献1に開示されるような分離装置が知られている。この分離装置は、被分離ガスと二酸化炭素を吸収する吸収液とを気液接触させることで吸収液に二酸化炭素を吸収させる吸収塔と、二酸化炭素を吸収した吸収液を再生して二酸化炭素を放散する再生塔と、を備えている。再生塔における二酸化炭素の放散は、吸収液を加熱もしくは減圧、または加熱および減圧することで行われている。
【先行技術文献】
【特許文献】
【0004】
特開2005-270814号公報
特開2023-145852号公報
【発明の概要】
【発明が解決しようとする課題】
【0005】
しかしながら、上記従来技術には次のような問題があった。例えば、水分を含む被分離ガス(大気、燃焼排ガス等)を対象として二酸化炭素の分離を行うとした場合、吸収塔内において、被分離ガスが、親水性を有した吸収液と気液接触すると、被分離ガス中の二酸化炭素だけでなく、水分も吸収液に吸収されてしまう。そのため、被分離ガスを吸収した吸収液が、水分を含んだままの状態で、再生塔内で加熱もしくは減圧されると、吸収液から、吸収していた二酸化炭素の放散のほかに、水分の蒸発も生じる。この水分の蒸発により再生塔内の吸収液は熱を奪われるため、二酸化炭素を放散するのに必要な放散温度よりも低くなるおそれがある。これを防ぐためには、水の蒸発潜熱分の熱を投入する必要があるため、それに伴いエネルギー負荷が増大することが問題となっていた。そこで、本願発明者らは、分離装置において被分離ガスから二酸化炭素の分離を行う前に、被分離ガスの除湿を行うことが望ましいと考えた。
【0006】
しかし、被分離ガスの二酸化炭素濃度が低い場合(特に被分離ガスが大気である場合)、単位二酸化炭素回収量あたりに必要となる被分離ガス量が多くなる。そのため、大量の被分離ガスの除湿には多大なエネルギーが必要となり、電力コストの増加や、発電のための新たな二酸化炭素の発生が懸念される。 なお、特許文献1のような化学吸収式の二酸化炭素回収装置だけでなく、吸着式、膜分離式、および深冷分離式の二酸化炭素回収装置の場合にも、被分離ガスの除湿は有効であり、例えば、特許文献2では、吸着式二酸化炭素分離装置の前段に前処理装置を備え、水分を除去している。また、これらの二酸化炭素回収装置においても、被分離ガスの二酸化炭素濃度が低い場合は、大量の除湿エネルギーが必要となる点については同様の課題がある。
【0007】
本発明は、上記問題点を解決するためのものであり、より省エネルギーに、被分離ガスの除湿を行うことが可能な二酸化炭素回収装置および二酸化炭素回収方法を提供することを目的とする。
【課題を解決するための手段】
【0008】
上記課題を解決するために、本発明の二酸化炭素回収装置は、次のような構成を有している。
【0009】
(1)被分離ガスから二酸化炭素の分離を行う分離装置と、前記被分離ガスを前記分離装置に供給するための第1供給ラインと、を備える二酸化炭素回収装置において、前記第1供給ライン上に、除湿剤により前記被分離ガスの除湿を行う除湿装置を備えること、前記分離装置から前記除湿装置に、前記被分離ガスから二酸化炭素を分離した後の分離後ガスを供給する第2供給ラインを備えること、前記除湿装置は、前記第2供給ラインから供給される前記分離後ガスにより、前記除湿剤の再生を行うこと、を特徴とする。
【0010】
(2)(1)に記載の二酸化炭素回収装置において、第2供給ラインにおける前記分離後ガスの相対湿度は、前記除湿装置よりも下流側の前記第1供給ラインにおける前記被分離ガスの相対湿度よりも低いこと、が好ましい。
(【0011】以降は省略されています)
この特許をJ-PlatPat(特許庁公式サイト)で参照する
関連特許
東邦瓦斯株式会社
二酸化炭素回収装置および二酸化炭素回収方法
2か月前
東洋ガスメーター株式会社
ガスメーター
3か月前
三菱重工エンジン&ターボチャージャ株式会社
制御装置、エンジンシステム、制御方法及びプログラム
2か月前
株式会社西部技研
除湿装置
1か月前
株式会社日本触媒
ドロー溶質
1か月前
プライミクス株式会社
攪拌装置
10日前
日本バイリーン株式会社
フィルタ
24日前
サンノプコ株式会社
消泡剤
1か月前
東レ株式会社
遠心ポッティング方法
1か月前
トヨタ自動車株式会社
濾過装置
25日前
株式会社切川物産
撹拌装置
11日前
トヨタ紡織株式会社
フィルタ
4日前
松岡紙業 株式会社
油吸着体の製造方法
1か月前
栗田工業株式会社
ギ酸の回収方法
11日前
個人
気液混合装置
1か月前
大和ハウス工業株式会社
反応装置
1か月前
トヨタ紡織株式会社
水流帯電装置
4日前
株式会社フクハラ
圧縮空気圧回路ユニット
1か月前
富士電機株式会社
ガス処理システム
1か月前
東芝ライテック株式会社
光照射装置
25日前
株式会社明電舎
成膜装置
1か月前
東芝ライテック株式会社
紫外線処理装置
10日前
日本化薬株式会社
直鎖ブテン製造用触媒及びその使用
1か月前
ノリタケ株式会社
触媒材料およびその利用
1か月前
本田技研工業株式会社
二酸化炭素回収装置
1か月前
ノリタケ株式会社
触媒材料およびその利用
1か月前
本田技研工業株式会社
二酸化炭素回収装置
1か月前
本田技研工業株式会社
二酸化炭素回収装置
1か月前
本田技研工業株式会社
二酸化炭素回収装置
1か月前
本田技研工業株式会社
二酸化炭素回収装置
1か月前
ノリタケ株式会社
触媒材料およびその利用
1か月前
株式会社ダイセル
圧力容器
2日前
東京応化工業株式会社
ろ過処理方法、及び多孔質膜
1か月前
いであ株式会社
PFAS除去用バイオ炭の製造方法
26日前
個人
フッ化炭素糸物にフッ素をコーティングした浄水手段
1か月前
三浦工業株式会社
撹拌装置
1か月前
続きを見る
他の特許を見る