TOP
|
特許
|
意匠
|
商標
特許ウォッチ
Twitter
他の特許を見る
10個以上の画像は省略されています。
公開番号
2025176506
公報種別
公開特許公報(A)
公開日
2025-12-04
出願番号
2024082702
出願日
2024-05-21
発明の名称
巻取装置、及び印刷巻取システム
出願人
セイコーエプソン株式会社
代理人
弁理士法人クシブチ国際特許事務所
主分類
B65H
18/20 20060101AFI20251127BHJP(運搬;包装;貯蔵;薄板状または線条材料の取扱い)
要約
【課題】印刷画質の向上を図ることができる巻取装置、及び印刷巻取システムを提供する。
【解決手段】印刷装置2から排出される印刷媒体100を巻き取る巻取部と、巻取部を回転可能に支持する支持軸207と、巻取部を回転させるための駆動力を印刷装置から巻取部へと伝達する駆動力伝達部材と、を備え、巻取部は、印刷媒体100を周面に巻き取る巻取コア201と、印刷媒体100を巻取コア201に巻き取る場合に、印刷媒体100の巻取り位置をガイドするフランジと、を備え、駆動力伝達部材に設けた第1係合部を、フランジの第2係合部に係合させて、巻取コア201を回転させ、巻取コア201は、支持軸207に沿って軸方向に移動可能に構成される。
【選択図】図4
特許請求の範囲
【請求項1】
印刷装置から排出される印刷媒体を巻き取る巻取部と、
前記巻取部を回転可能に支持する支持軸と、
前記巻取部を回転させるための駆動力を前記印刷装置から前記巻取部へと伝達する駆動力伝達部材と、
を備え、
前記巻取部は、
前記印刷媒体を周面に巻き取る巻取コアと、
前記印刷媒体を前記巻取コアに巻き取る場合に、前記印刷媒体の巻取り位置をガイドするフランジと、
を備え、
前記駆動力伝達部材に設けた第1係合部を、前記フランジの第2係合部に係合させて、前記巻取コアを回転させ、前記巻取コアは、前記支持軸に沿って軸方向に移動可能に構成される、
巻取装置。
続きを表示(約 980 文字)
【請求項2】
前記第1係合部と前記第2係合部は、一方が凸部であり、他方が貫通孔である
請求項1に記載の巻取装置。
【請求項3】
前記支持軸は、長手方向において、
前記フランジに接近して配置される一方の端部である第1端部と、
前記第1端部とは反対側に位置する他方の端部である第2端部と、
を備え、
前記第2端部には、前記長手方向における前記巻取コアの移動を制限する移動制限部が設けられ、
前記凸部の土台となる部材の内、前記貫通孔が形成された部材と対向する面を凸部側対向面、とし、
前記貫通孔が形成された部材の内、前記凸部側対向面と対向する面を貫通孔側対向面、前記巻取コアの前記移動制限部と対向する面を巻取コア側対向面、としたときに、
前記巻取コア側対向面と前記移動制限部とが接触した状態で前記印刷媒体の前記巻取コアへの巻取りを開始した場合、
前記巻取コアに前記印刷媒体を巻き取る最中に前記凸部側対向面と前記貫通孔側対向面とは接触しない
請求項2に記載の巻取装置。
【請求項4】
前記第1係合部及び前記第2係合部のいずれか一方は、凸部であり、
前記第1係合部及び前記第2係合部のいずれか他方は、凹部である
請求項1に記載の巻取装置。
【請求項5】
前記支持軸は、長手方向において、
前記フランジに接近して配置される一方の端部である第1端部と、
前記第1端部とは反対側に位置する他方の端部である第2端部と、
を備え、
前記第2端部には、前記長手方向における前記巻取コアの移動を制限する移動制限部が設けられ、
前記巻取コアの前記移動制限部と対向する面を巻取コア側対向面、としたときに、
前記巻取コア側対向面と前記移動制限部とが接触した状態で前記印刷媒体の前記巻取コアへの巻取りを開始した場合、前記巻取コアへ前記印刷媒体を巻き取る最中に前記凸部の先端面と前記凹部の底面とは接触しない
請求項4に記載の巻取装置。
【請求項6】
請求項1から請求項5のいずれか一項に記載の巻取装置と、
前記印刷装置と、
を有する
印刷巻取システム。
発明の詳細な説明
【技術分野】
【0001】
本発明は、巻取装置、及び印刷巻取システムに関する。
続きを表示(約 1,600 文字)
【背景技術】
【0002】
特許文献1は、印刷装置から排出される印刷媒体である印刷用紙を巻き取る巻取部と、巻取部を回転可能に支持する支持軸と、巻取部を回転させるための駆動力を印刷装置から巻取部へと伝達する駆動力伝達部材と、を備える巻取装置を開示する。
【先行技術文献】
【特許文献】
【0003】
特開2015-134686号公報
【発明の概要】
【発明が解決しようとする課題】
【0004】
しかしながら、特許文献1では、支持軸の軸方向に巻取部が移動しない構成であるため、印刷装置での印刷用紙の用紙端がばらつくとき、巻取部に設けられるフランジ側面に印刷媒体が強く接触しながら巻取り動作がなされる虞があり、巻取り不良を発生させる課題がある。
【課題を解決するための手段】
【0005】
上記課題を解決する一態様は、印刷装置から排出される印刷媒体を巻き取る巻取部と、前記巻取部を回転可能に支持する支持軸と、前記巻取部を回転させるための駆動力を前記印刷装置から前記巻取部へと伝達する駆動力伝達部材と、を備え、記巻取部は、前記印刷媒体を周面に巻き取る巻取コアと、前記印刷媒体を前記巻取コアに巻き取る場合に、前記印刷媒体の巻取り位置をガイドするフランジと、を備え、前記駆動力伝達部材に設けた第1係合部を、前記フランジの第2係合部に係合させて、前記巻取コアを回転させ、前記巻取コアは、前記支持軸に沿って軸方向に移動可能に構成される、巻取装置である。
【0006】
上記課題を解決する別の一態様は、前記巻取装置と、前記印刷装置と、を有する印刷巻取システムである。
【図面の簡単な説明】
【0007】
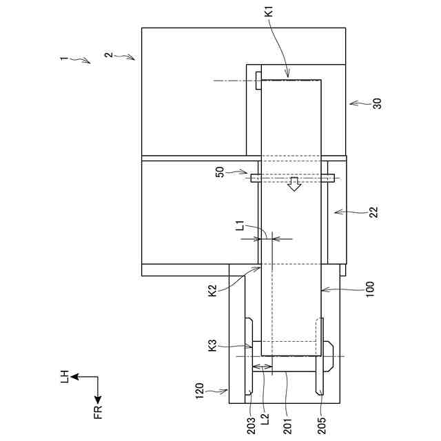
印刷巻取システムを正面側から視た斜視図。
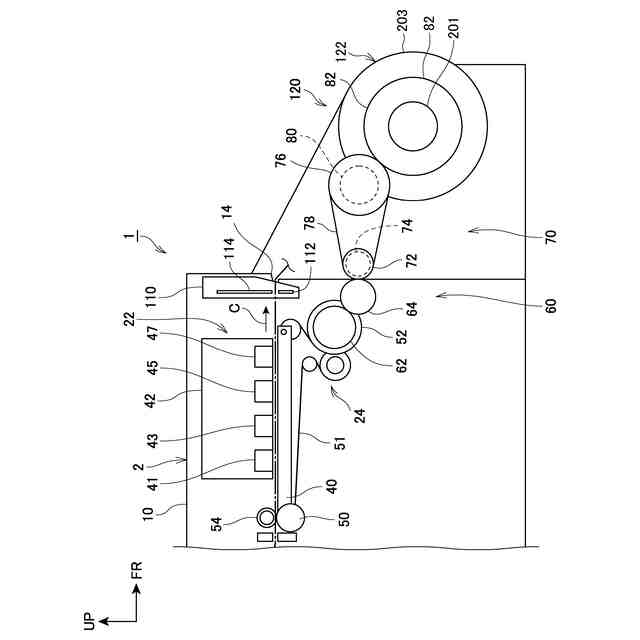
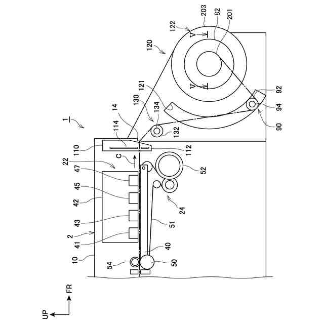
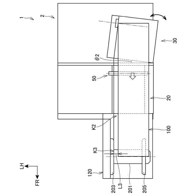
印刷巻取システムの搬送経路に係る各部を示す要部側面図。
印刷巻取システムの搬送経路に係る各部を示す要部側面図。
印刷巻取システムの搬送経路に係る各部を示す要部側面図。
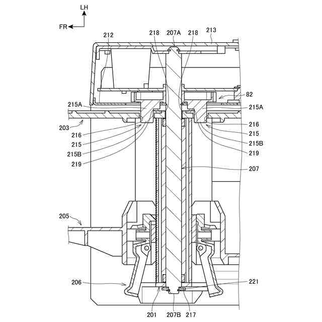
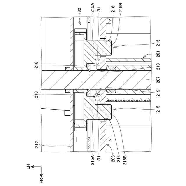
図4のV-V断面図。
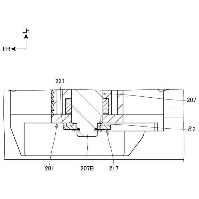
図5のVIの範囲を拡大して示す図。
図5のVIIの範囲を拡大して示す図。
印刷巻取システム1の概略を示す平面図。
印刷巻取システム1の概略を示す平面図。
印刷巻取システム1の概略を示す平面図。
印刷巻取システム1の概略を示す平面図。
印刷巻取システム1の概略を示す平面図。
変形例に係る図5のVIの範囲を拡大して示す図。
【発明を実施するための形態】
【0008】
以下、図面を参照して本開示の実施形態について説明する。なお、説明中、前後左右および上下といった方向の記載は、特に記載がなければ各図が示す印刷装置2に対する方向と同一とする。また、各図に示す符号FRは、印刷装置2の前方を示し、符号UPは、印刷装置2の上方を示し、符号LHは、印刷装置2の左方を示す。
【0009】
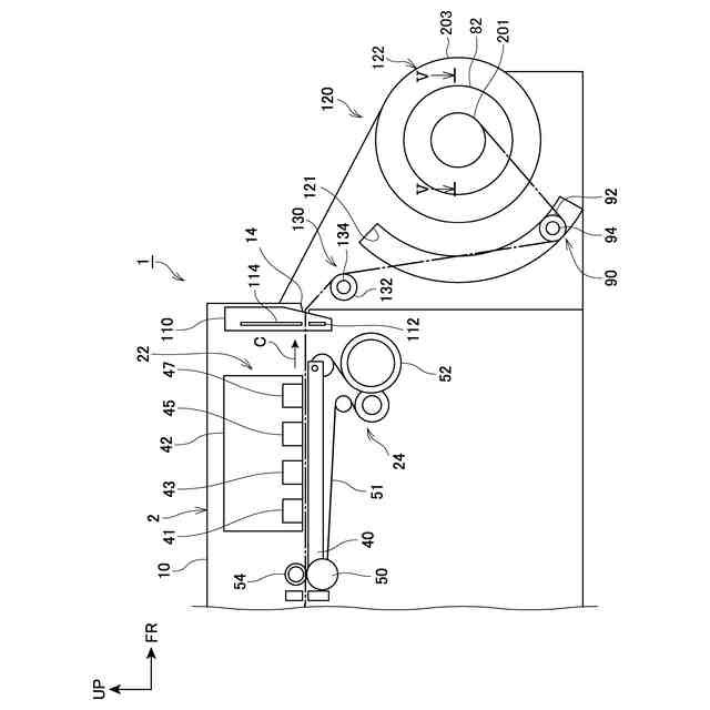
図1は、印刷巻取システム1を正面側から視た斜視図である。
図1では、説明の便宜上、搬送方向Cと、交差方向Iと、印刷媒体100とを一点鎖線で示す。
図1に示すように、印刷巻取システム1は、印刷装置2と、当該印刷装置2に取り付けられる巻取装置120とを備える。
印刷装置2は、ライン状のインクジェットヘッドを備え、当該インクジェットへッドからインクを吐出して、印刷媒体に文字や画像を印刷する、所謂ライン型のインクジェット式プリンターである。
【0010】
印刷装置2で印刷に使用される印刷媒体は、連続シートであり、紙や合成樹脂等で形成される。例えば、インクジェット式の印刷に適した、インクの吸収能および定着性を高める表面加工が施されたファイン紙であってもよい。
(【0011】以降は省略されています)
この特許をJ-PlatPat(特許庁公式サイト)で参照する
関連特許
セイコーエプソン株式会社
治療機器
6日前
セイコーエプソン株式会社
電子時計
14日前
セイコーエプソン株式会社
記録装置
6日前
セイコーエプソン株式会社
微細化装置
1日前
セイコーエプソン株式会社
微細化装置
1日前
セイコーエプソン株式会社
半導体装置
14日前
セイコーエプソン株式会社
画像記録装置
7日前
セイコーエプソン株式会社
流体デバイス
6日前
セイコーエプソン株式会社
文字板及び時計
14日前
セイコーエプソン株式会社
シート製造装置
7日前
セイコーエプソン株式会社
ダイオード回路
14日前
セイコーエプソン株式会社
フィルター装置
6日前
セイコーエプソン株式会社
光源装置およびプロジェクター
6日前
セイコーエプソン株式会社
振動素子、振動子、及び発振器
7日前
セイコーエプソン株式会社
媒体搬送装置及び画像読取装置
今日
セイコーエプソン株式会社
振動素子、振動子、及び発振器
今日
セイコーエプソン株式会社
緩衝材および緩衝材の製造方法
6日前
セイコーエプソン株式会社
光源装置およびプロジェクター
6日前
セイコーエプソン株式会社
巻取装置、及び印刷巻取システム
今日
セイコーエプソン株式会社
液体吐出ヘッドおよび液体吐出装置
6日前
セイコーエプソン株式会社
液体吐出ヘッド、および液体吐出装置
6日前
セイコーエプソン株式会社
液体吐出ヘッド、および液体吐出装置
6日前
セイコーエプソン株式会社
触媒構造体および触媒構造体の製造方法
6日前
セイコーエプソン株式会社
時計用部品および時計用部品の製造方法
6日前
セイコーエプソン株式会社
振動デバイス
14日前
セイコーエプソン株式会社
画像読み取り装置
14日前
セイコーエプソン株式会社
レシートシステム、レシートシステムの制御方法、及び、サーバー
6日前
セイコーエプソン株式会社
電気光学装置および電子機器
20日前
個人
収容箱
4か月前
個人
束ね具
23日前
個人
コンベア
6か月前
個人
段ボール箱
8か月前
個人
ゴミ収集器
8か月前
個人
容器
10か月前
個人
段ボール箱
8か月前
個人
バンド
3か月前
続きを見る
他の特許を見る