TOP
|
特許
|
意匠
|
商標
特許ウォッチ
Twitter
他の特許を見る
10個以上の画像は省略されています。
公開番号
2025176337
公報種別
公開特許公報(A)
公開日
2025-12-04
出願番号
2024082411
出願日
2024-05-21
発明の名称
振動素子、振動子、及び発振器
出願人
セイコーエプソン株式会社
代理人
個人
,
個人
,
個人
主分類
H03H
9/19 20060101AFI20251127BHJP(基本電子回路)
要約
【課題】高周波で低CI値の振動素子、振動子、及び発振器を提供する。
【解決手段】振動素子1は、振動部11、及び振動部11よりも厚さが大きい支持部12を有する水晶基板10と、振動部11に配置された励振電極31,32と、を備え、発振周波数が300MHz以上であり、励振電極31,32の面積が、振動部11の面積の35%以下である。
【選択図】図5
特許請求の範囲
【請求項1】
振動部、及び前記振動部よりも厚さが大きい支持部を有する水晶基板と、
前記振動部に配置された励振電極と、を備え、
発振周波数が300MHz以上であり、
前記励振電極の面積が、前記振動部の面積の35%以下である、
振動素子。
続きを表示(約 880 文字)
【請求項2】
前記励振電極の面積が、前記振動部の面積の25%以下である、
請求項1に記載の振動素子。
【請求項3】
発振周波数が491MHz以上、700MHz以下であり、
前記励振電極の面積が、前記振動部の面積の17%以下である、
請求項1に記載の振動素子。
【請求項4】
前記支持部は、前記振動部の一方の面側において前記振動部よりも突出している、
請求項1乃至請求項3の何れか一項に記載の振動素子。
【請求項5】
前記支持部は、前記一方の面の裏側である他方の面側においても、前記振動部よりも突出している、
請求項4に記載の振動素子。
【請求項6】
前記支持部は、
前記振動部の一方の外縁に沿って配置された第1支持部と、
前記振動部に対して前記一方の外縁の反対側の外縁に配置された第2支持部と、を含み、
前記第1支持部は、前記振動部の一方の面側において前記振動部よりも突出しており、
前記第2支持部は、前記一方の面の裏側の他方の面側において、前記振動部よりも突出している、
請求項1乃至請求項3の何れか一項に記載の振動素子。
【請求項7】
前記振動部の外縁の一部は、前記水晶基板の外縁の一部を構成している、
請求項1乃至請求項3の何れか一項に記載の振動素子。
【請求項8】
前記支持部は、平面視で前記振動部を囲んでいる、
請求項1乃至請求項3の何れか一項に記載の振動素子。
【請求項9】
請求項1乃至請求項3の何れか一項に記載の振動素子と、
前記振動素子を収容する容器と、
を備える、
振動子。
【請求項10】
請求項1乃至請求項3の何れか一項に記載の振動素子と、
前記振動素子を励振させる発振回路と、
前記振動素子及び前記発振回路を収容する容器と、
を備える、
発振器。
発明の詳細な説明
【技術分野】
【0001】
本発明は、振動素子、振動子、及び発振器に関する。
続きを表示(約 1,500 文字)
【背景技術】
【0002】
特許文献1には、CI値が小さく、近傍のスプリアスを抑圧した高周波の小型圧電振動素子を基本波で実現することを課題とし、矩形の振動部と、振動部と一体的に形成されたL字状の厚肉部と、厚肉部に配置されたスリットとを備えた振動素子が開示されている。
【先行技術文献】
【特許文献】
【0003】
特開2014-7693号公報
【発明の概要】
【発明が解決しようとする課題】
【0004】
通信機器は、更なる高速・大容量通信が求められており、振動素子への要求も高周波化が進んでいる。一方で、高周波化に伴ってCI値が増大し易く、発振器の要求性能を満たせない事案が増えつつある。そこで、特許文献1の圧電振動素子のように振動部や厚肉部の配置を工夫するだけでは、更なる高周波化や低CI値を実現するには限界があった。
【課題を解決するための手段】
【0005】
振動素子は、振動部、及び前記振動部よりも厚さが大きい支持部を有する水晶基板と、前記振動部に配置された励振電極と、を備え、発振周波数が300MHz以上であり、前記励振電極の面積が、前記振動部の面積の35%以下である。
【0006】
振動子は、上記に記載の振動素子と、前記振動素子を収容する容器と、を備える。
【0007】
発振器は、上記に記載の振動素子と、前記振動素子を励振させる発振回路と、前記振動素子及び前記発振回路を収容する容器と、を備える。
【図面の簡単な説明】
【0008】
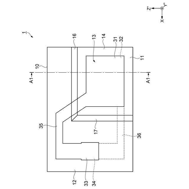
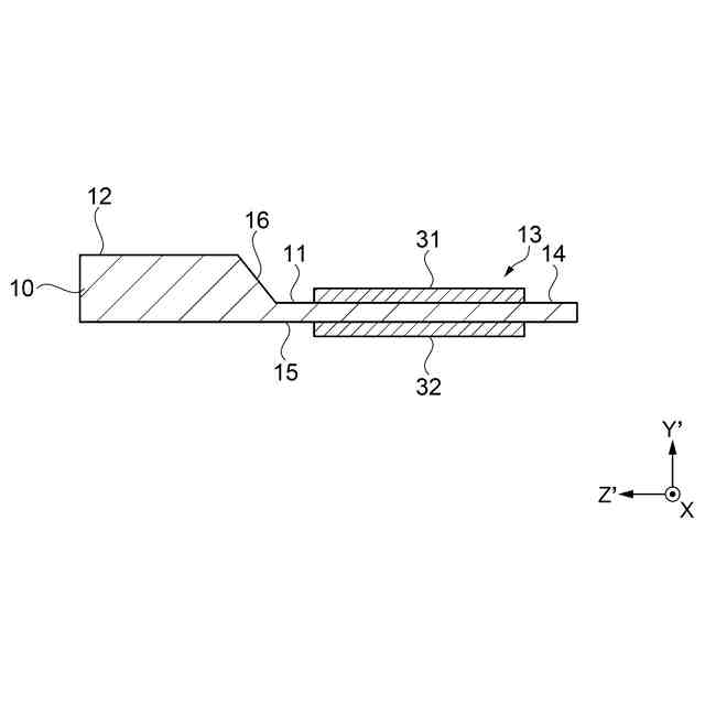
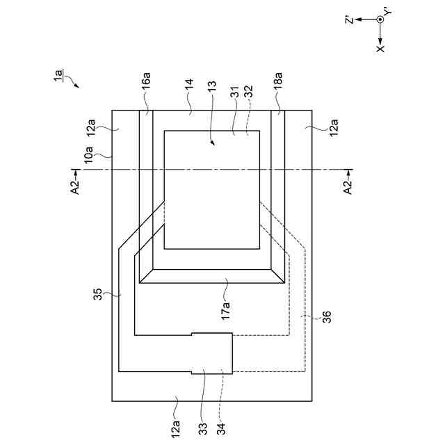
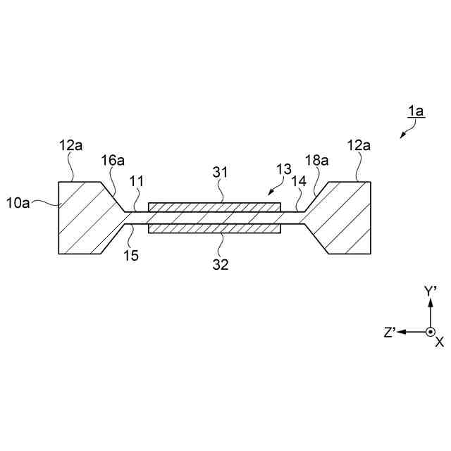
第1実施形態に係る振動素子の構成を示す斜視図。
ATカット水晶基板と水晶の結晶軸との関係を説明する図。
図1に示す振動素子の平面図。
図3中のA1-A1線における断面図。
面積比とCI値比との関係を示す図。
第2実施形態に係る振動素子の構成を示す平面図。
図6中のA2-A2線における断面図。
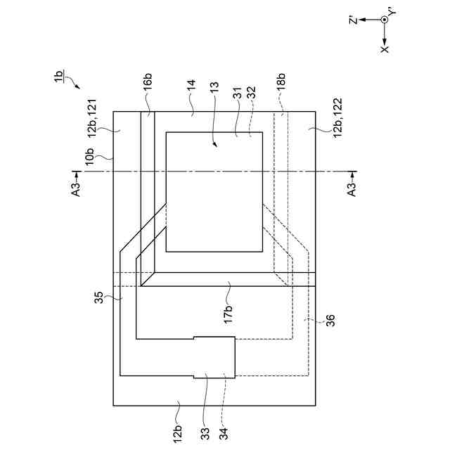
第3実施形態に係る振動素子の構成を示す平面図。
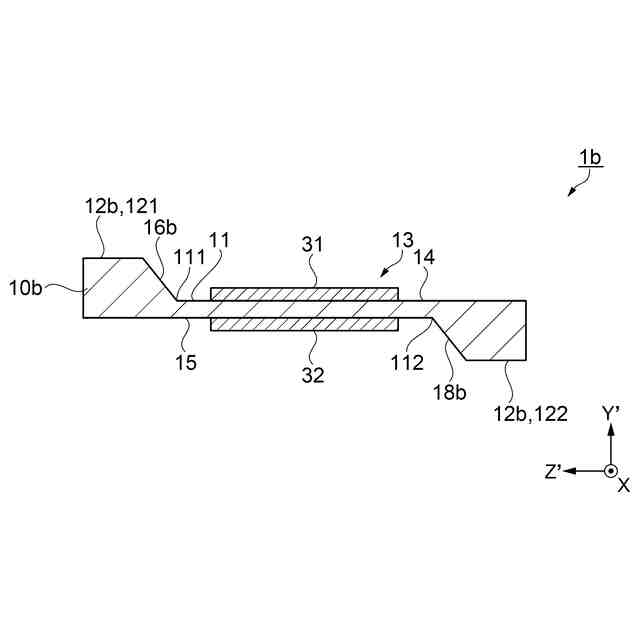
図8中のA3-A3線における断面図。
第4実施形態に係る振動素子の構成を示す平面図。
図10中のA4-A4線における断面図。
第5実施形態に係る振動素子の構成を示す平面図。
図12中のA5-A5線における断面図。
第6実施形態に係る振動素子の構成を示す平面図。
図14中のA6-A6線における断面図。
第7実施形態に係る振動子の構成を示す平面図。
図16中のA7-A7線における断面図。
第8実施形態に係る発振器の構成を示す平面図。
図18中のA8-A8線における断面図。
【発明を実施するための形態】
【0009】
1.第1実施形態
第1実施形態に係る振動素子1について、図1~図4を参照して説明する。
【0010】
尚、説明の便宜上、図2、図5、図18、及び図19を除く以降の各図には、互いに直交する3つの軸として、X軸、Y’軸、及びZ’軸を図示している。また、振動素子1の長手方向をX軸に沿った方向として「X方向」、振動素子1の厚み方向をY’軸に沿った方向として「Y’方向」、X軸及びY’軸に垂直な方向をZ’軸に沿った方向として「Z’方向」と言う。また、各軸の矢印側を「プラス側」、矢印と反対側を「マイナス側」とも言う。
(【0011】以降は省略されています)
この特許をJ-PlatPat(特許庁公式サイト)で参照する
関連特許
株式会社蜂鳥
増幅器
8日前
エイブリック株式会社
増幅器
1か月前
エイブリック株式会社
増幅器
2か月前
エイブリック株式会社
増幅回路
1か月前
日本電波工業株式会社
圧電振動片
1か月前
日本電波工業株式会社
水晶振動子
27日前
エイブリック株式会社
電圧検出器
3か月前
株式会社トーキン
ノイズフィルタ
3か月前
富士電機株式会社
半導体装置
7日前
株式会社半導体エネルギー研究所
駆動回路
2か月前
株式会社村田製作所
増幅回路
3か月前
京セラ株式会社
差動信号フィルタデバイス
14日前
京セラ株式会社
差動信号フィルタデバイス
14日前
台灣晶技股ふん有限公司
水晶発振器
1か月前
株式会社村田製作所
弾性波装置
7日前
株式会社村田製作所
高周波回路
3か月前
TDK株式会社
電子部品
1か月前
台灣晶技股ふん有限公司
水晶発振素子
1か月前
TDK株式会社
電子部品
1か月前
ローム株式会社
半導体集積回路
3か月前
ローム株式会社
自己診断システム
1か月前
住友電気工業株式会社
歪補償装置
1日前
住友電気工業株式会社
高周波増幅器
2か月前
株式会社村田製作所
弾性波フィルタ
2か月前
国立大学法人東北大学
弾性表面波デバイス
27日前
三菱電機株式会社
高周波増幅器モジュール
1か月前
ローム株式会社
駆動回路
3か月前
ローム株式会社
駆動回路
3か月前
ローム株式会社
遅延回路
3か月前
日清紡マイクロデバイス株式会社
演算増幅器
2か月前
株式会社村田製作所
高周波電力増幅器
6日前
株式会社村田製作所
高周波電力増幅器
6日前
ローム株式会社
A/Dコンバータ回路
3か月前
アルプスアルパイン株式会社
センサ装置
1か月前
エイブリック株式会社
出力制御回路及び電圧出力回路
2か月前
エイブリック株式会社
電流制限回路及び電流制限装置
2か月前
続きを見る
他の特許を見る