TOP
|
特許
|
意匠
|
商標
特許ウォッチ
Twitter
他の特許を見る
公開番号
2025175782
公報種別
公開特許公報(A)
公開日
2025-12-03
出願番号
2024082043
出願日
2024-05-20
発明の名称
微細化装置
出願人
セイコーエプソン株式会社
代理人
個人
,
個人
,
個人
主分類
B02C
18/12 20060101AFI20251126BHJP(破砕,または粉砕;製粉のための穀粒の前処理)
要約
【課題】使用用途を多彩にすることができ、汎用性に優れる微細化装置を提供すること。
【解決手段】繊維を含む原料が投入される投入口と、原料が微細化された微細化物を排出する排出口と、を有するケーシングと、ケーシング内に収容され、ブレードを有し、回転軸回りに回転することにより原料を微細化するローターと、投入口に設けられ、投入口の開閉を行う第1開閉部と、排出口に設けられ、排出口の開閉を行う第2開閉部と、を備えることを特徴とする微細化装置。
【選択図】図1
特許請求の範囲
【請求項1】
繊維を含む原料が投入される投入口と、前記原料が微細化された微細化物を排出する排出口と、を有するケーシングと、
前記ケーシング内に収容され、ブレードを有し、回転軸回りに回転することにより前記原料を微細化するローターと、
前記投入口に設けられ、前記投入口の開閉を行う第1開閉部と、
前記排出口に設けられ、前記排出口の開閉を行う第2開閉部と、を備えることを特徴とする微細化装置。
続きを表示(約 740 文字)
【請求項2】
前記第1開閉部は、第1シャッター部材と、前記第1シャッター部材を開閉駆動する第1駆動部と、を有し、
前記第2開閉部は、第2シャッター部材と、前記第2シャッター部材を開閉駆動する第2駆動部と、を有する請求項1に記載の微細化装置。
【請求項3】
前記第1駆動部および前記第2駆動部の駆動の制御を行う制御部を備える請求項2に記載の微細化装置。
【請求項4】
前記制御部は、前記原料の前記ケーシング内への投入時には、前記第1シャッター部材を開状態とし、
前記原料の微細化処理中は、前記第1シャッター部材および前記第2シャッター部材を閉状態とし、
前記微細化物の排出時には、前記第2シャッター部材を開状態とするよう前記第1駆動部および前記第2駆動部の作動を制御する請求項3に記載の微細化装置。
【請求項5】
前記ローターを回転駆動するモーターを備え、
前記制御部は、前記モーターの駆動を制御する請求項4に記載の微細化装置。
【請求項6】
前記制御部は、前記微細化物の排出時には、前記ローターを前記原料の微細化処理中よりも遅い速度で回転するよう制御する請求項5に記載の微細化装置。
【請求項7】
前記制御部は、前記原料が前記ケーシング内に投入される前に、前記ブレードが前記投入口を塞がない位置となるよう前記モーターの駆動を制御する請求項5に記載の微細化装置。
【請求項8】
前記回転軸が水平方向に対して交わる方向に沿って、かつ前記排出口が前記投入口よりも下方に位置するよう配置される請求項1ないし7のいずれか1項に記載の微細化装置。
発明の詳細な説明
【技術分野】
【0001】
本発明は、微細化装置に関する。
続きを表示(約 1,700 文字)
【背景技術】
【0002】
例えば、特許文献1に記載されているような微粉砕機が知られている。特許文献1の微粉砕機は、原料入口部および出口部を有するケーシングと、ケーシングの内面に設けられたライナーと、ケーシング内で回転するローターと、を有する。原料入口部よりケーシング内に導入された原料は、回転しているローターとライナーとの間を通過する際に微粉砕され、得られた微粉砕物は出口部から排出される。
【先行技術文献】
【特許文献】
【0003】
特開平11-276916号公報
【発明の概要】
【発明が解決しようとする課題】
【0004】
しかしながら、特許文献1に記載されている微粉砕機では、連続的に原料を投入して微粉砕を行う構成であるため、例えば、原料の種類、投入量等を変更したり、微粉砕の速度、程度等の条件を変更したりする際、微粉砕機の作動を一旦停止し、微粉砕機の設定を変更する必要がある。しかも、設定変更のために、微粉砕機は、長時間停止する必要がある。このように、従来の微粉砕機は、連続式処理を前提として設計されたものであり、バッチ式処理に適しておらず、使用用途や使用条件、原料の選択等が限定的である。
【課題を解決するための手段】
【0005】
本発明の微細化装置は、繊維を含む原料が投入される投入口と、前記原料が微細化された微細化物を排出する排出口と、を有するケーシングと、
前記ケーシング内に収容され、ブレードを有し、回転軸回りに回転することにより前記原料を微細化するローターと、
前記投入口に設けられ、前記投入口の開閉を行う第1開閉部と、
前記排出口に設けられ、前記排出口の開閉を行う第2開閉部と、を備える。
【図面の簡単な説明】
【0006】
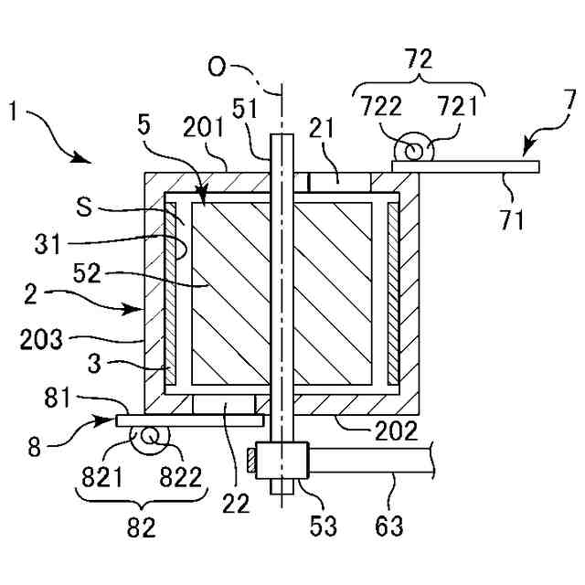
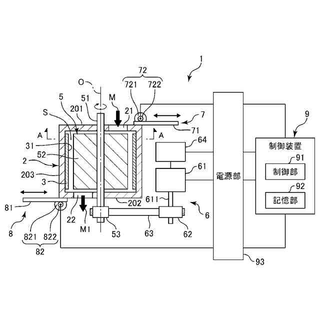
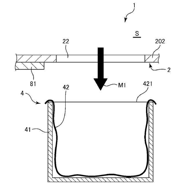
図1は、本発明の実施形態に係る微細化装置の概略を示す構成図(一部断面図)である。
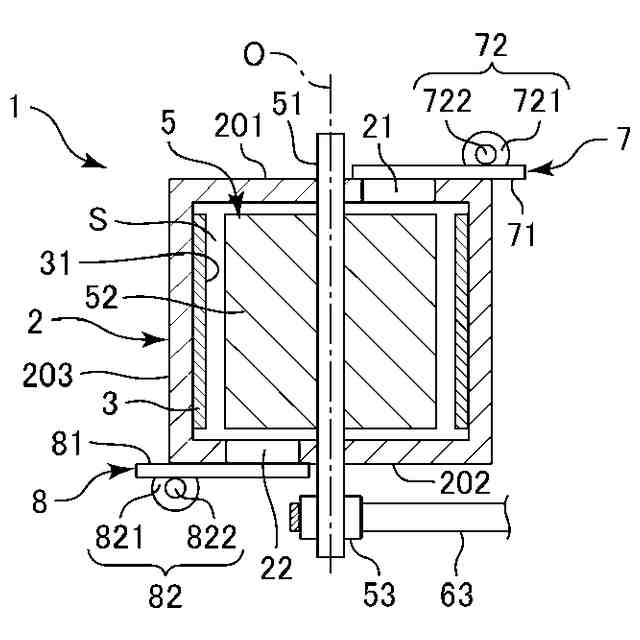
図2は、図1中のA-A線断面図である。
図3は、図1に示す微細化装置において、原料の投入時の状態を示す縦断面図である。
図4は、図1に示す微細化装置において、微細化処理中の状態を示す縦断面図である。
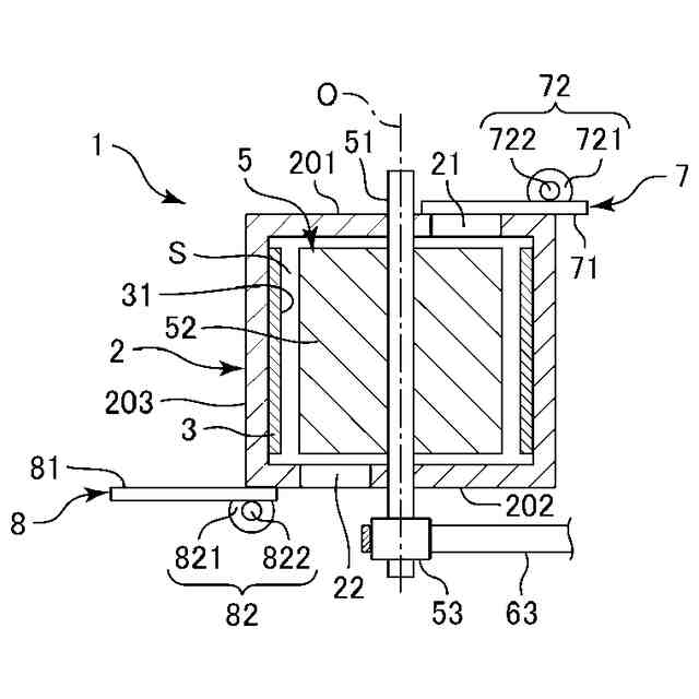
図5は、図1に示す微細化装置において、微細化物の排出時の状態を示す縦断面図である。
図6は、図1に示す微細化装置が備える回収部の縦断面図である。
【発明を実施するための形態】
【0007】
以下、本発明の微細化装置を添付図面に示す好適な実施形態に基づいて詳細に説明する。
【0008】
<第1実施形態>
図1は、本発明の実施形態に係る微細化装置の概略を示す構成図(一部断面図)である。図2は、図1中のA-A線断面図である。図3は、図1に示す微細化装置において、原料の投入時の状態を示す縦断面図である。図4は、図1に示す微細化装置において、微細化処理中の状態を示す縦断面図である。図5は、図1に示す微細化装置において、微細化物の排出時の状態を示す縦断面図である。図6は、図1に示す微細化装置が備える回収部の縦断面図である。
【0009】
なお、以下では、図1、3、4、5および6の上側を「上」または「上方」、下側を「下」または「下方」と言うことがある。また、図1、3、4、5および6の左側を「左」または「左側」、右側を「右」または「右側」と言うことがある。
【0010】
図1に示す微細化装置1は、供給された原料を微細化して微細化物を排出するものであり、本実施形態では、微細化装置1は、原料の一例である繊維を含むシートが粗砕された粗砕片Mに対し微細化処理、すなわち、解繊処理を行い、微細化物の一例である解繊物M1を生成する装置である。なお、上記構成に限定されず、微細化装置1は、供給された原料を粗砕して粗砕片を生成する粗砕装置であってもよい。すなわち、微細化装置1が行う微細化処理には、解繊処理の他、粗砕処理、破砕処理、粉末化処理等が含まれる。
(【0011】以降は省略されています)
この特許をJ-PlatPat(特許庁公式サイト)で参照する
関連特許
セイコーエプソン株式会社
記録装置
6日前
セイコーエプソン株式会社
微細化装置
1日前
セイコーエプソン株式会社
微細化装置
1日前
セイコーエプソン株式会社
流体デバイス
6日前
セイコーエプソン株式会社
フィルター装置
6日前
セイコーエプソン株式会社
媒体搬送装置及び画像読取装置
今日
セイコーエプソン株式会社
振動素子、振動子、及び発振器
今日
セイコーエプソン株式会社
光源装置およびプロジェクター
6日前
セイコーエプソン株式会社
光源装置およびプロジェクター
6日前
セイコーエプソン株式会社
巻取装置、及び印刷巻取システム
今日
セイコーエプソン株式会社
液体吐出ヘッド、および液体吐出装置
6日前
セイコーエプソン株式会社
液体吐出ヘッド、および液体吐出装置
6日前
セイコーエプソン株式会社
時計用部品および時計用部品の製造方法
6日前
セイコーエプソン株式会社
触媒構造体および触媒構造体の製造方法
6日前
セイコーエプソン株式会社
レシートシステム、レシートシステムの制御方法、及び、サーバー
6日前
個人
回転衝撃式ローラ粉砕機
1か月前
株式会社アイシン
粉砕機
1日前
株式会社サタケ
醸造用精米機
1か月前
セイコーエプソン株式会社
微細化装置
1日前
セイコーエプソン株式会社
微細化装置
1日前
株式会社フロム工業
ディスポーザ
20日前
井関農機株式会社
自動精米洗米炊飯機
27日前
油圧機工業有限会社
破砕機用の刃物、この刃物を利用する破砕機
14日前
個人
粉砕乾燥用蒸気ジェット噴射装置
1か月前
個人
気泡緩衝材減容装置
1か月前
個人
気泡緩衝材減容装置
1か月前
井関農機株式会社
籾摺選別機
1か月前
井関農機株式会社
籾摺選別機
1か月前
UBE株式会社
金属異物の除去方法および装置
1か月前
三菱重工業株式会社
粉砕テーブル及び固体燃料粉砕装置並びに粉砕テーブルの補修方法
1か月前
株式会社日清製粉グループ本社
水分量予測装置、加水流量予測装置、水分量予測方法及び加水流量予測方法
6日前
DOWAホールディングス株式会社
シミュレーション装置及びプログラム
1か月前
寧波厨聚厨房科技有限公司
挽き装置
1か月前
株式会社スリーエスビューティーグループ
ネットワーク型人材評価システム
14日前
サミー株式会社
遊技機
28日前
ケース ウエスタン リザーブ ユニバーシティ
ナノバブル標的療法
8日前
続きを見る
他の特許を見る