TOP
|
特許
|
意匠
|
商標
特許ウォッチ
Twitter
他の特許を見る
10個以上の画像は省略されています。
公開番号
2025173557
公報種別
公開特許公報(A)
公開日
2025-11-28
出願番号
2024079120
出願日
2024-05-15
発明の名称
治療機器
出願人
セイコーエプソン株式会社
代理人
弁理士法人明成国際特許事務所
主分類
A61B
18/18 20060101AFI20251120BHJP(医学または獣医学;衛生学)
要約
【課題】患者の患部を選択的に加熱する。
【解決手段】治療機器は、電磁界を発生させる電磁界発生部と、電磁界発生部と、電磁界発生部に印加される高周波電圧を発生させる高周波電源と、を電気的に接続する伝送線路と、を備える。電磁界発生部は、伝送線路を介して高周波電源に電気的に接続される第1電極および第2電極と、第1電極と伝送線路とを電気的に接続する第1コイルと、を有する。第1コイルは、第1電極と伝送線路との間に電気的に接続されている。第1電極と第2電極との一方の電極は、平面視において、他方の電極を囲うように配置されている。
【選択図】図1
特許請求の範囲
【請求項1】
電磁界を発生させる電磁界発生部と、
前記電磁界発生部と、前記電磁界発生部に印加される高周波電圧を発生させる高周波電源と、を電気的に接続する伝送線路と、を備え、
前記電磁界発生部は、前記伝送線路を介して前記高周波電源に電気的に接続される第1電極および第2電極と、前記第1電極と前記伝送線路とを電気的に接続する第1コイルと、を有し、
前記第1コイルは、前記第1電極と前記伝送線路との間に電気的に接続され、
前記第1電極と前記第2電極との一方の電極は、平面視において、他方の電極を囲うように配置されている、治療機器。
続きを表示(約 1,500 文字)
【請求項2】
請求項1に記載の治療機器であって、
前記第2電極は、前記平面視において、前記第1電極を囲うように配置され、
前記第2電極には、基準電位が印加され、前記第1電極には、前記高周波電圧が印加される、治療機器。
【請求項3】
請求項2に記載の治療機器であって、
前記第2電極は、前記平面視において、前記第1電極を連続して囲うように配置され、
前記第1電極は、前記伝送線路としての同軸ケーブルの内部導体に接続され、
前記第2電極は、前記同軸ケーブルの外部導体に接続されている、治療機器。
【請求項4】
請求項1に記載の治療機器であって、
前記平面視において、前記第1電極と前記第2電極との間の輪状の隙間の周長は、出力される前記電磁界の波長の10分の1以下である、治療機器。
【請求項5】
請求項1に記載の治療機器であって、
患者の体内と消化管内との少なくとも一方に挿入可能に構成された管状部であって、前記電磁界発生部が設けられた管状部をさらに備え、
前記平面視は、前記管状部のうち、前記電磁界発生部が設けられた部分の延在方向と直交する方向に見たときの平面視である、治療機器。
【請求項6】
請求項1に記載の治療機器であって、
患者の皮膚の表皮を介して前記表皮下に進入可能に構成された針部をさらに備え、
前記電磁界発生部は、前記針部とともに前記表皮を介して前記表皮下に進入可能に構成されている、治療機器。
【請求項7】
請求項1に記載の治療機器であって、
患者の患部の情報に応じて、前記高周波電圧の大きさと周波数との少なくとも一方を制御する制御部と、
前記患部の情報に応じた第1最適値であって、前記高周波電圧の大きさと前記周波数との少なくとも一方に関する第1最適値を記憶する記憶装置と、をさらに備え、
前記制御部は、前記第1最適値を用いて、前記高周波電圧の大きさと前記周波数との少なくとも一方を制御する、治療機器。
【請求項8】
請求項1に記載の治療機器であって、
前記第1コイルと前記高周波電源との間に接続されたインピーダンス整合回路であって、第2コイルとコンデンサーとを含むインピーダンス整合回路と、
患者の患部の情報に応じて前記インピーダンス整合回路の前記第2コイルの定数と前記コンデンサーの定数との少なくとも一方を制御する制御部と、
前記患部の情報に応じた第2最適値であって、前記第2コイルの定数と前記コンデンサーの定数との少なくとも一方に関する第2最適値を記憶する記憶装置と、をさらに備え、
前記第1電極に直列に前記第1コイルが接続され、
前記制御部は、前記第2最適値を用いて、前記第2コイルの定数と前記コンデンサーの定数との少なくとも一方を制御する、治療機器。
【請求項9】
請求項1に記載の治療機器であって、
前記第1電極および前記第2電極は、平板形状であり、患者の患部に対して平行に配置される、治療機器。
【請求項10】
請求項1から9のいずれか一項に記載の治療機器であって、
前記第1電極の外形形状は、前記平面視において、円形状と長円形状とのいずれかであり、
前記第2電極は、前記平面視において、円形状と長円形状とのいずれかの形状の開口を有し、
前記第1電極は、前記平面視において、前記開口内に配置されている、治療機器。
(【請求項11】以降は省略されています)
発明の詳細な説明
【技術分野】
【0001】
本開示は、治療機器に関する。
続きを表示(約 2,600 文字)
【背景技術】
【0002】
特許文献1には、患者の患部にマイクロ波を照射して患部を加温することで、患部を治療する技術が開示されている。
【先行技術文献】
【特許文献】
【0003】
特開2012-45169号公報
【発明の概要】
【発明が解決しようとする課題】
【0004】
患者の患部以外の身体部位への影響を抑制しつつ、患部をより確実に治療するために、患部を選択的に加熱する技術が望まれている。
【課題を解決するための手段】
【0005】
本開示の第1の形態によれば、治療機器が提供される。この治療機器は、電磁界を発生させる電磁界発生部と、前記電磁界発生部と、前記電磁界発生部に印加される高周波電圧を発生させる高周波電源と、を電気的に接続する伝送線路と、を備える。前記電磁界発生部は、前記伝送線路を介して前記高周波電源に電気的に接続される第1電極および第2電極と、前記第1電極と前記伝送線路とを電気的に接続する第1コイルと、を有する。前記第1コイルは、前記第1電極と前記伝送線路との間に電気的に接続され、前記第1電極と前記第2電極との一方の電極は、平面視において、他方の電極を囲うように配置されている。
【0006】
本開示の第2の形態によれば、治療機器が提供される。この治療機器は、電磁界を発生させる電磁界発生部と、前記電磁界発生部と、前記電磁界発生部に印加される高周波電圧を発生させる高周波電源と、を電気的に接続する伝送線路と、を備える。前記電磁界発生部は、前記伝送線路を介して前記高周波電源に電気的に接続される第1電極および第2電極と、前記第1電極と前記伝送線路とを電気的に接続するコイルと、を有する。前記第1電極と前記第2電極との間の最短距離は、出力される前記電磁界の波長の10分の1以下であり、前記第1コイルは、前記第1電極と前記伝送線路との間に電気的に接続されている。
【図面の簡単な説明】
【0007】
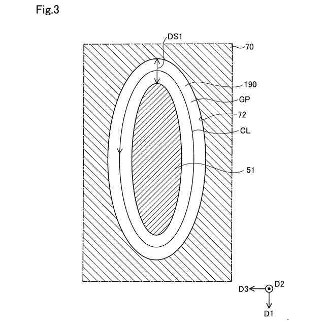
第1実施形態における治療機器の概略構成を示す説明図。
第1実施形態における治療機器が使用される様子の例を示す説明図。
第1電極および第2電極の説明図。
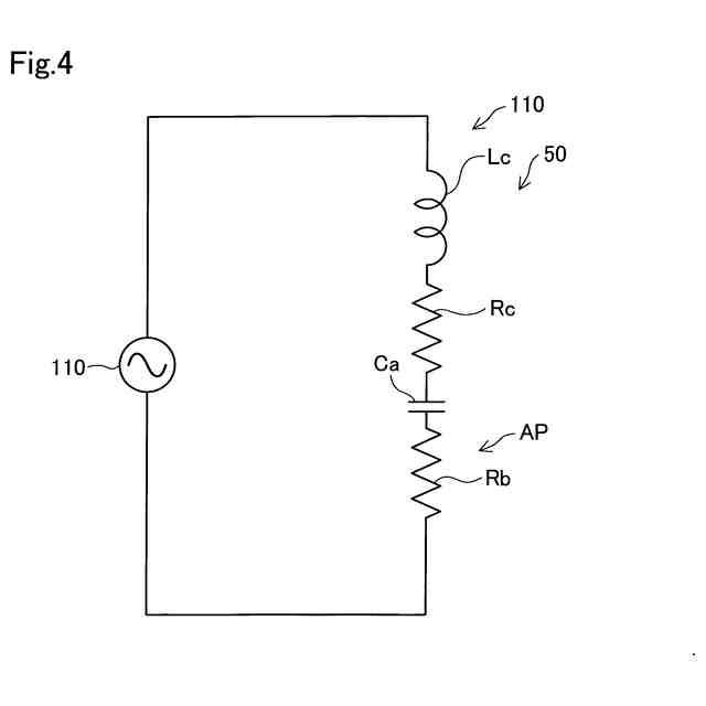
電磁界発生部と患部とによって形成される回路の説明図。
周長と加熱効率との関係を示す模式的なグラフ。
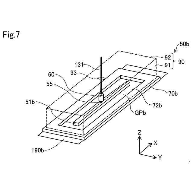
第2実施形態における電磁界発生部の概略構成を示す説明図。
第2実施形態における第1電極および第2電極の概略構成を示す説明図。
第1シミュレーションの第1の説明図。
第1シミュレーションの第2の説明図。
第1シミュレーションの第3の説明図。
第1シミュレーションの第4の説明図。
第3実施形態における治療機器の概略構成を示す説明図。
第4実施形態における制御部の概略構成を示すブロック図。
第5実施形態における治療機器の回路を説明する模式図。
第5実施形態における制御部の概略構成を示すブロック図。
第6実施形態における電磁界発生部の概略構成を示す説明図。
第2シミュレーションの第1の説明図。
第2シミュレーションの第2の説明図。
第2シミュレーションの第3の説明図。
第7実施形態における電磁界発生部の概略構成を示す説明図。
第8実施形態における第1電極および第2電極の概略構成を示す説明図。
第3シミュレーションの結果を示す説明図。
第9実施形態における第1電極の概略構成を示す説明図。
第4シミュレーションの結果を示す説明図。
第10実施形態における第1電極の概略構成を示す説明図。
第5シミュレーションの結果を示す説明図。
第11実施形態における第1電極の概略構成を示す説明図。
第6シミュレーションの結果を示す説明図。
第12実施形態における第1電極の概略構成を示す説明図。
第7シミュレーションの結果を示す説明図。
第13実施形態における第1電極の概略構成を示す説明図。
第8シミュレーションの結果を示す説明図。
第14実施形態における第1電極の概略構成を示す説明図。
第9シミュレーションの結果を示す説明図。
第15実施形態における第1電極の概略構成を示す説明図。
第10シミュレーションの結果を示す説明図。
第16実施形態における第1電極の概略構成を示す説明図。
第11シミュレーションの結果を示す説明図。
【発明を実施するための形態】
【0008】
A.第1実施形態:
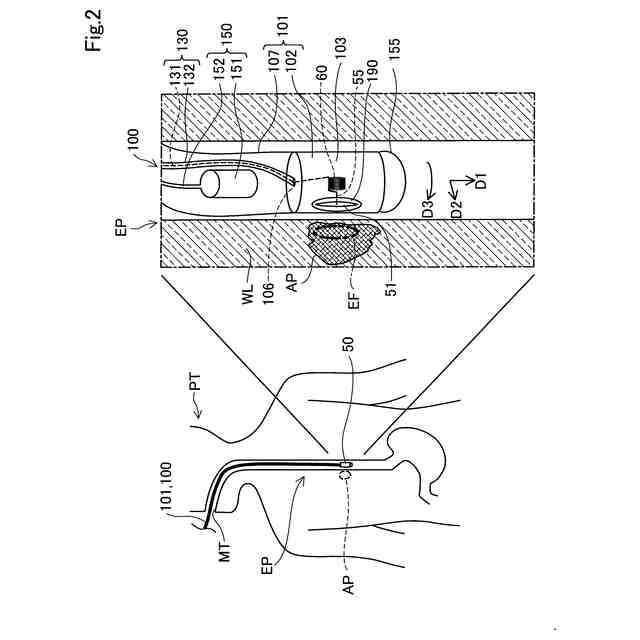
図1は、第1実施形態における治療機器100の概略構成を示す説明図である。図2は、治療機器100が使用される様子の例を示す説明図である。図2に示すように、治療機器100は、患者PTの患部APの治療に使用される。具体的には、治療機器100は、後述する電磁界発生部50から電磁界を発生させるとともに、患部APに電磁界を照射して患部APを加熱することで、患部APを治療する。患部APは、患者PTの身体部位のうち、例えば、癌などの腫瘍が生じている部位である。本実施形態では、患部APは、食道EPの壁WLに生じた癌である。
【0009】
図2に示すように、本実施形態では、治療機器100のうち、電磁界発生部50を含む管状部101は、患者PTの体内と消化管との少なくとも一方に挿入可能に構成されている。管状部101は、先端と後端とを有し、管状部101の先端側から患者PTの体内と消化管との少なくとも一方に挿入される。図2では、管状部101は、患者PTの口腔MTを介して、患者PTの食道EP内に挿入されている。なお、管状部101は、例えば、患者PTの肛門を介して患者PTの消化管内に挿入されてもよい。
【0010】
図1および図2に示すように、治療機器100は、電磁界発生部50と、伝送線路130とを備える。さらに、本実施形態における治療機器100は、管状部101と、照明部155と、電圧発生部110と、内視鏡150と、表示装置160と、制御部200とを備える。
(【0011】以降は省略されています)
この特許をJ-PlatPat(特許庁公式サイト)で参照する
関連特許
個人
貼付剤
1か月前
個人
簡易担架
20日前
個人
腋臭防止剤
20日前
個人
足踏み器具
27日前
個人
短下肢装具
4か月前
個人
前腕誘導装置
4か月前
個人
洗井間専家。
8か月前
個人
排尿補助器具
1か月前
個人
嚥下鍛錬装置
5か月前
個人
胸骨圧迫補助具
3か月前
個人
アイマスク装置
3か月前
個人
汚れ防止シート
2か月前
個人
歯の修復用材料
5か月前
個人
テスト肺
1日前
個人
腰ベルト
1か月前
個人
バッグ式オムツ
5か月前
個人
ウォート指圧法
1か月前
個人
矯正椅子
6か月前
個人
ホバーアイロン
7か月前
個人
哺乳瓶冷まし容器
4か月前
個人
陣痛緩和具
5か月前
個人
排尿排便補助器具
22日前
個人
湿布連続貼り機。
3か月前
個人
歯の保護用シール
6か月前
個人
美容セット
29日前
個人
シャンプー
7か月前
株式会社コーセー
化粧料
1か月前
個人
性行為補助具
4か月前
個人
治療用酸化防御装置
2か月前
個人
エア誘導コルセット
3か月前
株式会社大野
骨壷
5か月前
株式会社八光
剥離吸引管
6か月前
個人
高気圧環境装置
5か月前
個人
形見の製造方法
5か月前
株式会社ニデック
検眼装置
4か月前
株式会社ダリヤ
毛髪化粧料
2か月前
続きを見る
他の特許を見る