TOP
|
特許
|
意匠
|
商標
特許ウォッチ
Twitter
他の特許を見る
10個以上の画像は省略されています。
公開番号
2025178349
公報種別
公開特許公報(A)
公開日
2025-12-05
出願番号
2025154470,2023217567
出願日
2025-09-17,2023-12-25
発明の名称
コンバイン
出願人
井関農機株式会社
代理人
主分類
A01D
69/00 20060101AFI20251128BHJP(農業;林業;畜産;狩猟;捕獲;漁業)
要約
【課題】 刈取作業中に障害物との接触を防止して、刈取作業を安全に行うことができるコンバインを提供すること。
【解決手段】
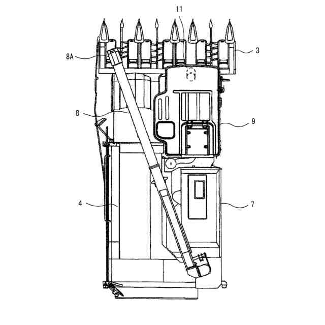
エンジン(E)が搭載された機体フレーム(1)の下側に圃場を走行する走行装置(2)を設け、該機体フレーム(1)の前側に穀稈を刈取る刈取装置(3)を設け、該刈取装置(3)の後方左側に刈取られた穀稈を脱穀する脱穀装置(4)を設け、前記刈取装置(3)の後方右側に作業者が搭乗する操縦部(5)を設け、該操縦部(5)の後側に穀粒を貯留するグレンタンク(7)を設けたコンバインにおいて、前記コンバインのコントローラ(50)の処理部(51)が、前記刈取装置(3)の引起装置(3A)の前方を撮像した第2撮影画像(70)から穀稈オブジェクトと障害物オブジェクトを検出すると、前記走行装置(2)の走行を停止することを特徴とするコンバイン。
【選択図】 図20
特許請求の範囲
【請求項1】
エンジン(E)が搭載された機体フレーム(1)の下側に圃場を走行する走行装置(2)を設け、該機体フレーム(1)の前側に穀稈を刈取る刈取装置(3)を設け、該刈取装置(3)の後方左側に刈取られた穀稈を脱穀する脱穀装置(4)を設け、前記刈取装置(3)の後方右側に作業者が搭乗する操縦部(5)を設け、該操縦部(5)の後側に穀粒を貯留するグレンタンク(7)を設けたコンバインにおいて、
前記コンバインのコントローラ(50)の処理部(51)が、前記刈取装置(3)の引起装置(3A)の前方を撮像した第2撮影画像(70)から穀稈オブジェクトと障害物オブジェクトを検出すると、前記走行装置(2)の走行を停止することを特徴とするコンバイン。
続きを表示(約 770 文字)
【請求項2】
エンジン(E)が搭載された機体フレーム(1)の下側に圃場を走行する走行装置(2)を設け、該機体フレーム(1)の前側に穀稈を刈取る刈取装置(3)を設け、該刈取装置(3)の後方左側に刈取られた穀稈を脱穀する脱穀装置(4)を設け、前記刈取装置(3)の後方右側に作業者が搭乗する操縦部(5)を設け、該操縦部(5)の後側に穀粒を貯留するグレンタンク(7)を設けたコンバインにおいて、
前記コンバインのコントローラ(50)の処理部(51)が、前記刈取装置(3)の引起装置(3A)の前方を撮像した第2撮影画像(70)から穀稈オブジェクトに基づいて障害物オブジェクトを検出すると、前記走行装置(2)の走行を停止することを特徴とするコンバイン。
【請求項3】
前記コントローラ(50)の処理部(51)が、前記刈取装置(3)の引起装置(3A)の前方を撮像した第2撮影画像(70)から障害物オブジェクトを検出しなかった場合において、前記第2撮影画像(70)から算出される穀稈の倒伏率が、予め設定した倒伏率以下の場合には、前記走行装置(2)の走行速度を減速し、前記引起装置(3A)の搬送速度を増速して、予め設定した倒伏率を超える場合には、前記走行装置(2)の走行を停止する請求項1又は2記載のコンバイン。
【請求項4】
前記グレンタンク(7)の穀粒を外部に排出する排出オーガ(8)を設け、前記排出オーガ(8)の前部の排出装置(8A)の右壁に、前記第2撮影画像(70)を撮影するカメラ(11)を設けた請求項1又は2記載のコンバイン。
【請求項5】
キャビン(9)の上壁の下面における前部に、前記第2撮影画像(70)を撮影するカメラ(11B)を設けた請求項1又は2記載のコンバイン。
発明の詳細な説明
【技術分野】
【0001】
本発明は、圃場の穀稈を収穫するコンバインに関するものである。
続きを表示(約 1,400 文字)
【背景技術】
【0002】
従来、予め設定された設定経路に沿ってコンバインを自動走行させる技術が知られている。(特許文献1)
【先行技術文献】
【特許文献】
【0003】
特開2021-7314号公報
【発明の概要】
【発明が解決しようとする課題】
【0004】
しかし、特許文献1の技術では、刈取作業を行っているときに未刈穀稈に障害物が紛れているとコンバインが障害物と接触して刈取作業を安全に行うことができないことがあるという問題があった。
【0005】
そこで、本発明は、刈取作業中に障害物との接触を防止して、刈取作業を安全に行うことができるコンバインを提供することにある。
【課題を解決するための手段】
【0006】
上記課題を解決した本発明は次のとおりである。
【0007】
すなわち、請求項1記載の発明は、エンジン(E)が搭載された機体フレーム(1)の下側に圃場を走行する走行装置(2)を設け、該機体フレーム(1)の前側に穀稈を刈取る刈取装置(3)を設け、該刈取装置(3)の後方左側に刈取られた穀稈を脱穀する脱穀装置(4)を設け、前記刈取装置(3)の後方右側に作業者が搭乗する操縦部(5)を設け、該操縦部(5)の後側に穀粒を貯留するグレンタンク(7)を設けたコンバインにおいて、前記コンバインのコントローラ(50)の処理部(51)が、前記刈取装置(3)の引起装置(3A)の前方を撮像した第2撮影画像(70)から穀稈オブジェクトと障害物オブジェクトを検出すると、前記走行装置(2)の走行を停止することを特徴とするコンバインである。
【0008】
請求項2記載の発明は、エンジン(E)が搭載された機体フレーム(1)の下側に圃場を走行する走行装置(2)を設け、該機体フレーム(1)の前側に穀稈を刈取る刈取装置(3)を設け、該刈取装置(3)の後方左側に刈取られた穀稈を脱穀する脱穀装置(4)を設け、前記刈取装置(3)の後方右側に作業者が搭乗する操縦部(5)を設け、該操縦部(5)の後側に穀粒を貯留するグレンタンク(7)を設けたコンバインにおいて、前記コンバインのコントローラ(50)の処理部(51)が、前記刈取装置(3)の引起装置(3A)の前方を撮像した第2撮影画像(70)から穀稈オブジェクトに基づいて障害物オブジェクトを検出すると、前記走行装置(2)の走行を停止することを特徴とするコンバインである。
【0009】
請求項3記載の発明は、前記コントローラ(50)の処理部(51)が、前記刈取装置(3)の引起装置(3A)の前方を撮像した第2撮影画像(70)から障害物オブジェクトを検出しなかった場合において、前記第2撮影画像(70)から算出される穀稈の倒伏率が、予め設定した倒伏率以下の場合には、前記走行装置(2)の走行速度を減速し、前記引起装置(3A)の搬送速度を増速して、予め設定した倒伏率を超える場合には、前記走行装置(2)の走行を停止する請求項1又は2記載のコンバインである。
【0010】
請求項4記載の発明は、前記グレンタンク(7)の穀粒を外部に排出する排出オーガ(8)を設け、前記排出オーガ(8)の前部の排出装置(8A)の右壁に、前記第2撮影画像(70)を撮影するカメラ(11)を設けた請求項1又は2記載のコンバインである。
(【0011】以降は省略されています)
この特許をJ-PlatPat(特許庁公式サイト)で参照する
関連特許
井関農機株式会社
作業車両
1か月前
井関農機株式会社
苗移植機
16日前
井関農機株式会社
作業車両
24日前
井関農機株式会社
作業車両
24日前
井関農機株式会社
作業車両
16日前
井関農機株式会社
作業車両
16日前
井関農機株式会社
エンジン
16日前
井関農機株式会社
作業車両
16日前
井関農機株式会社
作業車両
16日前
井関農機株式会社
作業車両
9日前
井関農機株式会社
農作業機
8日前
井関農機株式会社
電動芝刈機
10日前
井関農機株式会社
圃場作業機
1日前
井関農機株式会社
野菜収穫機
8日前
井関農機株式会社
屋外作業車
22日前
井関農機株式会社
圃場作業機
29日前
井関農機株式会社
収穫作業車両
2日前
井関農機株式会社
乗用型苗植機
29日前
井関農機株式会社
自動精米洗米炊飯機
29日前
井関農機株式会社
乗用作業車の操縦装置
29日前
井関農機株式会社
エンドエフェクターおよび作業車両
17日前
井関農機株式会社
作業車両
3日前
井関農機株式会社
コンバイン
1日前
井関農機株式会社
営農管理システム
16日前
個人
産卵床
8日前
個人
平板植栽
9日前
個人
釣り用錘
26日前
個人
蜜蜂保護装置
1か月前
個人
噴霧器ノズル
24日前
個人
果実袋
8日前
個人
養殖器具
8日前
個人
移動体草刈り機
8日前
個人
水田排水量調整器具
8日前
株式会社剛樹
釣り竿
22日前
個人
可動リップ付きルアー
29日前
個人
餌付き針の餌取り防止具
1か月前
続きを見る
他の特許を見る