TOP
|
特許
|
意匠
|
商標
特許ウォッチ
Twitter
他の特許を見る
公開番号
2025167258
公報種別
公開特許公報(A)
公開日
2025-11-07
出願番号
2024071703
出願日
2024-04-25
発明の名称
乗用型苗植機
出願人
井関農機株式会社
代理人
弁理士法人新大阪国際特許事務所
主分類
A01C
11/02 20060101AFI20251030BHJP(農業;林業;畜産;狩猟;捕獲;漁業)
要約
【課題】圃場を走行しながら苗を植え付ける乗用型苗植機において、走行車体に3つの積載台を設けた予備苗載部を装備し、該3つの積載台が機体前後方向に同一平面状に連なる展開状態と折り畳んだ積層状態に切り換えるものがある。然しながら、作業性や構成の簡略化に改善の余地がある。そこで、安価で作業性が良い予備苗載部を装備した乗用型苗植機を提供する。
【解決手段】走行車体の後部に苗植付部を装着し、走行車体の前部に苗箱を載置する複数の積載台51U,51Dを積層状態と展開状態に切り換え自在に装備した予備苗載部50Rを設けた乗用型苗植機において、少なくとも1つの積載台51Uを走行車体上に固定して設け、他の積載台51Uをリンク54F,54Rにて移動自在に設ける。
【選択図】図3
特許請求の範囲
【請求項1】
走行車体(2)の後部に苗植付部(30)を装着し、走行車体(2)の前部に苗箱(N)を載置する複数の積載台(51U,51D)を積層状態と展開状態に切り換え自在に装備した予備苗載部(50)を設けた乗用型苗植機において、少なくとも1つの積載台(51U)を走行車体(2)上に固定して設け、他の積載台(51U)をリンク(54F,54R)にて移動自在に設けたことを特徴とする乗用型苗植機。
続きを表示(約 220 文字)
【請求項2】
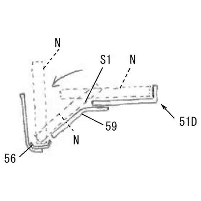
複数の積載台(51U,51D)の側方に空箱載台(56)を設け、複数の積載台(51U,51D)を展開状態に切り換えた時に後方に位置する積載台(51D)の後壁51cを後方へ移動することにより積載台(51D)の空箱載台(56)側に苗箱(N)が通過する空間部S1が形成される構成とし、該空間部S1に積載台(51D)から空箱載台(56)へ苗箱(N)を案内するガイドレール(59)を設けたことを特徴とする請求項1に記載の乗用型苗植機。
発明の詳細な説明
【技術分野】
【0001】
本発明は、予備苗載部を装備した乗用型苗植機に関する。
続きを表示(約 1,200 文字)
【背景技術】
【0002】
従来、圃場を走行しながら苗を植え付ける乗用型苗植機において、走行車体に3つの積載台を設けた予備苗載部を装備し、該3つの積載台が機体前後方向に同一平面状に連なる展開状態と折り畳んだ積層状態に切り換えるものがある(例えば、特許文献1参照)。
【先行技術文献】
【特許文献】
【0003】
特開2007-135506号公報
【発明の概要】
【発明が解決しようとする課題】
【0004】
然しながら、作業性や構成の簡略化に改善の余地がある。
【0005】
本発明は、上記に鑑みてなされたものであって、安価で作業性が良い予備苗載部を装備した乗用型苗植機を提供することを目的とする。
【課題を解決するための手段】
【0006】
請求項1記載の発明は、走行車体2の後部に苗植付部30を装着し、走行車体2の前部に苗箱Nを載置する複数の積載台51U,51Dを積層状態と展開状態に切り換え自在に装備した予備苗載部50を設けた乗用型苗植機において、少なくとも1つの積載台51Uを走行車体2上に固定して設け、他の積載台51Uをリンク54F,54Rにて移動自在に設けた乗用型苗植機である。
【0007】
請求項1記載の発明によれば、少なくとも1つの積載台51Uを走行車体2上に固定して設け、他の積載台51Uをリンク54F,54Rにて移動自在に設けたので、構成が簡略で安価であり作業性も良い。
【0008】
請求項2記載の発明は、複数の積載台51U,51Dの側方に空箱載台56を設け、複数の積載台51U,51Dを展開状態に切り換えた時に後方に位置する積載台51Dの後壁51cを後方へ移動することにより積載台51Dの空箱載台56側に苗箱Nが通過する空間部S1が形成される構成とし、該空間部S1に積載台51Dから空箱載台56へ苗箱Nを案内するガイドレール59を設けた請求項1に記載の乗用型苗植機である。
【0009】
請求項2記載の発明によれば、積載台51Dの空の苗箱Nを空間部S1から空箱載台56へ容易に移動させることができて作業性が良い。
【図面の簡単な説明】
【0010】
本発明の実施形態にかかる乗用型田植機の側面図である。
同乗用型田植機の苗載置台上部の斜視図である。
同乗用型田植機の右予備苗載部の側面図である。
同乗用型田植機の右予備苗載部の側面図である。
同乗用型田植機の右予備苗載部の平面図である。
同乗用型田植機の下積載台と空箱載台の作用説明用の斜視図である。
同乗用型田植機の下積載台と空箱載台の作用説明用の正面図である。
【発明を実施するための形態】
(【0011】以降は省略されています)
この特許をJ-PlatPat(特許庁公式サイト)で参照する
関連特許
井関農機株式会社
田植機
1か月前
井関農機株式会社
作業車両
2か月前
井関農機株式会社
作業車両
1か月前
井関農機株式会社
作業車両
1か月前
井関農機株式会社
作業車両
1か月前
井関農機株式会社
作業車両
1か月前
井関農機株式会社
作業車両
1か月前
井関農機株式会社
作業車両
1か月前
井関農機株式会社
作業車両
1か月前
井関農機株式会社
作業車両
1か月前
井関農機株式会社
作業車両
1か月前
井関農機株式会社
作業車両
1か月前
井関農機株式会社
作業車両
1か月前
井関農機株式会社
農作業機
1日前
井関農機株式会社
農作業機
1か月前
井関農機株式会社
作業車両
1か月前
井関農機株式会社
作業車両
1か月前
井関農機株式会社
作業車両
1か月前
井関農機株式会社
作業車両
1か月前
井関農機株式会社
作業車両
1か月前
井関農機株式会社
作業車両
2か月前
井関農機株式会社
農作業車
2か月前
井関農機株式会社
作業車両
9日前
井関農機株式会社
作業車両
2日前
井関農機株式会社
作業車両
2か月前
井関農機株式会社
作業車両
2か月前
井関農機株式会社
苗移植機
9日前
井関農機株式会社
作業車両
9日前
井関農機株式会社
エンジン
9日前
井関農機株式会社
作業車両
9日前
井関農機株式会社
作業車両
9日前
井関農機株式会社
作業車両
1か月前
井関農機株式会社
作業車両
1か月前
井関農機株式会社
農作業車
2か月前
井関農機株式会社
作業車両
17日前
井関農機株式会社
作業車両
17日前
続きを見る
他の特許を見る