TOP
|
特許
|
意匠
|
商標
特許ウォッチ
Twitter
他の特許を見る
10個以上の画像は省略されています。
公開番号
2025170656
公報種別
公開特許公報(A)
公開日
2025-11-19
出願番号
2024075419
出願日
2024-05-07
発明の名称
エンドエフェクターおよび作業車両
出願人
井関農機株式会社
代理人
弁理士法人新大阪国際特許事務所
主分類
A01D
33/08 20060101AFI20251112BHJP(農業;林業;畜産;狩猟;捕獲;漁業)
要約
【課題】 従来の人参収穫車両のような作業車両については、便利な機能を利用するときの使い勝手が必ずしもよくない。
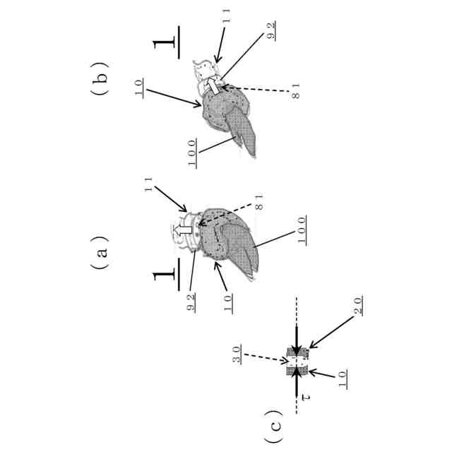
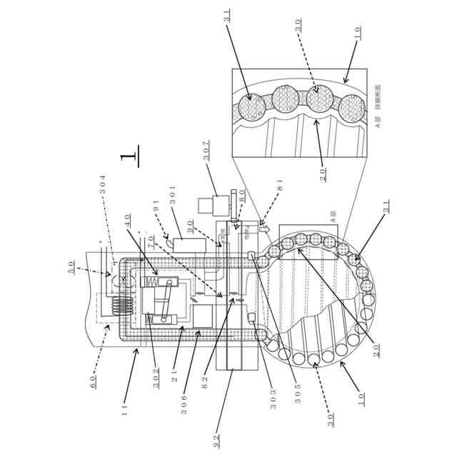
【解決手段】 外側ボール部材10と、外側ボール部材10の内部空間へ配置された内側ボール部材20と、内側ボール部材20の内部空間に対してエア吸引およびエア吐出を行うポンプ装置40と、を備えており、外側ボール部材10は、内部空間とともに筒状に突出する外側ボール突出部11を有し、内側ボール部材20は、内部空間とともに筒状に突出する内側ボール突出部21を有し、内側ボール突出部21は、外側ボール突出部11の内部空間へ配置されており、内側ボール突出部21の内部空間は、外側ボール突出部11を貫通して外部空間と連通されており、把持対象物100が外側ボール部材10の外表面で把持されるとき、ポンプ装置40はエア吸引を行うエンドエフェクター1である。
【選択図】 図2
特許請求の範囲
【請求項1】
外側ボール部材と、
前記外側ボール部材の内部空間へ配置された内側ボール部材と、
前記内側ボール部材の内部空間に対してエア吸引およびエア吐出を行うポンプ装置と、
を備えており、
前記外側ボール部材は、前記内部空間とともに筒状に突出する外側ボール突出部を有し、
前記内側ボール部材は、前記内部空間とともに筒状に突出する内側ボール突出部を有し、
前記内側ボール突出部は、前記外側ボール突出部の前記内部空間へ配置されており、
前記内側ボール突出部の前記内部空間は、前記外側ボール突出部を貫通して外部空間と連通されており、
把持対象物が前記外側ボール部材の外表面で把持されるとき、前記ポンプ装置は前記エア吸引を行うことを特徴とするエンドエフェクター。
続きを表示(約 1,200 文字)
【請求項2】
前記把持された把持対象物が前記外側ボール部材の前記外表面から離脱させられるとき、前記ポンプ装置は前記エア吐出を行うことを特徴とする請求項1に記載のエンドエフェクター。
【請求項3】
前記外側ボール部材および前記内側ボール部材は、略球状であることを特徴とする請求項2に記載のエンドエフェクター。
【請求項4】
第一の分岐エア流路が、エアが前記エア吸引および前記エア吐出により流通させられるエア流路へ接続されており、
前記第一の分岐エア流路へのエア流通切替えが、バタフライ弁部材により行われ、
エア噴出が前記エア吐出により行われる第一のエア噴出孔が、前記第一の分岐エア流路の終端部へ設けられており、
前記エア流通切替えが前記バタフライ弁部材により行われ、前記外側ボール部材の前記外表面は前記第一のエア噴出孔からの前記エア噴出を利用することにより浄化されることを特徴とする請求項3に記載のエンドエフェクター。
【請求項5】
ゲルおよび粒子の内の少なくとも一つを有する隙間スペース材が、前記外側ボール部材の内表面と前記内側ボール部材の前記外表面との間の隙間スペースへ封入されていることを特徴とする請求項4に記載のエンドエフェクター。
【請求項6】
前記封入された隙間スペース材を循環させるサーキュレーター装置をさらに備えていることを特徴とする請求項5に記載のエンドエフェクター。
【請求項7】
前記循環させられる隙間スペース材を加熱することができるヒーター装置をさらに備えていることを特徴とする請求項6に記載のエンドエフェクター。
【請求項8】
前記ヒーター装置は、前記エア吸引および前記エア吐出により前記エア流路を通って前記流通させられるエアも加熱することができることを特徴とする請求項7に記載のエンドエフェクター。
【請求項9】
第二の分岐エア流路が、前記第一の分岐エア流路へ接続されており、
前記第二の分岐エア流路へのエア流通切替えが、ターレット部材により行われ、
エア噴出が前記エア吐出により行われる第二のエア噴出孔が、前記第二の分岐エア流路の終端部へ設けられており、
前記エア流通切替えが前記ターレット部材により行われ、前記循環させられる隙間スペース材は、前記ヒーター装置により加熱されていないとき、前記第二のエア噴出孔からの前記エア噴出を利用することにより冷却されることを特徴とする請求項8に記載のエンドエフェクター。
【請求項10】
螺旋状の外側凸条が、前記外側ボール部材の前記内表面へ形成されており、
螺旋状の内側凸条が、前記内側ボール部材の前記外表面へ形成されていることを特徴とする請求項9に記載のエンドエフェクター。
(【請求項11】以降は省略されています)
発明の詳細な説明
【技術分野】
【0001】
本発明は、人参収穫などのためのエンドエフェクターおよび作業車両に関する。
続きを表示(約 1,500 文字)
【背景技術】
【0002】
フレームの下部に左右の走行装置を設け、フレームの左右一側に圃場から作物を引き抜き機体後方へ搬送する後上がり傾斜姿勢の引抜搬送装置を設け、フレームの左右他側の前部に操縦者が搭乗する操縦座席を備えた操縦部を設け、引抜搬送装置の搬送終端側に作物の茎葉部を切断する茎葉切断装置を設け、茎葉切断装置の下方に、茎葉部を切断された作物を受けて機体後方に搬送すると共にこの作物の残葉を処理する残葉処理装置を設け、残葉処理装置と操縦部との間に、残葉処理装置の後端部から作物を引き継いで操縦部の横側に向けて搬送する機体前後方向姿勢の第1選別搬送コンベアーを設け、第1選別搬送コンベアーの搬送終端部から作物を受けて機体後部へ移送する移送装置を設け、移送装置の移送終端部下方に、第1選別コンベアーの下方及び操縦部の後側を通過して機体左右他側の収容部に向けて作物を搬送する第2選別搬送コンベアーの搬送始端部を配置し、第2選別搬送コンベアーの後側で且つ第1選別搬送コンベアーの搬送始端部の横側の位置に補助作業者が搭乗する補助作業座席を備えた補助作業部を設けた根菜類収穫機が、知られている(たとえば、特許文献1参照)。
【先行技術文献】
【特許文献】
【0003】
特開2010-124757号公報
【発明の概要】
【発明が解決しようとする課題】
【0004】
ところで、本発明者は、ユーザーのさまざまなニーズを考慮し、便利な機能が作業車両へつぎつぎと実装される趨勢はますます加速すると考えている。
【0005】
しかしながら、従来の人参収穫車両のような作業車両については、便利な機能を利用するときの使い勝手が必ずしもよくないことに本発明者は気付いた。
【0006】
より具体的には、エンドエフェクターに把持対象物としての人参を選択的に把持させる機能の向上が望まれることに本発明者は気付いた。
【0007】
本発明は、上述された従来の課題を考慮し、使い勝手を向上することができるエンドエフェクターおよび作業車両を提供することを目的とする。
【課題を解決するための手段】
【0008】
第1の本発明は、外側ボール部材と、
前記外側ボール部材の内部空間へ配置された内側ボール部材と、
前記内側ボール部材の内部空間に対してエア吸引およびエア吐出を行うポンプ装置と、
を備えており、
前記外側ボール部材は、前記内部空間とともに筒状に突出する外側ボール突出部を有し、
前記内側ボール部材は、前記内部空間とともに筒状に突出する内側ボール突出部を有し、
前記内側ボール突出部は、前記外側ボール突出部の前記内部空間へ配置されており、
前記内側ボール突出部の前記内部空間は、前記外側ボール突出部を貫通して外部空間と連通されており、
把持対象物が前記外側ボール部材の外表面で把持されるとき、前記ポンプ装置は前記エア吸引を行うことを特徴とするエンドエフェクターである。
【0009】
第2の本発明は、前記把持された把持対象物が前記外側ボール部材の前記外表面から離脱させられるとき、前記ポンプ装置は前記エア吐出を行うことを特徴とする第1の本発明のエンドエフェクターである。
【0010】
第3の本発明は、前記外側ボール部材および前記内側ボール部材は、略球状であることを特徴とする第2の本発明のエンドエフェクターである。
(【0011】以降は省略されています)
この特許をJ-PlatPat(特許庁公式サイト)で参照する
関連特許
井関農機株式会社
苗移植機
今日
井関農機株式会社
作業車両
今日
井関農機株式会社
エンジン
今日
井関農機株式会社
作業車両
今日
井関農機株式会社
作業車両
今日
井関農機株式会社
作業車両
今日
井関農機株式会社
営農管理システム
今日
個人
草刈り鋏
1か月前
個人
釣り用錘
10日前
個人
蠅捕獲器
1か月前
個人
蜜蜂保護装置
21日前
個人
噴霧器ノズル
8日前
個人
種子の製造方法
27日前
個人
草刈機用回転刃
1か月前
個人
昆虫捕集器
27日前
個人
可動リップ付きルアー
13日前
株式会社剛樹
釣り竿
6日前
井関農機株式会社
作業車両
1か月前
井関農機株式会社
作業車両
1か月前
株式会社ナベル
表示システム
16日前
個人
四足動物用装着具
1か月前
井関農機株式会社
圃場作業機
13日前
個人
ブルーカーボンシステム
13日前
個人
餌付き針の餌取り防止具
16日前
有限会社信英精密
括り罠
今日
大栄工業株式会社
捕獲器
1か月前
井関農機株式会社
苗移植機
今日
株式会社オーツボ
海苔箱船
1か月前
松山株式会社
収穫機
13日前
井関農機株式会社
作業車両
1か月前
松山株式会社
収穫機
13日前
井関農機株式会社
作業車両
1か月前
みのる産業株式会社
除草機
16日前
みのる産業株式会社
除草機
16日前
松山株式会社
草刈作業機
21日前
個人
自閉式「洗濯バサミ型」虫捕獲器
今日
続きを見る
他の特許を見る