TOP
|
特許
|
意匠
|
商標
特許ウォッチ
Twitter
他の特許を見る
10個以上の画像は省略されています。
公開番号
2025178869
公報種別
公開特許公報(A)
公開日
2025-12-09
出願番号
2024085720
出願日
2024-05-27
発明の名称
苗移植機
出願人
井関農機株式会社
代理人
弁理士法人新大阪国際特許事務所
主分類
A01C
15/00 20060101AFI20251202BHJP(農業;林業;畜産;狩猟;捕獲;漁業)
要約
【課題】 従来の田植え機のような苗移植機については、便利な機能を利用するときの使い勝手が必ずしもよくないことに本発明者は気付いた。より具体的には、自動的な肥料散布が必ずしも適切に行われない場合があることに本発明者は気付いた。
【解決手段】 エンジン20の動力を利用して車体10を走行させる走行装置30と、苗植付けを行う苗植付け装置40と、肥料散布を行う肥料散布装置50と、コントローラー60と、を備えており、コントローラー60は、車体10を走行させることなしに、苗植付け装置40にその場で苗植付けを行わせるとき、肥料散布装置50にその場で肥料散布を行わせる田植え機1である。
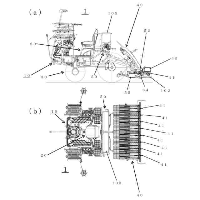
【選択図】 図1
特許請求の範囲
【請求項1】
エンジンの動力を利用して車体を走行させる走行装置と、
苗植付けを行う苗植付け装置と、
肥料散布を行う肥料散布装置と、
コントローラーと、
を備えており、
前記コントローラーは、前記車体を走行させることなしに、前記苗植付け装置にその場で前記苗植付けを行わせるとき、前記肥料散布装置に前記その場で前記肥料散布を行わせることを特徴とする苗移植機。
続きを表示(約 1,800 文字)
【請求項2】
前記コントローラーは、前記肥料散布装置にモーターの動力を利用して前記肥料散布を行わせることを特徴とする請求項1に記載の苗移植機。
【請求項3】
前記苗植付け装置に前記その場で前記苗植付けを行わせる動作を許容するその場苗植付け許容条件が、あらかじめ定められており、
前記その場苗植付け許容条件が満足されない場合において、前記コントローラーは、前記肥料散布装置に前記その場で前記肥料散布を行わせないことを特徴とする請求項2に記載の苗移植機。
【請求項4】
略四角形形状の圃場において、前記圃場の圃場マップを作成するために、手動走行が前記略四角形形状のあらかじめ定められた三つの辺を順番に辿る手動走行経路に沿って行われ、
前記手動走行が行われた後、前記三つの辺の全部または一部および前記略四角形形状の二つの対角線を辿る自動走行経路に沿って、前記コントローラーは前記作成された圃場マップに基づいて自動走行を行わせ、
前記自動走行経路は、前記二つの対角線の各々を一回のみ辿り、
前記自動走行が行われているとき、前記圃場の肥沃度が前記二つの対角線において測定され、
前記コントローラーは、前記測定された肥沃度に基づいて前記肥料散布装置に前記肥料散布を行わせることを特徴とする請求項3に記載の苗移植機。
【請求項5】
前記苗植付け装置は、苗を植付ける苗植付け桿を有し、
苗植付けセンサーが、前記苗植付け桿の近傍の位置で取付けられており、
前記肥料散布装置は、肥料を散布する肥料散布ホースを有し、
肥料シャッター機構が、前記肥料散布ホースの肥料散布ホース出口へ設けられており、
前記肥料が前記植付けられた苗の近傍へ散布されるように、前記コントローラーは前記苗植付けセンサーの検出結果に基づいて前記肥料シャッター機構の開閉を制御することを特徴とする請求項4に記載の苗移植機。
【請求項6】
肥料散布センサーが、前記肥料シャッター機構の下方の位置で作溝器へ取付けられており、
前記肥料が前記植付けられた苗の前記近傍へのみ散布されるように、前記コントローラーは前記肥料散布センサーの検出結果に基づいて前記肥料シャッター機構の前記開閉のタイミングを調節することを特徴とする請求項5に記載の苗移植機。
【請求項7】
エンジンの動力を利用して車体を走行させる走行装置と、
苗植付けを行う苗植付け装置と、
肥料散布を行う肥料散布装置と、
コントローラーと、
を備えており、
略四角形形状の圃場において、前記圃場の圃場マップを作成するために、手動走行が前記略四角形形状の四つの辺を順番に辿る手動走行経路に沿って行われ、
前記手動走行が行われた後、前記四つの辺の全部または一部および前記略四角形形状の一つの対角線を辿る自動走行経路に沿って、前記コントローラーは前記作成された圃場マップに基づいて自動走行を行わせ、
前記自動走行経路は、前記一つの対角線を一回のみ辿り、
前記自動走行が行われているとき、前記圃場の肥沃度が前記一つの対角線において測定され、
前記コントローラーは、前記測定された肥沃度に基づいて前記肥料散布装置に前記肥料散布を行わせることを特徴とする苗移植機。
【請求項8】
エンジンの動力を利用して車体を走行させる走行装置と、
苗植付けを行う苗植付け装置と、
肥料散布を行う肥料散布装置と、
コントローラーと、
を備えており、
略四角形形状の圃場において、前記圃場の圃場マップを作成するために、手動走行が前記略四角形形状のあらかじめ定められた三つの辺を順番に辿る手動走行経路に沿って行われ、
前記手動走行が行われた後、前記三つの辺の全部または一部および前記略四角形形状の二つの対角線を辿る自動走行経路に沿って、前記コントローラーは前記作成された圃場マップに基づいて自動走行を行わせ、
前記自動走行経路は、前記二つの対角線の各々を一回のみ辿り、
前記自動走行が行われているとき、前記圃場の肥沃度が前記二つの対角線において測定され、
前記コントローラーは、前記測定された肥沃度に基づいて前記肥料散布装置に前記肥料散布を行わせることを特徴とする苗移植機。
発明の詳細な説明
【技術分野】
【0001】
本発明は、田植え機のような苗移植機に関する。
続きを表示(約 1,200 文字)
【背景技術】
【0002】
圃場を走行する走行車体に、エンジンと無段変速装置とを備えると共に、走行車体の後部には圃場に苗を植え付ける苗植付装置を備え、更にこの苗植付装置の駆動力を入切する植付クラッチ機構と、走行車体の走行状態を路上形態、中立形態、植付形態に切り替える副変速操作部材とを備え、この副変速操作部材を中立形態位置から操作し、圃場端植えスイッチを入にすると、植付クラッチ機構が接続されると共に無段変速装置からの出力を第一規定値まで増大させ、苗植付装置を駆動させる構成とした苗移植機が、知られている(たとえば、特許文献1および2参照)。
【先行技術文献】
【特許文献】
【0003】
特開2014-155462号公報
特開2015-146791号公報
【発明の概要】
【発明が解決しようとする課題】
【0004】
ところで、本発明者は、ユーザーのさまざまなニーズを考慮し、便利な機能が苗移植機へつぎつぎと実装される趨勢はますます加速すると考えている。
【0005】
しかしながら、従来の田植え機のような苗移植機については、便利な機能を利用するときの使い勝手が必ずしもよくないことに本発明者は気付いた。
【0006】
より具体的には、自動的な肥料散布が必ずしも適切に行われない場合があることに本発明者は気付いた。
【0007】
本発明は、上述された従来の課題を考慮し、使い勝手を向上することができる苗移植機を提供することを目的とする。
【課題を解決するための手段】
【0008】
第1の本発明は、エンジンの動力を利用して車体を走行させる走行装置と、
苗植付けを行う苗植付け装置と、
肥料散布を行う肥料散布装置と、
コントローラーと、
を備えており、
前記コントローラーは、前記車体を走行させることなしに、前記苗植付け装置にその場で前記苗植付けを行わせるとき、前記肥料散布装置に前記その場で前記肥料散布を行わせることを特徴とする苗移植機である。
【0009】
第2の本発明は、前記コントローラーは、前記肥料散布装置にモーターの動力を利用して前記肥料散布を行わせることを特徴とする第1の本発明の苗移植機である。
【0010】
第3の本発明は、前記苗植付け装置に前記その場で前記苗植付けを行わせる動作を許容するその場苗植付け許容条件が、あらかじめ定められており、
前記その場苗植付け許容条件が満足されない場合において、前記コントローラーは、前記肥料散布装置に前記その場で前記肥料散布を行わせないことを特徴とする第2の本発明の苗移植機である。
(【0011】以降は省略されています)
この特許をJ-PlatPat(特許庁公式サイト)で参照する
関連特許
井関農機株式会社
田植機
2か月前
井関農機株式会社
作業車両
1か月前
井関農機株式会社
作業車両
1か月前
井関農機株式会社
作業車両
1か月前
井関農機株式会社
作業車両
1か月前
井関農機株式会社
作業車両
1か月前
井関農機株式会社
作業車両
1か月前
井関農機株式会社
作業車両
1か月前
井関農機株式会社
作業車両
2か月前
井関農機株式会社
苗移植機
今日
井関農機株式会社
作業車両
2か月前
井関農機株式会社
作業車両
1か月前
井関農機株式会社
農作業車
2か月前
井関農機株式会社
田植え機
2か月前
井関農機株式会社
作業車両
2か月前
井関農機株式会社
作業車両
2か月前
井関農機株式会社
作業車両
2か月前
井関農機株式会社
作業車両
2か月前
井関農機株式会社
作業車両
2か月前
井関農機株式会社
作業車両
2か月前
井関農機株式会社
作業車両
2か月前
井関農機株式会社
作業車両
2か月前
井関農機株式会社
農作業機
2か月前
井関農機株式会社
作業車両
2か月前
井関農機株式会社
作業車両
1か月前
井関農機株式会社
作業車両
今日
井関農機株式会社
作業車両
1か月前
井関農機株式会社
農作業機
11日前
井関農機株式会社
作業車両
19日前
井関農機株式会社
作業車両
12日前
井関農機株式会社
エンジン
19日前
井関農機株式会社
作業車両
19日前
井関農機株式会社
作業車両
19日前
井関農機株式会社
作業車両
19日前
井関農機株式会社
農作業車
2か月前
井関農機株式会社
作業車両
27日前
続きを見る
他の特許を見る