TOP
|
特許
|
意匠
|
商標
特許ウォッチ
Twitter
他の特許を見る
公開番号
2025177446
公報種別
公開特許公報(A)
公開日
2025-12-05
出願番号
2024084296
出願日
2024-05-23
発明の名称
コンクリート柱の破砕装置
出願人
日本リーテック株式会社
,
三和テッキ株式会社
代理人
個人
主分類
B02C
1/00 20060101AFI20251128BHJP(破砕,または粉砕;製粉のための穀粒の前処理)
要約
【課題】比較的軽量の部品に分解できて取り扱いが容易であり、直径の異なる多種のコンクリート柱に適用できる破砕装置を提供する。
【解決手段】破砕装置1は、4つの油圧破砕機2と、隣接する油圧破砕機2同士を接続する4つの連結金具組立体3とを具備する。油圧破砕機2は、油圧シリンダ4と、ピストンロッド5の先端に固定された破砕刃6と、ロッドカバー部41に支持されたフレーム組立体7とを具備する。フレーム組立体7のフレーム本体8は、先端側の左右対称位置に一対のピン受け孔81a,82aを具備し、これに一対のボールロックピン9が垂直に抜き差し自在に貫通する。連結金具組立体3は、両端側に、ボールロックピン9を挿通できる一対のピン挿通孔31a,32aを有し、一端側において一方のボールロックピン9により一の油圧破砕機2に連結され、他端側において他方のボールロックピン9により隣接する他の油圧破砕機2に連結される。
【選択図】図1
特許請求の範囲
【請求項1】
破砕対象である起立したコンクリート柱の外周に配置される複数の同一構成の油圧破砕機と、隣接する当該油圧破砕機同士を接続して当該コンクリート柱を包囲する複数の連結金具組立体とを具備し、当該コンクリート柱を前記複数の油圧破砕機により外周から同時に破砕するコンクリート柱の破砕装置であって、
前記油圧破砕機は、前記コンクリート柱の中心に水平に軸心を向けて配置される油圧シリンダと、当該油圧シリンダ内のピストンロッドの先端に固定された破砕刃と、当該油圧シリンダのロッドカバー部に支持されたフレーム組立体とを具備し、
前記フレーム組立体は、基端側において前記ロッドカバー部に固着され先端側に向かって前記油圧シリンダの軸心に対して左右対称に水平に拡大し同じく左右対称位置に互いに離れて一対のピン受け孔を具備するフレーム本体と、当該ピン受け孔を垂直に抜き差し自在に貫通する一対のボールロックピンとを具備し、
前記連結金具組立体は、両端側に前記一対のピン受け孔に対応して前記ボールロックピンを挿通可能な一対のピン挿通孔を有し、一端側において一方の前記ボールロックピンにより一の前記油圧破砕機に連結され、他端側において他方の前記ボールロックピンにより隣接する他の前記油圧破砕機に連結されることを特徴とするコンクリート柱の破砕装置。
続きを表示(約 970 文字)
【請求項2】
前記油圧破砕機は、破砕対象である起立したコンクリート柱の外周90°ごとの四方に配置されることを特徴とする請求項1に記載のコンクリート柱の破砕装置。
【請求項3】
前記フレーム本体は、基端側において前記ロッドカバー部に上下に相互間隔をおいて水平に固着される同形一対の上部支持板と下部支持板とを具備し、
前記上部支持板と下部支持板は、先端側にそれぞれ前記ピン受け孔を有し、当該上部支持板と下部支持板の間を前記ピストンロッドが進退可能に設けられることを特徴とする請求項1又は2に記載のコンクリート柱の破砕装置。
【請求項4】
前記連結金具組立体の一対のピン挿通孔は、一の前記油圧破砕機の前記一対のピン受け孔に合致するように設けられ、それにより他の前記油圧破砕機と連結しないとき、前記一対のボールロックピンにより当該一の前記油圧破砕機に収納、固定可能に設けられることを特徴とする請求項1又は2に記載のコンクリート柱の破砕装置。
【請求項5】
前記連結金具組立体は、前記一対のピン挿通孔に対して前記コンクリート柱の周方向にそれぞれ間隔を置いて形成された他の一対のピン挿通孔をさらに有し、当該他の一対のピン挿通孔を選択して前記ボールロックピンを挿通することにより、直径の異なる前記破砕対象コンクリート柱に適用可能に設けられることを特徴とする請求項3に記載のコンクリート柱の破砕装置。
【請求項6】
前記連結金具組立体は、垂直の連結ピンにより互いに平行に結合された同形の上部連結板と下部連結板とからなり、両端部において前記上部支持板と下部支持板との間に前記ボールロックピンで連結可能に設けられることを特徴とする請求項3に記載のコンクリート柱の破砕装置。
【請求項7】
前記上部連結板と下部連結板は、前記破砕対象コンクリート柱の外周に沿う円弧状に形成されることを特徴とする請求項6に記載のコンクリート柱の破砕装置。
【請求項8】
前記破砕刃の刃先は、垂直方向の厚さに対し水平方向の幅が大きい扁平状で、かつコンクリート柱の外周と点で接するように、反対向きの円弧状に形成されることを特徴とする請求項1又は2に記載のコンクリート柱の破砕装置。
発明の詳細な説明
【技術分野】
【0001】
本発明は、鉄道用架線を引き留めるために設置されているコンクリート柱や打設されているコンクリートパイルのような、中空円柱状の鉄筋コンクリート柱を破砕するための装置に関する。
続きを表示(約 2,300 文字)
【背景技術】
【0002】
従来、中空円柱状の鉄筋コンクリート柱を破砕するための装置として、特許文献1に記載されたポールクラッシャーが知られている。この装置は、コンクリートポールを囲む円環状の固定環に油圧シリンダを固定し、それのピストンロッドにタガネを固定してなる。固定環は、一対の半円環を一端側において開閉自在に枢着し、他端側において結合分離可能に接続してなる。
また、特許文献2には、コンクリートパイルの破砕装置が記載されている。この装置は、コンクリートバイルを囲む支持フレームに、4つの油圧シリンダを対向して固定し、各シリンダのラムの先端に、ほぼ矩形の水平板状の破砕刃を取り付けた構造のものである。
【先行技術文献】
【特許文献】
【0003】
実開平06-031841号公報
実開昭54-090925号公報
【発明の概要】
【発明が解決しようとする課題】
【0004】
上記従来のいずれの破砕装置も、円環状の一体の支持フレームまたは固定環に油圧シリンダを固定したものであるため、質量が重く、工具の設置や使用において2人以上の作業員が必要である。また、支持フレームまたは固定環の内径が固定されるため、直径の異なる多種のコンクリート柱に適用することができないという問題点がある。
従って、本発明は、比較的軽量の部品に分解できて取り扱いが容易であり、直径の異なる多種のコンクリート柱に適用できるコンクリート柱の破砕装置を提供することを課題とする。
【課題を解決するための手段】
【0005】
以下の説明において添付図面の符号を参照するが、本発明はこれに限定されるものではない。
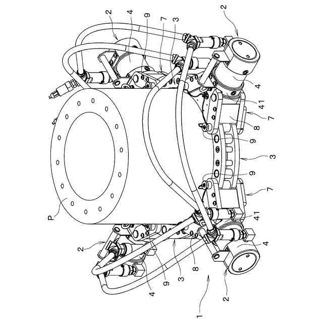
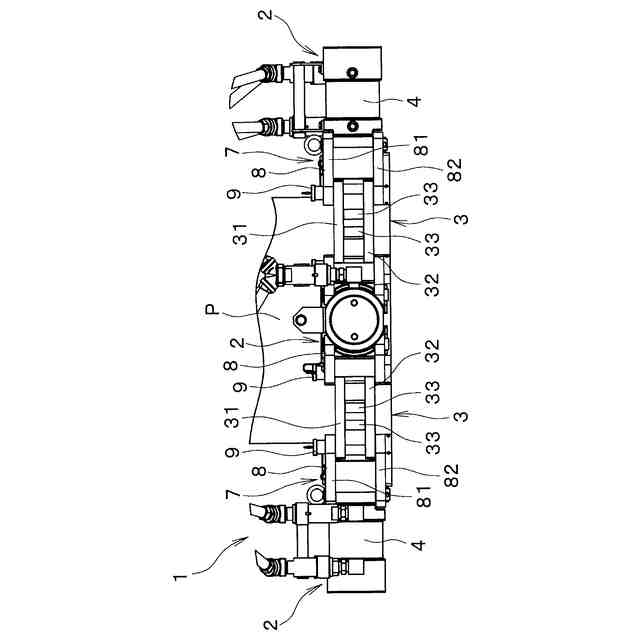
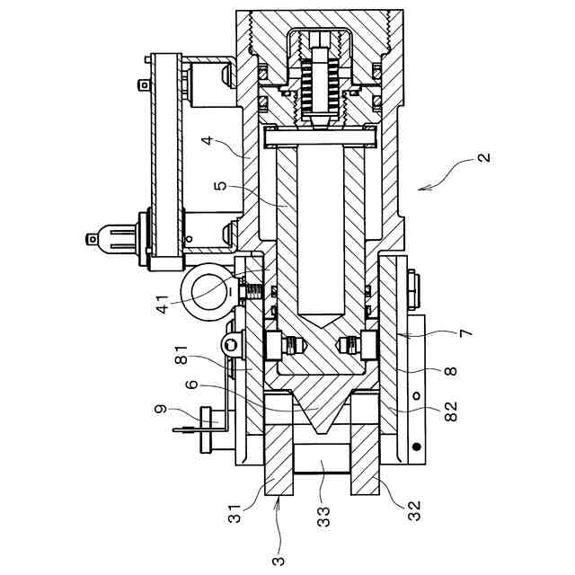
上記課題を解決するための、本発明のコンクリート柱の破砕装置1は、破砕対象である起立したコンクリート柱Pの外周に配置される複数の同一構成の油圧破砕機2と、隣接する当該油圧破砕機2同士を接続して当該コンクリート柱Pを包囲する複数の連結金具組立体3を具備し、コンクリート柱Pを複数の油圧破砕機2により外周から同時に破砕する装置である。油圧破砕機2は、コンクリート柱Pの中心に水平に軸心を向けて配置される油圧シリンダ4と、この油圧シリンダ4内のピストンロッド5の先端に固定された破砕刃6と、当該油圧シリンダ4のロッドカバー部41に支持されたフレーム組立体7とを具備する。フレーム組立体7は、フレーム本体8と一対のボールロックピン9とを具備する。フレーム本体8は、基端側においてロッドカバー部41に固着され、先端側に向かって油圧シリンダ4の軸心に対して左右対称に水平に拡大し、同じく左右対称位置に互いに離れて一対のピン受け孔81a,82aを具備する。一対のボールロックピン9は、ピン受け孔81a,82aを垂直に抜き差し自在に貫通する。連結金具組立体3は、両端側に、ボールロックピン9を挿通できる一対のピン挿通孔31a,32aを有し、一端側において一方のボールロックピン9により一の油圧破砕機2に連結され、他端側において他方のボールロックピン9により隣接する他の前記油圧破砕機2に連結される。
【発明の効果】
【0006】
本発明の破砕装置は、基本的に複数の部材に分割して搬送し、破砕対象であるコンクリート柱の周りに組み立てできるので、軽量で取り扱いが容易である。
【図面の簡単な説明】
【0007】
本発明に係るコンクリート柱の破砕装置における使用状態の斜視図である。
図1の破砕装置の使用状態の平面図である。
図1の破砕装置の使用状態の側面図である。
図1の破砕装置を構成する油圧破砕機と連結金具組立体の斜視図である。
図4の油圧破砕機と連結金具組立体の平面図である。
図5のVI-VI断面図である。
使用状態における図4の油圧破砕機の一部を切欠した平面図である。
油圧破砕機と連結金具の分解斜視図である。
【発明を実施するための形態】
【0008】
図面を参照して本発明の実施の形態を説明する。
図1~3に示すように、コンクリート柱Pの破砕装置1は、破砕対象である起立したコンクリート柱Pの外周90°ごとの四方に配置される4つの同一構成の油圧破砕機2と、隣接する油圧破砕機2同士を接続してコンクリート柱Pを包囲する4つの連結金具組立体3とを具備し、コンクリート柱Pを4つの油圧破砕機2により四方から同時に破砕する装置である。
【0009】
図4~8によく示すように、油圧破砕機2は、コンクリート柱Pの中心に水平に軸心を向けて配置される油圧シリンダ4と、この油圧シリンダ4内のピストンロッド5の先端に固定された破砕刃6と、油圧シリンダ4のロッドカバー部41に支持されたフレーム組立体7とを具備する。破砕装置1を構成する4つの油圧破砕機2は、同一の油圧ポンプに接続され、同時に稼働するように設けられる。
【0010】
図8によく示すように、破砕刃6の刃先は、垂直方向の厚さに対し水平方向の幅が大きい扁平状で、かつコンクリート柱Pの外周と点で接するように、反対向きの円弧状に形成される。刃先が幅広の扁平状であるからコンクリートを比較的広く破壊することができるが、円弧状であるから、刃6の打ち込みの反力によりピストンにかかる曲げモーメントが低減される。
(【0011】以降は省略されています)
この特許をJ-PlatPat(特許庁公式サイト)で参照する
関連特許
個人
回転衝撃式ローラ粉砕機
1か月前
株式会社アイシン
粉砕機
7日前
株式会社サタケ
醸造用精米機
1か月前
セイコーエプソン株式会社
微細化装置
7日前
セイコーエプソン株式会社
微細化装置
7日前
株式会社フロム工業
ディスポーザ
26日前
井関農機株式会社
自動精米洗米炊飯機
1か月前
油圧機工業有限会社
破砕機用の刃物、この刃物を利用する破砕機
20日前
個人
気泡緩衝材減容装置
1か月前
個人
気泡緩衝材減容装置
1か月前
個人
粉砕乾燥用蒸気ジェット噴射装置
1か月前
井関農機株式会社
籾摺選別機
1か月前
井関農機株式会社
籾摺選別機
1か月前
日本リーテック株式会社
コンクリート柱の破砕装置
5日前
株式会社日清製粉グループ本社
水分量予測装置、加水流量予測装置、水分量予測方法及び加水流量予測方法
12日前
寧波厨聚厨房科技有限公司
挽き装置
1か月前
株式会社スリーエスビューティーグループ
ネットワーク型人材評価システム
20日前
サミー株式会社
遊技機
1か月前
ケース ウエスタン リザーブ ユニバーシティ
ナノバブル標的療法
14日前
他の特許を見る