TOP
|
特許
|
意匠
|
商標
特許ウォッチ
Twitter
他の特許を見る
10個以上の画像は省略されています。
公開番号
2025166342
公報種別
公開特許公報(A)
公開日
2025-11-06
出願番号
2024070284
出願日
2024-04-24
発明の名称
表示装置及び農作業機
出願人
松山株式会社
代理人
個人
,
個人
主分類
A01B
73/02 20060101AFI20251029BHJP(農業;林業;畜産;狩猟;捕獲;漁業)
要約
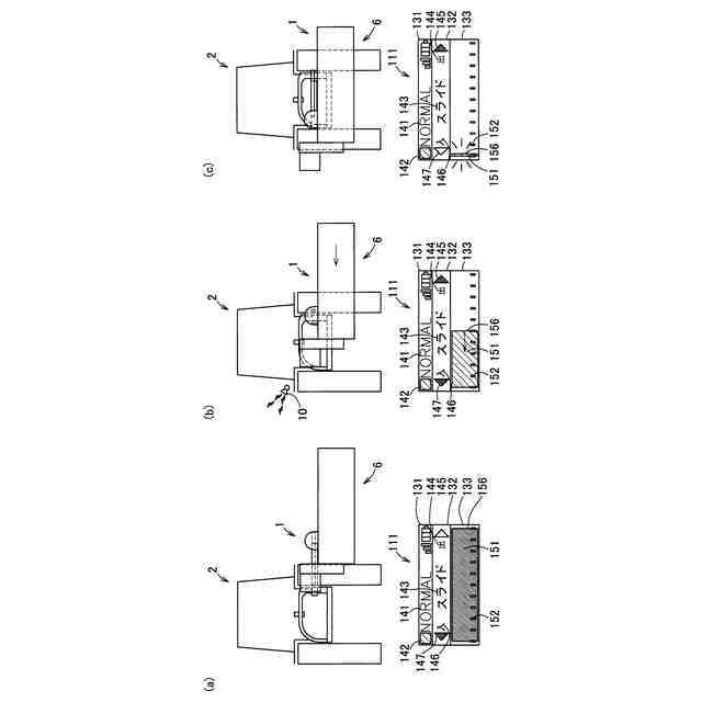
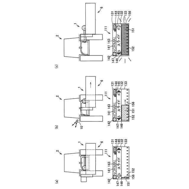
【課題】作業部の位置を容易に確認できるリモコン操作装置を提供する。
【解決手段】リモコン操作装置は、位置変更可能な作業部を備える草刈作業機に用いるものである。そして、リモコン操作装置は、作業部の位置を確認するための確認表示140,170を表示する表示部111を備える。確認表示140,170は、作業部6の位置変更に応じて形状が変化しかつ作業部が所定位置に到達した場合に色が変化する図形151,181を有する。
【選択図】図7
特許請求の範囲
【請求項1】
位置変更可能な作業部を備える農作業機に用いられる表示装置であって、
前記作業部の位置を確認するための確認表示を表示する表示部を備え、
前記確認表示は、前記作業部の位置変更に応じて形状が変化する図形を有する
ことを特徴とする表示装置。
続きを表示(約 1,200 文字)
【請求項2】
位置変更可能な作業部を備える農作業機に用いられる表示装置であって、
前記作業部の位置を確認するための確認表示を表示する表示部を備え、
前記確認表示は、前記作業部の位置変更に応じて形状が変化しかつ前記作業部が所定位置に到達した場合に色が変化する図形を有する
ことを特徴とする表示装置。
【請求項3】
確認表示の図形は、作業部が所定位置に位置する場合と前記所定位置以外に位置する場合とで、互いに表示態様が異なる
ことを特徴とする請求項1又は2記載の表示装置。
【請求項4】
確認表示の図形は、
作業部が所定位置に到達するまでは、一の表示態様で表示され、
前記作業部が前記所定位置に到達した場合には、前記一の表示態様とは異なる他の表示態様で表示される
ことを特徴とする請求項1又は2記載の表示装置。
【請求項5】
確認表示の図形は、
作業部が所定位置に到達するまでは、一の色で点灯表示され、
前記作業部が前記所定位置に到達した場合には、前記一の色とは異なる他の色で点滅表示される
ことを特徴とする請求項1又は2記載の表示装置。
【請求項6】
確認表示の図形は、左右方向に移動可能な作業部の移動に応じて移動する移動辺を有する
ことを特徴とする請求項1又は2記載の表示装置。
【請求項7】
確認表示の図形は、上下方向に回動可能な作業部の回動に応じて回動する回動辺を有する
ことを特徴とする請求項1又は2記載の表示装置。
【請求項8】
確認表示は、
作業部が水平位置に位置する水平姿勢である場合に、回動辺と一致する水平姿勢用目印線と、
前記作業部が最大の上向き傾斜位置に位置する最大上向き傾斜姿勢である場合に、前記回動辺と一致する最大上向き傾斜姿勢用目印線と、
前記作業部が最大の下向き傾斜位置に位置する最大下向き傾斜姿勢である場合に、前記回動辺と一致する最大下向き傾斜姿勢用目印線とを有する
ことを特徴とする請求項7記載の表示装置。
【請求項9】
確認表示の回動辺は、水平姿勢用目印線、最大上向き傾斜姿勢用目印線及び最大下向き傾斜姿勢用目印線からなる3本の線の交点を中心として回動しながらその長さが変化する
ことを特徴とする請求項8記載の表示装置。
【請求項10】
表示部は、
作業部を左右方向の移動により位置変更させる場合には、前記作業部の左右方向位置を確認するための確認表示を表示し、
前記作業部を上下方向の回動により位置変更させる場合には、前記作業部の上下方向位置を確認するための確認表示を表示する
ことを特徴とする請求項1又は2記載の表示装置。
(【請求項11】以降は省略されています)
発明の詳細な説明
【技術分野】
【0001】
本発明は、表示装置及び農作業機に関するものである。
続きを表示(約 970 文字)
【背景技術】
【0002】
従来、例えば下記の特許文献1に記載された農作業機が知られている。
【0003】
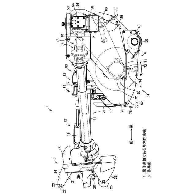
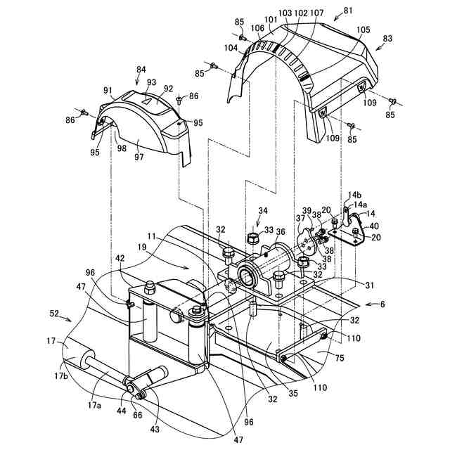
この従来の農作業機は、例えばトラクタ等の走行車の後部に連結されて使用される草刈作業機であって、走行車の走行により前方に移動しながら所定の作業である草刈作業をする位置変更可能な作業部を備えている。
【先行技術文献】
【特許文献】
【0004】
特開2010-268685号公報
【発明の概要】
【発明が解決しようとする課題】
【0005】
しかし、上記従来の農作業機では、例えば走行車に乗った作業者が作業部の位置を確認する場合、作業者は作業部を直接目視して確認する必要があるため、その確認に困難を伴うおそれがある。
【0006】
そこで、本発明の実施形態の課題の一つは、作業部の位置を容易に確認できる表示装置及び農作業機を提供することにある。
【課題を解決するための手段】
【0007】
本発明の実施形態に係る表示装置は、位置変更可能な作業部を備える農作業機に用いられる表示装置であって、前記作業部の位置を確認するための確認表示を表示する表示部を備え、前記確認表示は、前記作業部の位置変更に応じて形状が変化する図形を有するものである。
【0008】
また、本発明の実施形態に係る表示装置は、位置変更可能な作業部を備える農作業機に用いられる表示装置であって、前記作業部の位置を確認するための確認表示を表示する表示部を備え、前記確認表示は、前記作業部の位置変更に応じて形状が変化しかつ前記作業部が所定位置に到達した場合に色が変化する図形を有するものである。
【0009】
さらに、本発明の実施形態に係る農作業機は、走行車に連結されて使用される農作業機であって、位置変更可能な作業部と、前記作業部の位置を確認するための確認表示を表示する表示部を備える前記表示装置とを具備するものである。
【発明の効果】
【0010】
本発明の実施形態によれば、作業部の位置を容易に確認できる。
【図面の簡単な説明】
(【0011】以降は省略されています)
この特許をJ-PlatPat(特許庁公式サイト)で参照する
関連特許
松山株式会社
収穫機
22日前
松山株式会社
収穫機
22日前
松山株式会社
農作業機
1か月前
松山株式会社
農作業機
2か月前
松山株式会社
農作業機
2か月前
松山株式会社
草刈作業機
1か月前
松山株式会社
表示装置及び農作業機
23日前
松山株式会社
農作業機用制御システム
2か月前
松山株式会社
作業爪及びその製造方法
22日前
松山株式会社
畦上面ローラ、畦形成手段及び畦塗り機
1か月前
個人
産卵床
1日前
個人
草刈り鋏
1か月前
個人
平板植栽
2日前
個人
蠅捕獲器
1か月前
個人
釣り用錘
19日前
個人
噴霧器ノズル
17日前
個人
蜜蜂保護装置
1か月前
個人
果実袋
1日前
個人
草刈機用回転刃
1か月前
個人
種子の製造方法
1か月前
個人
移動体草刈り機
1日前
個人
養殖器具
1日前
個人
昆虫捕集器
1か月前
個人
水田排水量調整器具
1日前
井関農機株式会社
作業車両
1か月前
個人
可動リップ付きルアー
22日前
井関農機株式会社
作業車両
1か月前
株式会社剛樹
釣り竿
15日前
個人
餌付き針の餌取り防止具
25日前
株式会社ナベル
表示システム
25日前
個人
ブルーカーボンシステム
22日前
井関農機株式会社
圃場作業機
22日前
個人
四足動物用装着具
1か月前
有限会社信英精密
括り罠
9日前
積水樹脂株式会社
シート止め具
1日前
大栄工業株式会社
捕獲器
1か月前
続きを見る
他の特許を見る