TOP
|
特許
|
意匠
|
商標
特許ウォッチ
Twitter
他の特許を見る
公開番号
2025164366
公報種別
公開特許公報(A)
公開日
2025-10-30
出願番号
2024068297
出願日
2024-04-19
発明の名称
炭酸ガス供給装置
出願人
フルタ電機株式会社
代理人
個人
,
個人
,
個人
主分類
A01G
9/18 20060101AFI20251023BHJP(農業;林業;畜産;狩猟;捕獲;漁業)
要約
【課題】採光性の植物育成施設に対し、炭酸ガスを比較的均一に含んだ空気を供給でき、より低コストで設け得る炭酸ガス供給装置を提供する。
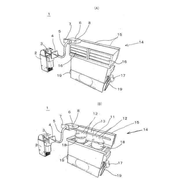
【解決手段】ビニールハウス等を内外に貫通して配置され、外気およびビニールハウスの内側空間に連通する混合室13と、混合室13の炭酸ガス含有空気を吸引するファン18と、バーナー17と、該バーナー17の下流側に配置され、ビニールハウスの内側空間に開口する放出口19と、を含む暖房機14と、炭酸ガスを発生させる炭酸ガス発生装置2と、炭酸ガス発生装置2の排気口3に一端が取り付けられる吸引ホース5と、暖房機14側に取り付けられ、吸引ホース5の他端と開閉弁7を介して連通するブロワーと、ブロワーに連通し、暖房機14の混合室13の内部に配管され、炭酸ガスを噴射する複数の孔12を設けたパイプ11と、を備える炭酸ガス取り込み機構と、を備える、炭酸ガス供給装置1。
【選択図】図2
特許請求の範囲
【請求項1】
採光性の植物育成施設に用いる炭酸ガス供給装置であって、
前記植物育成施設の側壁を内外に貫通して配置され、且つ外気および前記植物育成施設の内側空間に連通する混合室と、前記混合室の炭酸ガス含有空気を吸引するファンと、加熱手段と、前記ファンおよび前記加熱手段の下流側に配置され、且つ前記植物育成施設の内側空間に開口する放出口と、を含む暖房機と、
炭酸ガスを発生させる炭酸ガス発生装置と、
前記炭酸ガス発生装置の排気口に一端が取り付けられる吸引ホースと、前記暖房機側に取り付けられ、且つ前記吸引ホースの他端と開閉弁を介して連通するブロワーと、前記ブロワーに連通し、前記暖房機の前記混合室の内部に配管され、炭酸ガスを噴射する複数の孔が設けられたパイプと、を備える炭酸ガス取り込み機構と、を備えてなる、ことを特徴とする炭酸ガス供給装置。
続きを表示(約 790 文字)
【請求項2】
前記炭酸ガス取り込み機構において、前記炭酸ガス発生装置の前記排気口は、ホッパーを介して前記吸引ホースの一端に連通している、請求項1に記載の炭酸ガス供給装置。
【請求項3】
前記暖房機の前記混合室は、平面視で前記植物育成施設の側壁に沿った細長い長方形を呈すると共に、前記炭酸ガス取り込み機構の前記パイプは、前記長方形の長辺方向に沿って配管されている、請求項1または2に記載の炭酸ガス供給装置。
【請求項4】
前記暖房機の前記放出口は、複数個が互いに異なる位置または向きに併設され、且つ前記放出口ごとに前記植物育成施設の内側に延びた排気ダクトが個別に接続されている、請求項1に記載の炭酸ガス供給装置。
【請求項5】
前記採光性の植物育成施設の内側空間は複数の空間領域に分割され、前記空間領域ごとに炭酸ガスの濃度を検出するセンサと、前記炭酸ガス供給装置とが個別に配設されていると共に、前記センサが検出する前記炭酸ガスの濃度差に応じて、当該空間領域に配設された前記炭酸ガス供給装置における前記炭酸ガス取り込み機構の前記ブロワーおよび前記暖房機の前記ファンの少なくとも一方の出力が調整可能とされている、請求項1に記載の炭酸ガス供給装置。
【請求項6】
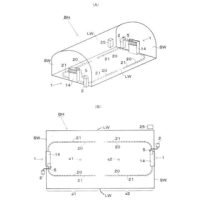
前記採光性の植物育成施設は、全体が蒲鉾形のビニールハウス、または、全体の外形が切妻形の屋根を含む温室であり、これらの長手方向における一方または双方の端壁付近または妻壁付近に、あるいは、これらの長手方向における双方の端壁付近または妻壁付近に加え、前記長手方向の中央付近における側壁付近に、前記炭酸ガス発生装置、前記暖房機、および、前記炭酸ガス取り込み機構からなる一組の炭酸ガス供給装置が配設されている、請求項1または5に記載の炭酸ガス供給装置。
発明の詳細な説明
【技術分野】
【0001】
本発明は、採光性の植物育成施設に用いる炭酸ガス供給装置に関する。
続きを表示(約 1,500 文字)
【背景技術】
【0002】
各種の果物や野菜などが太陽光、炭酸ガス、および、水分などを受けて行う光合成によって、栽培され育成されている。そのため、ビニールハウスや温室などの採光性の植物育成施設では、外気と共に炭酸ガスを植物育成施設内に取り込む方式が用いられ、そのための装置が付設されている。
【0003】
例えば、外気と、炭酸ガスを添加した温室内からの環流空気とを、本体部の空気混合部において混合した後、得られた炭酸ガスを含有した混合空気を、メインダクトおよび該メインダクトから分岐した複数のサブダクトに送給し、前記サブダクトごとに設けた複数の吐出口から温室内に前記混合空気を供給するようにした温室用空気供給装置および温室用空気供給方法が提案されている(特許文献1参照)。
【先行技術文献】
【特許文献】
【0004】
特開2014-42483号公報
【発明の概要】
【発明が解決しようとする課題】
【0005】
しかしながら、特許文献1のように、外気と、炭酸ガスを添加した温室内からの環流空気とを、単に空気混合部で混合し、得られた炭酸ガスを含有した混合空気を、メインダクトおよび複数のサブダクトを介して、温室内に拡散させる場合、各経路ごとにおける混合空気中の炭酸ガスの濃度差が過大になるおそれがある。しかも、本体部の空気混合部に対し、外気取込部、炭酸ガス取込部を接続した温室内空気取込部、および、混合空気供給部を個別に接続すると共に、併せて炭酸ガス発生手段や空気の加熱手段などの複数の設備を併設するために、設計コストや設備コストが過大になり易い、という問題があった。
【0006】
本発明は、背景技術で説明した問題点を解決し、採光性の植物育成施設に対して、炭酸ガスを比較的均一に含んだ空気を供給すると共に、より低コストおよびより短期間で設置し得る炭酸ガス供給装置を提供する、ことを課題とする。
【課題を解決するための手段】
【0007】
本発明の炭酸ガス供給装置は、
採光性の植物育成施設に用いる炭酸ガス供給装置であって、
前記植物育成施設の側壁を内外に貫通して配置され、且つ外気および前記植物育成施設の内側空間に連通する混合室と、前記混合室の炭酸ガス含有空気を吸引するファンと、加熱手段と、前記ファンおよび前記加熱手段の下流側に配置され、且つ前記植物育成施設の内側空間に開口する放出口と、を含む暖房機と、
炭酸ガスを発生させる炭酸ガス発生装置と、
前記炭酸ガス発生装置の排気口に一端が取り付けられる吸引ホースと、前記暖房機側に取り付けられ、且つ前記吸引ホースの他端と開閉弁を介して連通するブロワーと、前記ブロワーに連通し、前記暖房機の前記混合室の内部に配管され、炭酸ガスを噴射する複数の孔が設けられたパイプと、を備える炭酸ガス取り込み機構と、を備えてなる、ことを特徴とする。
【0008】
前記炭酸ガス取り込み機構において、前記炭酸ガス発生装置の前記排気口は、ホッパーを介して前記吸引ホースの一端に連通していても良い。
【0009】
前記暖房機の前記混合室は、平面視で前記植物育成施設の側壁に沿った細長い長方形を呈すると共に、前記炭酸ガス取り込み機構の前記パイプは、前記長方形の長辺方向に沿って配管されていても良い。
【0010】
前記暖房機の前記放出口は、複数個が互いに異なる位置または向きに併設され、且つ前記放出口ごとに前記植物育成施設の内側に延びた排気ダクトが個別に接続されていても良い。
(【0011】以降は省略されています)
この特許をJ-PlatPat(特許庁公式サイト)で参照する
関連特許
フルタ電機株式会社
炭酸ガス供給装置
1か月前
フルタ電機株式会社
乾燥装置、及び乾燥装置における熱源ユニットの交換方法
13日前
個人
産卵床
5日前
個人
蠅捕獲器
1か月前
個人
平板植栽
6日前
個人
釣り用錘
23日前
個人
草刈り鋏
1か月前
個人
蜜蜂保護装置
1か月前
個人
果実袋
5日前
個人
噴霧器ノズル
21日前
個人
移動体草刈り機
5日前
個人
種子の製造方法
1か月前
個人
草刈機用回転刃
1か月前
個人
養殖器具
5日前
個人
昆虫捕集器
1か月前
個人
水田排水量調整器具
5日前
株式会社剛樹
釣り竿
19日前
個人
可動リップ付きルアー
26日前
井関農機株式会社
作業車両
1か月前
井関農機株式会社
圃場作業機
26日前
個人
四足動物用装着具
1か月前
株式会社ナベル
表示システム
29日前
個人
餌付き針の餌取り防止具
29日前
個人
ブルーカーボンシステム
26日前
積水樹脂株式会社
シート止め具
5日前
有限会社信英精密
括り罠
13日前
大栄工業株式会社
捕獲器
1か月前
井関農機株式会社
苗移植機
13日前
松山株式会社
収穫機
26日前
みのる産業株式会社
除草機
29日前
松山株式会社
収穫機
26日前
井関農機株式会社
作業車両
1か月前
個人
網口高さのベクトル底引き網
5日前
井関農機株式会社
作業車両
1か月前
個人
粘着板で挟むネズミ捕り装置
5日前
みのる産業株式会社
除草機
29日前
続きを見る
他の特許を見る