TOP
|
特許
|
意匠
|
商標
特許ウォッチ
Twitter
他の特許を見る
10個以上の画像は省略されています。
公開番号
2025165330
公報種別
公開特許公報(A)
公開日
2025-11-04
出願番号
2024069382
出願日
2024-04-22
発明の名称
作業台
出願人
アロン化成株式会社
代理人
個人
,
個人
,
個人
主分類
A01K
13/00 20060101AFI20251027BHJP(農業;林業;畜産;狩猟;捕獲;漁業)
要約
【課題】様々なサイズの浴槽の内部で使用でき、作業板部と浴槽との隙間から対象物が落ちてしまうことを抑制し得る作業台を提案する。
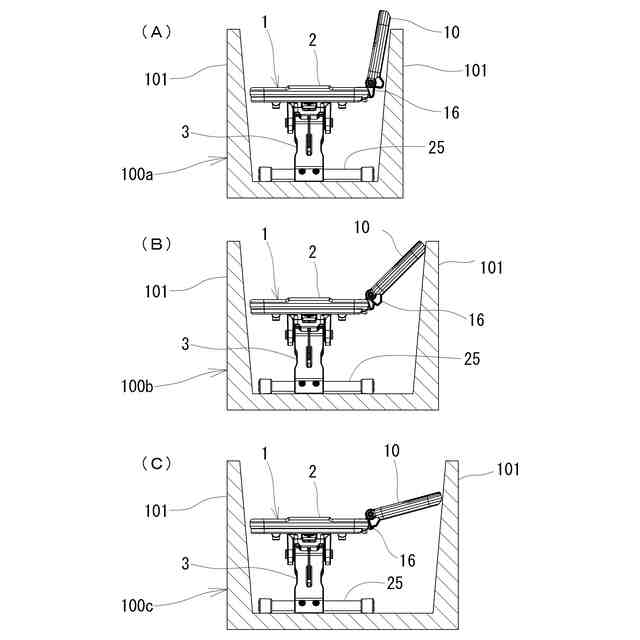
【解決手段】ペット等の対象物を載せる作業面を有する作業板部2と、作業板部2にヒンジ16を介して回転可能に連結された展開板部10とを備え、展開板部10が作業板部2に対して展開できる構成である。かかる構成は、浴槽100a~100cの内部に配置され、展開板部10を展開することにより、該浴槽100a~100cの側壁部101との間に生ずる隙間を塞ぐことができる。これにより、前記隙間からペットが脚を踏み外したり落ちたりしてしまうことを防ぐことができる。
【選択図】図16
特許請求の範囲
【請求項1】
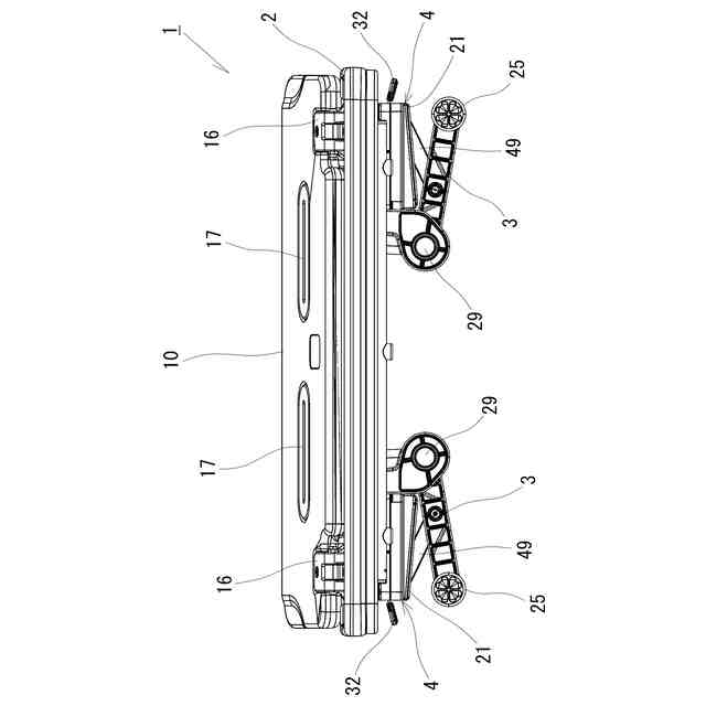
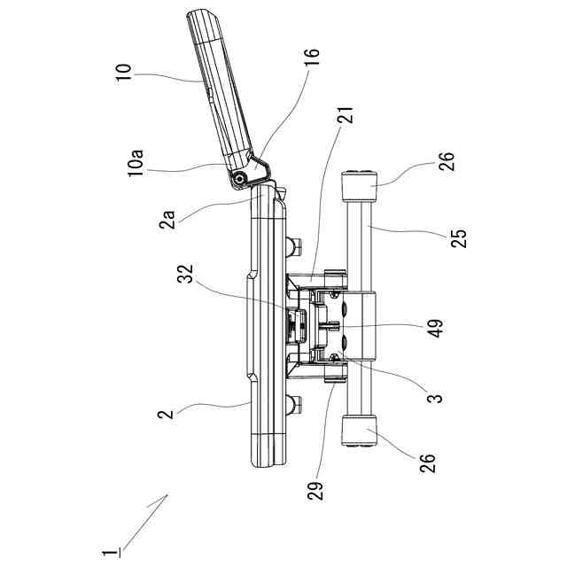
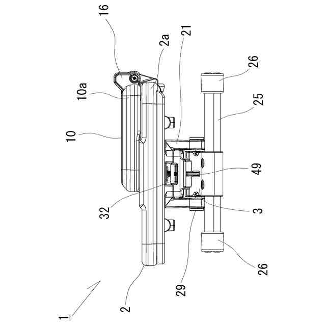
上面を作業面とする略板状の作業板部と、
前記作業板部にヒンジを介して回転可能に連結され、該作業板部に対して展開される略板状の展開板部と
を備えたものであることを特徴とする作業台。
続きを表示(約 740 文字)
【請求項2】
前記展開板部は、
前記ヒンジにより、前記作業板部の作業面に重ね合わされた折り畳み状態と、該折り畳み状態から回転された展開状態とに変換可能に設けられ、
前記ヒンジは、
前記展開状態における、前記作業板部に対する所望の角度位置で、前記展開板部を保持可能とする展開位置保持手段を備えたものであることを特徴とする請求項1に記載の作業台。
【請求項3】
前記ヒンジにより前記展開板部を前記作業板部に対して展開可能な最大展開角度が、鈍角であることを特徴とする請求項1に記載の作業台。
【請求項4】
前記作業板部に連結され、床面に載置されて該作業板部を支持する支持脚部を備えたものであることを特徴とする請求項1又は請求項2に記載の作業台。
【請求項5】
前記作業板部は、
平面視で略長方形状を成し、長手方向に沿う長辺側部または短手方向に沿う短辺側部に設けられた前記ヒンジを介して、前記展開板部が連結されたものであることを特徴とする請求項1又は請求項2に記載の作業台。
【請求項6】
前記支持脚部は、前記作業板部の長手方向に複数設けられていることを特徴とする請求項5に記載の作業台。
【請求項7】
前記作業板部は、上下方向に貫通された貫通孔が複数設けられたものであることを特徴とする請求項1又は請求項2に記載の作業台。
【請求項8】
前記作業板部が前記作業面に動物を乗載可能なものであり、該作業板部に乗載された動物の入浴、洗浄、毛身繕い、および毛の手入れの中の少なくとも一に用いられるものであることを特徴とする請求項1又は請求項2に記載の作業台。
発明の詳細な説明
【技術分野】
【0001】
本発明は、ペット等の対象物を乗載する作業板部を有する作業台に関する。
続きを表示(約 1,300 文字)
【背景技術】
【0002】
一般的に、ペットの入浴や毛身繕い等を行う際には、該ペットを乗載する作業台が用いられる。こうした作業台は、浴槽(シンク)の内部に配置して使用される場合があり、例えば特許文献1には、浴槽の内部に配置して使用される構成が提案されている。
【先行技術文献】
【特許文献】
【0003】
特開2006-158299号公報
【発明の概要】
【発明が解決しようとする課題】
【0004】
ところで、前述した作業台を浴槽の内部で使用する際にあって、浴槽には様々なサイズのものがあることから、浴槽の内部に収まるサイズの作業台が適用される。こうしたサイズの作業台では、浴槽の側壁部と該作業台の作業板部との間に隙間が生じる場合があり、この隙間が生じた場合には、該作業板部に乗載したペット等の動物が該隙間に嵌まり込んでしまったり、該隙間から落ちてしまったりする虞があった。また、ペット等に限らず、シンク等の囲いの内部に作業台を配置して、該作業台の作業板部に対象物を乗載して所定作業を行う場合にあっても、作業板部と囲いとの隙間から対象物が落下してしまう虞がある。
【0005】
本発明は、様々なサイズの浴槽やシンク等の内部で使用される場合にあっても、作業板部とシンク等の隙間から対象物が落ちてしまうことを抑制し得る作業台を提案するものである。
【課題を解決するための手段】
【0006】
本発明は、上面を作業面とする略板状の作業板部と、前記作業板部にヒンジを介して回転可能に連結され、該作業板部に対して展開される略板状の展開板部とを備えたものであることを特徴とする作業台である。
【0007】
ここで、作業板部と展開板部とは、同じ形状のものであっても良いし、異なる形状のものであっても良い。また、展開板部が、作業板部と同じ寸法形状または該作業板部に比して小さい寸法形状のものが好適である。
【0008】
前述した本発明の作業台にあって、前記展開板部は、前記ヒンジにより、前記作業板部の作業面に重ね合わされた折り畳み状態と、該折り畳み状態から回転された展開状態とに変換可能に設けられ、前記ヒンジは、前記展開状態における、前記作業板部に対する所望の角度位置で、前記展開板部を保持可能とする展開位置保持手段を備えたものである構成が提案される。
【0009】
ここで、展開位置保持手段は、展開板部を保持する角度位置を自由に定めることができる構成のものと、予め定められた角度位置を適宜選択して展開板部を保持できる構成のものとのいずれであっても良い。
【0010】
前述した本発明の作業台にあって、前記ヒンジにより前記展開板部を前記作業板部に対して展開可能な最大展開角度が、鈍角である構成が提案される。
ここで、最大展開角度は、135度以上が好ましく、さらには160度以上が好適である。
(【0011】以降は省略されています)
この特許をJ-PlatPat(特許庁公式サイト)で参照する
関連特許
アロン化成株式会社
作業台
1か月前
アロン化成株式会社
作業台
1か月前
アロン化成株式会社
作業台
1か月前
アロン化成株式会社
ヒンジおよび作業台
1か月前
アロン化成株式会社
バイタル測定機能付き身体支持具およびバイタル情報システム
2か月前
個人
産卵床
11日前
個人
釣り用錘
29日前
個人
平板植栽
12日前
個人
蠅捕獲器
1か月前
個人
草刈り鋏
1か月前
個人
蜜蜂保護装置
1か月前
個人
噴霧器ノズル
27日前
個人
果実袋
11日前
個人
草刈機用回転刃
1か月前
個人
養殖器具
11日前
個人
移動体草刈り機
11日前
個人
種子の製造方法
1か月前
個人
昆虫捕集器
1か月前
個人
水田排水量調整器具
11日前
個人
可動リップ付きルアー
1か月前
株式会社剛樹
釣り竿
25日前
井関農機株式会社
圃場作業機
1か月前
個人
ブルーカーボンシステム
1か月前
井関農機株式会社
圃場作業機
4日前
個人
餌付き針の餌取り防止具
1か月前
個人
四足動物用装着具
1か月前
株式会社ナベル
表示システム
1か月前
有限会社信英精密
括り罠
19日前
積水樹脂株式会社
シート止め具
11日前
松山株式会社
収穫機
1か月前
井関農機株式会社
作業車両
1か月前
個人
粘着板で挟むネズミ捕り装置
11日前
みのる産業株式会社
除草機
1か月前
みのる産業株式会社
除草機
1か月前
個人
網口高さのベクトル底引き網
11日前
井関農機株式会社
苗移植機
19日前
続きを見る
他の特許を見る