TOP
|
特許
|
意匠
|
商標
特許ウォッチ
Twitter
他の特許を見る
10個以上の画像は省略されています。
公開番号
2025165331
公報種別
公開特許公報(A)
公開日
2025-11-04
出願番号
2024069383
出願日
2024-04-22
発明の名称
作業台
出願人
アロン化成株式会社
代理人
個人
,
個人
,
個人
主分類
A01K
13/00 20060101AFI20251027BHJP(農業;林業;畜産;狩猟;捕獲;漁業)
要約
【課題】使い勝手に優れ、比較的長期に亘って安定して使用し得る作業台を提案する。
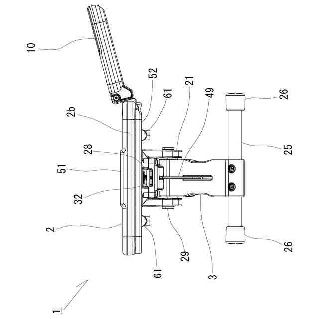
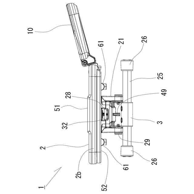
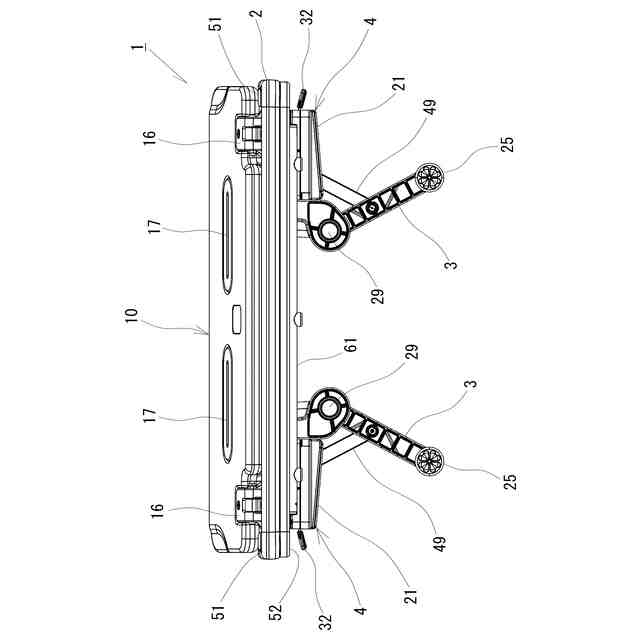
【解決手段】略長方形板状の作業板部2と、作業板部2の下面に設けられた脚設置面部に設置された支持脚部3とを備え、作業板部2の脚設置面部が設けられていない部位に貫通孔11が設けられたものであり、さらに、作業板部2の上面の左右の側部2aに上面凸部51を設けると共に、作業板部2の下面の外周縁部に下面凸部52を設けた。かかる構成は、作業板部2の側部2aの直下に配設された手動操作部32が突出する開口部28に、作業板部2の上面を左右方向へ流れる水が侵入することを、上面凸部51と下面凸部52とによって抑制できると共に、上面凸部51と下面凸部52とに指をかけることで、持ち運びし易い。
【選択図】図18
特許請求の範囲
【請求項1】
上面を作業面とする略長方形の板状を成し、下面に脚設置面部が設けられた作業板部と、
前記作業板部の脚設置面部に設置され、該作業板部を支持する支持脚部と
を備え、
前記作業板部は、
前記脚設置面部が設けられていない部位に、上下方向に貫通する貫通孔が形成されたものであることを特徴とする作業台。
続きを表示(約 1,000 文字)
【請求項2】
前記作業板部の上面に、凸状を成す上面凸部が設けられたものであることを特徴とする請求項1に記載の作業台。
【請求項3】
前記上面凸部は、前記作業板部の長手方向の側部に設けられていることを特徴とする請求項2に記載の作業台。
【請求項4】
前記作業板部の下面の外周縁部に、凸状を成す下面凸部が設けられたものであることを特徴とする請求項1又は請求項2に記載の作業台。
【請求項5】
前記下面凸部は、前記作業板部の前記外周縁部のなかの少なくとも短辺部分に設けられていることを特徴とする請求項4に記載の作業台。
【請求項6】
前記支持脚部は、前記作業板部の高さ位置を変換可能な高さ調整手段を備えたものであることを特徴とする請求項1又は請求項2に記載の作業台。
【請求項7】
前記高さ調整手段は、
手動で操作可能な手動操作部と、
前記手動操作部が操作されることにより、前記作業板部の高さ位置を変換可能な高さ位置変換状態と該高さ位置を保持する高さ位置保持状態とに変換させる位置状態変換機構と
を備えたものであることを特徴とする請求項6に記載の作業台。
【請求項8】
前記高さ調整手段の手動操作部は、前記作業板部の長手方向の側部の下方に配置され、
前記作業板部は、
前記側部の上面に凸状に設けられ、前記作業板部の上面から流下する水を該手動操作部よりも短手方向の外方へ導く上面凸部を備えたものであることを特徴とする請求項7に記載の作業台。
【請求項9】
前記高さ調整手段の手動操作部は、前記作業板部の長手方向の側部の下方に配置され、
前記作業板部は、
該作業板部の下面の外周縁部に凸状に設けられた下面凸部を備え、
前記下面凸部が、少なくとも前記手動操作部の直上部位に、前記作業板部の短手方向に沿う短辺縁部の側面をつたって流下する水を水切りする水切り部を備えたものであることを特徴とする請求項7に記載の作業台。
【請求項10】
前記作業板部が前記作業面に動物を乗載可能なものであり、該作業板部に乗載された動物の入浴、洗浄、毛身繕い、および毛の手入れの中の少なくとも一に用いられるものであることを特徴とする請求項1又は請求項2に記載の作業台。
発明の詳細な説明
【技術分野】
【0001】
本発明は、ペット等の対象物を乗載する作業板部を有する作業台に関する。
続きを表示(約 1,000 文字)
【背景技術】
【0002】
一般的に、ペットの入浴や毛身繕い等を行う際には、該ペットを乗載する作業台が用いられる。こうした作業台は、浴槽(シンク)の内部に配置して使用される場合があり、例えば特許文献1には、浴槽の内部に配置して使用される構成が提案されている。
【先行技術文献】
【特許文献】
【0003】
特開2006-158299号公報
【発明の概要】
【発明が解決しようとする課題】
【0004】
しかしながら、前述した従来の作業台には、依然として改良の余地があった。すなわち、より使い易く、比較的長期に亘って安定して使用することができる構成が望まれている。
【0005】
本発明は、使い勝手に優れ、比較的長期に亘って安定して使用し得る作業台を提案するものである。
【課題を解決するための手段】
【0006】
本発明は、上面を作業面とする略長方形の板状を成し、下面に脚設置面部が設けられた作業板部と、前記作業板部の脚設置面部に設置され、該作業板部を支持する支持脚部とを備え、前記作業板部は、前記脚設置面部が設けられていない部位に、上下方向に貫通する貫通孔が形成されたものであることを特徴とする作業台である。
【0007】
かかる構成にあっては、浴槽等の内部で使用された際に、作業板部の上面から貫通孔を介して流下する水や該水と一緒に流れる流下物(ペットの毛など)が支持脚部に掛かることを抑制できる。これにより、支持脚部の不具合の発生を抑制できると共に、衛生性を保つことができる。また、作業板部の作業面の面積を大きく確保できるという優れた利点も有する。
【0008】
前述した本発明の作業台にあって、前記作業板部の上面に、凸状を成す上面凸部が設けられたものである構成が提案される。
【0009】
かかる構成にあっては、移動させる際に、作業者が指を掛けることができるため、持ち易く、滑り止めにもなる。
【0010】
前述した本発明の作業台にあって、前記上面凸部は、前記作業板部の長手方向の側部に設けられている構成が提案される。ここで、長手方向の側部は、作業板部の上面の、長手方向における一側または両側の側部(換言すれば、作業板部の短辺側の部位)を示す。
(【0011】以降は省略されています)
この特許をJ-PlatPat(特許庁公式サイト)で参照する
関連特許
アロン化成株式会社
ヒンジおよび作業台
1か月前
個人
産卵床
10日前
個人
釣り用錘
28日前
個人
草刈り鋏
1か月前
個人
蠅捕獲器
1か月前
個人
平板植栽
11日前
個人
蜜蜂保護装置
1か月前
個人
果実袋
10日前
個人
噴霧器ノズル
26日前
個人
種子の製造方法
1か月前
個人
草刈機用回転刃
1か月前
個人
養殖器具
10日前
個人
移動体草刈り機
10日前
個人
昆虫捕集器
1か月前
個人
水田排水量調整器具
10日前
株式会社剛樹
釣り竿
24日前
個人
可動リップ付きルアー
1か月前
個人
ブルーカーボンシステム
1か月前
株式会社ナベル
表示システム
1か月前
個人
餌付き針の餌取り防止具
1か月前
井関農機株式会社
圃場作業機
3日前
井関農機株式会社
圃場作業機
1か月前
個人
四足動物用装着具
1か月前
有限会社信英精密
括り罠
18日前
積水樹脂株式会社
シート止め具
10日前
みのる産業株式会社
除草機
1か月前
松山株式会社
収穫機
1か月前
個人
粘着板で挟むネズミ捕り装置
10日前
みのる産業株式会社
除草機
1か月前
株式会社オーツボ
海苔箱船
1か月前
個人
網口高さのベクトル底引き網
10日前
井関農機株式会社
作業車両
1か月前
松山株式会社
収穫機
1か月前
井関農機株式会社
苗移植機
18日前
株式会社サワエ
害虫捕獲器
3日前
井関農機株式会社
作業車両
1か月前
続きを見る
他の特許を見る